Рис. 59
КНОПКА «ВНИЗ» (SB2 рис. 59)
Кнопка типа «оператор присутствует», напряжение 24 В. При нажатии включает магниты замков безопасности и электроклапана спуска на гидравлической станции.
КНОПКА «ОСТАНОВ» (SB3 рис. 59)
Кнопка типа «оператор присутствует», напряжение 24 В. При нажатии включает электроклапан спуска на гидравлической подстанции и останавливает платформы.
ПОДЪЕМ
Установите главный выключатель (QS) в ПОЛОЖЕНИЕ «1» и нажимайте КНОПКУ «Вверх», пока платформа не достигнет желаемой высоты.
В течение подъема, отжимной рычаг замка безопасности остается в положении "отдыха" так, чтобы замок автоматически западал в каждый паз линейки безопасности.
ОСТАНОВКА
Когда транспортное средство остановлено в поднятом положении, груз никогда не должен поддерживаться тросами подъемника, груз должен удерживаться замками в пазах на линейках безопасности.
Когда Вы достигаете желательной высоты, нажимайте кнопку «Останов» (SB3). Платформа начнет двигаться вниз. Движение будет остановлено автоматически как только замки безопасности войдут в ближайшие пазы линеек безопасности.
ОПУСКАНИЕ
Нажимайте кнопку «Вниз» (SB2), при этом автоматически расцепляются замки безопасности и активизируется электроклапан, подъемник опускается. Опускание останавливается микровыключателем. Чтобы завершить опускание, нужно отпустить кнопку (SB2) и нажать кнопку (SB3). Во время последней стадии опускания зазвучит звуковая сирена для предтвращения травмы ног.
Если платформа сталкивается с преградой в течение ее понижения, датчики тросов реагируют на провисание троса и останавливают движение.
В этой ситуации подъемник можно включить только на подъем, транспортное средство обеспечивается контролем замков безопасности вкупе с датчиком провисания тросов
ГЛАВА 6 ТЕХНИЧЕСКОЕ ОБСЛУЖИВАНИЕ
ВНИМАНИЕ: Техобслуживание должно выполняться только квалифицированным специалистом, который хорошо знаком с данным оборудованием.
|

Рис. 60
Учитывайте:
· основные возможные риски;
· правила техники безопасности, изложенные в главе 3.
РИСК ПОРАЖЕНИЯ ТОКОМ
от зажимной коробки питания подъемника.
ЗАПРЕЩАЕТСЯ ПРОВОДИТЬ ТЕХОБСЛУЖИВАНИЕ И СМАЗКУ ДВИЖУЩИХСЯ УЗЛОВ И ДЕТАЛЕЙ. ПОСЛЕ КАЖДОГО ТЕХОБСЛУЖИВАНИЯ НЕОБХОДИМО УСТАНОВИТЬ ОБРАТНО И ВКЛЮЧИТЬ ЗАЩИТНЫЕ УСТРОЙСТВА, СНЯТЫЕ ДЛЯ УДОБСТВА РАБОТЫ.
Для хорошего техобслуживания важно:
· пользоваться только запчастями производителя и инструментами в рабочем состоянии;
· соблюдать рекомендуемую в настоящем руководстве частоту проведения техобслуживания; периодичность указана как максимально возможная;
· при проведении техобслуживания не отвлекаться от выполняемой работы и следить за подъемником, своевременно выявлять причину возможных аномалий, излишних шумов, перегревов, просачивания жидкостей и т. д.
Особенное внимание следует уделять:
· состоянию подвесных элементов (тросов, цилиндра, подстанции);
· устройствам безопасности (микровыключатели, замки безопасности).
Для правильного выполнения техобслуживания следует пользоваться следующими документами, поставляемыми производителем оборудования:
· функциональная электросхема с указанием вспомогательного оборудования и мест подключения питания;
· гидравлическая схема с описанием компонентов и значениями давления калибровки;
· чертежи с необходимой информацией для заказа запчастей;
· список возможных неисправностей с рекомендациями по их устранению (глава 7 настоящего руководства).
ПЕРИОДИЧЕСКОЕ ОБСЛУЖИВАНИЕ
Для поддержания подъемника в хорошем состоянии необходимо придерживаться указанной периодичности техобслуживания.
Несоблюдение нижеуказанных периодов освобождает производителя от всякой гарантийных обязательств.
ПРИМЕЧАНИЕ:
Указанная периодичность относится к нормальным рабочим условиям. В тяжелых условиях работы необходима другая периодичность.
ВСЕ ОПЕРАЦИИ ПО ТЕХОБСЛУЖИВАНИЮ ДОЛЖНЫ ПРОВОДИТЬСЯ ТОЛЬКО С ВЫКЛЮЧЕННЫМ ПОДЪЕМНИКОМ И ГЛАВНЫМ ВЫКЛЮЧАТЕЛЕМ, ЗАПЕРТЫМ НА КЛЮЧ.
ЕЖЕМЕСЯЧНО
1 – ГИДРАВЛИЧЕСКАЯ СТАНЦИЯ
· Проверяйте уровень масла при помощи щупа, прикрепленного к крышке. Если нужно, долейте масло через ту же крышку до необходимого уровня. Вид масла – см. «Технические характеристики».
· после первых 40 часов работы проверьте степень загрязнения фильтра и чистоту масла. (Проведите чистку фильтра и замену масла в случае высокой степени загрязненности масла.)
2 – ГИДРАВЛИЧЕСКАЯ СЕТЬ
· Проверяйте, чтобы в сети между станцией и цилиндром и в самом цилиндре не было утечек масла. В противном случае проверьте целостность прокладок и, в случае необходимости, замените их.
КАЖДЫЕ 3 МЕСЯЦА
1 – АНКЕРНЫЕ БОЛТЫ
· Проверьте затяжку болтов опорных пластин при помощи динамометрического ключа.
2 – ПОДЪЕМНЫЕ ТРОСЫ
· Проверяйте затяжку гаек крепления тросов. В случае необходимости проверьте уровень платформы и регулируйте тросы.
· Проверяйте состояние шкивов и пазов.
· Смажьте кистью тросы, чтобы они не повредились от окисления. Тип масла: BRILUBE 30 или его аналог. Данное масло необходимо забирать из запечатанных упаковок, хранящихся в соответствующих и подходящих условиях. Использование старого или некондиционного масла может вызвать повреждение тросов.
· Проверяйте износ тросов, проверяя их диаметр и возможные возникающие повреждения нитей, а также другие изменения и неисправности.
ВНИМАНИЕ: ТРОС – ЭЛЕМЕНТ, СЛУЖАЩИЙ ДЛЯ ПОДЪЕМА И КАК СРЕДСТВО БЕЗОПАСНОСТИ. В случае сомнений или необходимости замены тросов, ОБРАЩАЙТЕСЬ В ТЕХСЛУЖБУ ПРОИЗВОДИТЕЛЯ.
3 – ГИДРАВЛИЧЕСКИЙ НАСОС
· В рабочем состоянии проверяйте, чтобы не было изменения в характере рабочего шума в насосе станции, и затяжку крепежных винтов.
4 – СИСТЕМА БЕЗОПАСНОСТИ
· Проверяйте эффективность и рабочее состояние защитных устройств, степень износа замков и линеек безопасности. Смазывайте оси замков. В случае избыточного износа замените замки и/или оси.
5 – ПОВЕРХНОСТИ СКОЛЬЖЕНИЯ ТРАВЕРС
· Поддерживайте тонкий масляный слой для облегчения скольжения подвижной платформы.
КАЖДЫЕ 6 МЕСЯЦЕВ
1 – МАСЛО
· Проверяйте степень загрязненности и старения масла. Грязное масло – основная причина возможных неисправностей клапанов и недолговечности зубчатых насосов.
КАЖДЫЕ 12 МЕСЯЦЕВ
1 – ОБЩИЙ ОСМОТР
· Визуальный контроль всех компонентов и механизмов на предмет отсутствия возможных неисправностей.
2 – ЭЛЕКТРООБОРУДОВАНИЕ
· Запросите специалистов по электрооборудованию (в случае необходимости направьте соответствующих запрос в техслужбу) провести осмотр электрооборудования, включая двигатель станции, кабели, концевые выключатели, щит управления.
3 – ГИДРАВЛИЧЕСКОЕ МАСЛО
Проведите замену масла, действуя следующим образом:
· опустите подъемник до минимального уровня (земля);
· отключите питание от подъемника;
· слейте масло из гидравлической сети, отвинтив крышку в нижней части бачка станции;
· закройте крышку слива;
· наполните станцию, заливая масло через крышку в верхней части бачка станции;
· масло должно быть фильтрованным;
· характеристики и виды масел – см. технические характеристики (глава 2);
· закройте крышку залива;
· подайте ток на подъемник;
· произведите 2-3 подъема-спуска (высота 20-30 см) для подачи масла в сеть.
При замене масла используйте только рекомендованные виды или их аналоги. Никогда не заливайте старое или долго хранившееся масло.
Утилизация использованного масла – см.
ГЛАВА 7 ПОИСК НЕИСПРАВНОСТЕЙ
При выявлении неисправностей и их устранении соблюдайте правила техники безопасности, приведенные в главе 6 «Техобслуживание» и в главе 3 «Техника безопасности».
Неисправность | Возможная причина | Способ устранения | |
Подъемник не поднимается при нажатии кнопки | Сгорел плавкий предохранитель | Замените предохранитель |
|
Недостаток масла | Долейте масла |
| |
Утечки в гидравлической линии | Проверьте линию |
| |
Перегрузка моста | Снимите избыточный груз |
| |
Не работает микровыключатель | Замените (запросите техслужбу) |
| |
Поломка в электрооборудовании | Запросите техслужбу |
| |
Подъемник не опускается | Посторонний предмет | Удалите предмет |
|
Заблокирован электроклапан | Замените электроклапан (запросите техслужбу) |
| |
Поломка в электрооборудовании | Запросите техслужбу |
| |
Подъемник не поднимает до максимального уровня | Недостаток масла | Долейте масла |
|
Перегрев двигателя подстанции | Поломка двигателя | Запросите техслужбу |
|
Скачки в напряжении | Проверьте напряжение |
| |
Износ зубчатого насоса (избыточный шум при работе) | Загрязнилось масло | Замените масло |
|
Неправильный монтаж | Запросите техслужбу |
| |
Утечка масла из гидравлического цилиндра | Повредились уплотнения | Замените поврежденные уплотнения |
|
СПЕЦИАЛЬНАЯ информация
Утилизация использованного масла
Использованное масло, которые сливается из гидравлической станции при замене масла, считается загрязняющим окружающую среду продуктом и должно утилизироваться в соответствие с законодательством страны, где установлен подъемник.
Демонтаж подъемника
При снятии подъемника с эксплуатации соблюдайте технику безопасности, см. глава 3.
Демонтаж подъемника должен осуществляться квалифицированным персоналом, как и монтаж. Использованное масло следует утилизировать согласно указаниям, изложенным в
Металлические детали могут быть утилизированы в металлолом. В любом случае, после демонтажа весь материал должен быть утилизирован в соответствие с действующими нормами страны, в которой установлен подъемник.
Напоминаем, что для налоговых органов необходимо документально оформить процедуру снятия подъемника с эксплуатации в соответствие с действующим законодательством на момент фактического демонтажа оборудования.
ПРИЛОЖЕНИЕ Б. ЗАПЧАСТИ
Запчасти
При замене элементов и ремонте подъемника необходимо соблюдать технику безопасности, описанную в главе 6 «Техническое обслуживание» и главе 3 «Техника безопасности».
Делайте все возможное, чтобы при работе подъемник внезапно не включился:
· выключатель на электрощите подъемника должен быть заперт на ключ в положении «0»;
· ключ от замка должен находиться у специалиста, выполняющего работу по подъемнику, в течение всего периода выполнения работы.
Заказ запчастей
При заказе запчастей:
· укажите номер техпаспорта подъемника и год производства;
· укажите код запчасти (см. таблицу в колонке «код»). Если на месте последних двух знаков стоят два «Х» (например, В5014ХХ), то это означает, что данная запчасть может быть окрашена в различный цвет. Для уточнения кода вместо ХХ поставьте соответствующий код цвета в соответствии с нижеприводимой табличкой;
· укажите количество заказываемых запчастей.
Заказ направляйте официальному дилеру, указанному на титульном листе.
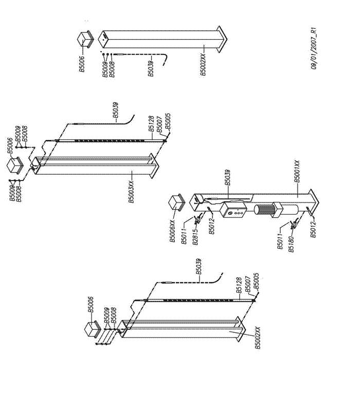
СТОЙКИ
![]() |
ТРАВЕРСЫ

ПЛАТФОРМЫ
![]() |
ЦИЛИНДР

ЗАЩИТА НОГ

НАСОСНАЯ СТАНЦИЯ К3

ТРЕХФАЗНЫЙ ЭЛЕКТРОЩИТ
![]() |
CODE | DESCRIPTION | НАИМЕНОВАНИЕ |
A0183 | NUT M10 UNI 5588 | ГАЙКА М10 |
A0184 | SCREW TE M6X16 UNI 5739 | ВИНТ M6X16 |
A0185 | SNAP RING E18 UNI 7435 | СТОПОРНОЕ КОЛЬЦО E18 |
A0328 | L - SHAPED COUPLING 1/4" M FOR PIPE Ø 8 | УГОЛЬНИК 1/4" M ДЛЯ ШЛАНГА Ø 8 |
A0346 | WASHER 12 X 24 | ШАЙБА 12 X 24 |
A0400 | SNAP RING E20 UNI 7435 | СТОПОРНОЕ КОЛЬЦО E20 |
A0444 | SEEGER E25 UNI 7435 | СТОПОРНОЕ КОЛЬЦО E25 |
A0723 | SCREW TCEI M8X20 UNI 5931 | ВИНТ M8X20 |
A0900 | COUNTERSUNK FLAT SOCKET SCREW M6 X 18 UNI 5933 | ВИНТ С ПОТАЙНОЙ ГОЛОВКОЙ M6 X 18 |
B0030 | SCREW TE M8X16 UNI 5739 | ВИНТ M8X16 |
B2158 | CONTACTOR TELEMECANIQUE LC1K0901B7 24V 50/60Hz | КОНТАКТОР LC1K0901B7 24V 50/60Hz |
B2815 | ASCENT LI MIT SWITCH TYPE PIZZATO FR654 | КОНЦЕВОЙ ВЫКЛЮЧАТЕЛЬ ТИПА PIZZATO FR654 |
B2843 | SAFETY SWITCH TYPE PIZZATO FR1454 | ВЫКЛЮЧАТЕЛЬ БЕЗОПАСНОСТИ ТИПА PIZZATO FR1454 |
B2846 | PULLEY Ø50 X ROPE SENSOR | ШКИВ ДАТЧИКА ТРОСА Ø50 |
B5001XX | POST 1: CONTROL | СТОЙКА 1 КОМАНДНАЯ |
B5002XX | POST 2 - 4 | СТОЙКА 2 - 4 |
B5003XX | POST 3 | СТОЙКА 3 |
B5005 | SCREW TE M10 X 25 | ВИНТ M10 X 25 |
B5006 | PLASTIC COVER | ПЛАСТМАССОВАЯ КРЫШКА |
B5007 | WASHER 10 X 30 UNI 6593 | ШАЙБА 10 X 30 |
B5008 | WASHER Ø21X37X3 UNI 6592 | ШАЙБА Ø21X37X3 |
B5009 | NUT M20 UNI 5588 | ГАЙКА М20 |
B5011 | SCREW M5X35 UNI 5931 | ВИНТ М5Х35 |
B5012 | BLANK NUT M5 UNI 5721 | ГАЙКА М5 |
B5017 | COMPLETE CYLINDER | ЦИЛИНДР В СБОРЕ |
B5018 | H. H. SCREW M12 X 100 UNI 5737 | ВИНТ М12Х100 |
B5019 | COMMAND SIDE CROSS PIN | |
B5020 | SCREW TE M12X25 UNI 5739 | ВИНТ М12Х25 |
B5021 | WAS HER OD Ø12 DIN 6798 A | ШАЙБА Ø12 |
B5023 | OPPOSITE SIDE CROSS PIN | |
B5025 | FOOT PROTECTION DX | ЗАЩИТА НОГ |
B5026 | SPACER | ПРОСТАВКА |
B5027 | BUSHING Ø 40 X 44 X 20 MBI - CB8 | ВТУЛКА |
B5028 | BUSHING Ø 40 X 44 X 30 MBI - CB8 | ВТУЛКА |
B5029 | SPACER | ПРОСТАВКА |
B5031 | 1- RACE PULLEY Ø 230 X 25 | ШКИВ |
B5032 | 2- RACE PULLEY Ø 230 X 31 | ШКИВ |
B5033 | PIN STOPPING PLATE | СТОПОРНАЯ ПЛАСТИНА ОСИ |
B5034 | SCREW TSPEI UNI 5933 | ВИНТ M8X12 |
B5035 | MAGNET TIE ROD | ТЯГА МАГНИТА |
B5036 | FOOT PROTECTION SX | ЗАЩИТА НОГ |
B5039 | ROPE | ТРОС |
B5041 | RIGHT PIN BOLT | ПРАВАЯ ШПИЛЬКА |
B5043 | CYLINDER | ЦИЛИНДР |
B5044 | NUT M22 X 1.5UNI 5588 | ГАЙКА M22 X 1.5 |
B5045 | CYLINDER GASKET KIT | КОМПЛЕКТ УПЛОТНЕНИЙ ЦИЛИНДРА |
B5046 | PISTON | ПОРШЕНЬ |
B5047 | GASKET WITH 1/4" SEAL | УПЛОТНЕНИЕ С 1/4" МАНЖЕТОЙ |
B5048 | ROD | ШТОК |
В5049 | EXTENSION | УДЛИНИТЕЛЬ |
В5050 | CYLINDER HEAD | ОГОЛОВОК ЦИЛИНДРА |
В5051 | BEAM | БАЛКА |
В5053 | SCREW 1/4 | ВИНТ 1/4 |
В5055 | CLAMP | ЗАЖИМ |
В5056 | CYLINDER SUPPORT | ОПОРА ЦИЛИНДРА |
В5057 | 1-RACE PULLEY 230X40+BUSHING | ШКИВ + ВТУЛКА |
В5059 | SPACER 040X9 | ПРОСТАВКА |
В5060 | SPACER 040X27 | ПРОСТАВКА |
В5061 | LIMIT SWITCH ACTUATOR | ПРИВОД КОНЦЕВОГО ВЫКЛЮЧАТЕЛЯ |
В5062 | CYLINDER SAFETY VALVE ASSEMBLY | ПРЕДОХРАНИТЕЛЬНЫЙ КЛАПАН ЦИЛИНДРА В СБОРЕ |
В5063 | LEFT PIN BOLT | ЛЕВАЯ ШПИЛЬКА |
В5068 | SAFETY PIN 016X101 | ОСЬ БЕЗОПАСНОСТИ |
В5069 | SAFETY ROD PIN | ОСЬ СТЕРЖНЯ БЕЗОПАСНОСТИ |
В5070 | PIN 020X101 | ОСЬ |
В5071 | CROSSPIECE PULLEY PIN 040X104 | ОСЬ ШКИВА ТРАВЕРСЫ |
В5073 | OPERATOR SIDE CROSSPIECE FOOT PROTECTION | ЗАЩИТА НОГ |
В5074 | NUT M5 UNI 5588 | ГАЙКА М5 |
В5075 | SIDE SLIDING PAD 035X10 | БОКОВОЙ ПОЛЗУН |
В5076 | REAR SHOE 035X17 | ЗАДНЯЯ КОЛОДКА |
В5078 | CROSSPIECE SIDE FOOT PROTECTION | ЗАЩИТА НОГ |
В5079 | CROSSPIECES FOOT PROTECTION KIT | КОМПЛЕКТ ЗАЩИТЫ НОГ |
В5080 | ROPE-FEELER TIE ROD | |
В5085 | SELFLOCKING NUT M6 | САМОКОНТРЯЩАЯСЯ ГАЙКА МХ6 |
В5087 | WEDGE RETURN BOTTOM SPRING | ВОЗВРАТНАЯ ПРУЖИНА |
В5088 | NUT M8 UNI 7474 | ГАЙКА МХ8 |
В5089ХХ | LC. CROSSBEAM | ТРАВЕРСА |
В5098ХХ | L. O CROSSBEAM | ТРАВЕРСА |
В5108 | CABLE CLAMP 02.5 MM | ЗАЖИМ ТРОСА |
В5109(B5983) | ELECTROMAGNET"WARNER"TT1024VAC | ЭЛЕКТРОМАГНИТ |
В5113 | CONTROL SIDE CROSSPIECE 4-POLETERMINAL BOARD | КЛЕММНАЯ КОРОБКА |
В5116 | BENT TIE ROD | |
В5117 | RIGHT ROPE - FEELER SENSOR | ПРИВОД ПРАВОГО СЕНСОРА |
В5119 | LEFT ROPE - FEELER SENSOR | ПРИВОД ЛЕВОГО СЕНСОРА |
В5120 | OPERATOR SIDE CROSSPIECE CONNECTOR BLOCK | КРЫШКА КЛЕММНОЙ КОРОБКИ |
В5122 | CONTROL SIDE CROSSPIECE 2-POLETERMINAL BOARD | КЛЕММНАЯ КОРОБКА |
В5124 | RIGHT AUXILIARY WEDGE | ПРИВОД ПРАВОГО ЗАМКА |
В5125 | LEFTA UXILIARY WEDGE | ПРИВОД ЛЕВОГО ЗАМКА |
В5126ХХ | MAGNET PROTECTION CRANK CASE | КРЫШКА |
В5127ХХ | WHEEL STOP | ТОРМОЗ КОЛЕСА |
В5128 | SAFETY ROD (ELECTRICAL UNLOCKING) | |
В5137ХХ | COMMAND SIDE PLATFORM FOR FRONT ALIGNMENT | |
В5138ХХ | OPPOSITE SIDE PLATFORM FOR FRONT ALIGNMENT | |
В5154 | ZINC-PLATED COTTER PIN 03X40 | ОСЬ |
В5157 | THREE-PHASE COMPLETE CONTROL PANEL 400V | ТРЕХФАЗНЫЙ ЭЛЕКТРОЩИТ 400V |
В5170ХХ | LIFT RAMP | ЗАЕЗД |
В5171 | HINGE PIN | ВЕРХНЯЯ ОСЬ |
В5187 | COMPLETE OSCILLATING PLATE | СДВИЖНАЯ ПЛОЩАДКА В СБОРЕ |
В5190 | SPHERE | ШАРИК |
В5270ХХ | COMMAND SIDE PLATFORM WITHOUT RECESS | ПЛАТФОРМА КОМАНДНОЙ СТОРОНЫ БЕЗ ВЫЕМОК |
В5271ХХ | OPPOSITE SIDE PLATFORM WITHOUT RECESS | ПЛАТФОРМА СВОБОДНОЙ СТОРОНЫ БЕЗ ВЫЕМОК |
В5272ХХ | COMMAND SIDE PLATFORM FOR TOTAL ALIGNMENT | ПЛАТФОРМА КОМАНДНОЙ СТОРОНЫ ДЛЯ ПОЛНОГО ОСНАЩЕНИЯ |
В5273ХХ | OPPOSITE SIDE PLATFORM FOR TOTAL ALIGNMENT | ПЛАТФОРМА СВОБОДНОЙ СТОРОНЫ ДЛЯ ПОЛНОГО ОСНАЩЕНИЯ |
В5274 | LOWER PLATE | НИЖНЯЯ ПЛАСТИНА |
В5275 | UPPER PLATE | ВЕРХНЯЯ ПЛАСТИНА |
В5286 | OIL DELIVERY HOSE | ШЛАНГ ПОДАЧИ МАСЛА |
В5318 | PIN L=92 | ОСЬ |
В5319 | PIN L=121 | ОСЬ |
В5386 | VALVE | КЛАПАН |
В5395 | TANK FASTENING KIT | БАК В СБОРЕ |
В5414 | WEDGE RETURN TOP SPRING | ПРУЖИНА |
В5418 | COIL | СОЛЕНОИД |
В5419 | PLUG | ЗАГЛУШКА |
В5425 | AIR FILTER | ФИЛЬТР |
В5428 | WASHER | ШАЙБА |
В5429 | PLUG | ЗАГЛУШКА |
В5431 | DRAIN PIPE | СЛИВНАЯ ТРУБА |
В5432 | SUCTION PIPE | ТРУБА ВСАСЫВАНИЯ |
В5433 | TANK | БАК |
В5434 | PLUG | ЗАГЛУШКА |
В5435 | VALVE | КЛАПАН |
В5436 | PUMP | НАСОС |
В5437 | SCREW | ВИНТ |
В5441 | CHECK VALVE | ОБРАТНЫЙ КЛАПАН |
В5442 | MAX. PRESSURE VALVE15 80-250BAR | ПРЕДОХРАНИТЕЛЬНЫЙ КЛАПАН |
В5453 | COMPLETE ELECTRO-VALVE HYDRAULIC POWER КЗ | ЭЛЕКТРОКЛАПАН В СБОРЕ ДЛЯ К3 |
В5455 | RAMP ROLLER | РОЛИК ЗАЕЗДА |
В5484 | CARTER DX | КРЫШКА DX |
В5485 | CROSSPIECE CRANK CASE | КРЫШКА |
В5491 | CONNECTING PUMP КЗ | СОЕДИНИТЕЛЬ НАСОСА КЗ |
В5654 | BLACK PUSH-BUTTON + 1 N. O CONTACT | ЧЕРНАЯ КНОПКА + 1 НО КОНТАКТ |
В5656 | GREY PUSH-BUTTON + 1 N. O. CONTACT | ЗЕЛЕНАЯ КНОПКА + 1 НО КОНТАКТ |
В5659 | FUSE 10X38 2AaM | |
В5662 | FUSE 10X38 4A gG | ПРЕДОХРАНИТЕЛЬ |
В5666 | CONTACTOR TELEMECANIQUE LC1D12+LA1DN11 | КОНТАКТОР |
В5671 | MAIN SWITCH | ГЛАВНЫЙ ВЫКЛЮЧАТЕЛЬ |
В6021 | SUPPORT BRACKER KIT | КРОНШТЕЙН НАСОСНОЙ СТАНЦИИ |
В6070 | GEARCASE | НАСОС + БАК |
В6511 | FUSE CARRIER 10X38 Wl MEXPCH10X38 | ДЕРЖАТЕЛЬ ПРЕДОХРАНИТЕЛЯ |
В6513 | CABLE CLAMP GEWISS PG9 | КЛЕММЫ |
В6514 | CABLE CLAMP GE WISS PG11 | КЛЕММЫ |
В6516 | MAGNET SWITCH 20A TYPE C | МАГНИТНЫЙ ВЫКЛЮЧАТЕЛЬ |
В6519 | BOX | КОРОБ |
В6520 | SHEATH HOLDER GE WISS 016MM | КАБЕЛЬНЫЙ ВВОД |
В6521 | SHEATH 016MMDI FLEX | КАБЕЛЬНЫЙ ВВОД |
В6522 | TERMINAL SPRECHER VlW^t | ТЕРМИНАЛ |
В6586 | TRANSFORMER 23CM00/24V 300VA 50/60Hz | ТРАНСФОРМАТОР |
В6590 | MOTOR 3PHASE 230/400V 50HZ 2.2KW-K3 | ЭЛЕКТРОДВИГАТЕЛЬ |
С0043 | SCREW ТЕ М6Х10 UNI 5739 | ВИНТ М6Х10 |
С0061 | SCREW ТЕ М8Х10 UNI 5739 | ВИНТ М8Х10 |
С0062 | WAS HER 010,5X21 | ШАЙБА 010,5X21 |
С0099 | SCREW M6X20-8.8 | ВИНТ М6Х20 |
С0100 | WAS HER 08,4X17 UNI 6592 | ШАЙБА 08,4X17 |
С0339 | RILSAN HOSE D8X6 | РИЛЬСАНОВЫЙ ШЛАНГ 8X6 |
С0617 | WAS HER 06,4X12,5 UNI 6592 | ШАЙБА 06,4X12,5 |
R0153 | HH SCREW M8X25 UNI 5739 | ВИНТ M8X25 |
R2497 | RETAINING RINGE 16UNI7435 | СТОПОРНОЕ КОЛЬЦО 16 |
Т968 | FRONT PLATE | ПЕРЕДНЯЯ ПЛАСТИНА |
|
Из за большого объема этот материал размещен на нескольких страницах:
1 2 3 |






