ts - средняя температура воды в трубах, °С;
tz/tp - температура подаваемой воды и возвращаемой из спирали, °С;
b - шаг спирали, м;
tf - температура поверхности пола °С;
g, - тепловая эффективность пола, Вт/м²;
ti - температура воздуха в помещении, °С.
Правила пользования таблицами
В таблицах представлена эффективность подпольного нагревателя в зависимости от средней температуры воды, шага труб и половых покрытий (каждая таблица для разного типа полового покрытия).
Дополнительно дана температура поверхности пола.
Расчет параметров теплого пола
По затратам тепла помещения Q [Вт], и площади пола F [м2], можно определить требуемый поток тепла g [Вт/м2] согласно зависимости:
g=Q/F [Вт/м2].
В таблице для соответствующего типа покрытия, средней температуры воды в спирали, и температуры воздуха в помещении необходимо выбрать шаг труб b [м], для которого эффективность тепла близка к вычисленной по вышеприведенной зависимости.
Необходимо вычислить температуру поверхности пола.
Она не должна превышать допустимую температуру, которую необходимо принять следующей:
- жилое помещение - 29 °С;
- помещения временного пребывания людей (ванны, и т. п.) -33 °С;
- участки помещения вне непосредственно занимаемой зоны -35 °С.
Масса потока воды m, кг/с, для рассчитанной спирали определяется по формуле
. (1)
Для рассчитанной таким образом массы потока воды можно из таблицы 4 определить удельную потерю давления R [Па/м].
Потери давления в спирали Р, Па, определяются по формуле:
Р= Lw·R (2)
при этом длину спирали Lw, м, определяется по формуле
Lw=F/b, (3)
где b - рассчитанный шаг спирали, м;
F - площадь пола, м2.
В случае превышения допустимой температуры пола необходимо выбрать более низкую среднюю температуру теплоносителя.
Площадь пола F необходимо заполнить спиралью с шагом b.
Таблица 4
Потери давления в спирали подпольного отопления
|
V, м/с |
Труба 18x2 | |
|
G, кг/ч |
Па/м | |
|
0.10 |
54.72 |
19 |
|
0.15 |
82.02 |
38 |
|
0.20 |
109.44 |
64 |
|
0.25 |
136.80 |
94 |
|
0.30 |
164.16 |
130 |
|
0.35 |
191.52 |
170 |
|
0.40 |
218.88 |
214 |
|
0.45 |
246.24 |
263 |
|
0.50 |
273.60 |
317 |
|
0.55 |
300.96 |
373 |
|
0.60 |
328.32 |
436 |
|
0.65 |
355.68 |
500 |
|
0.70 |
383.04 |
570 |
|
0.75 |
408.96 |
642 |
|
0.80 |
437.76 |
720 |
|
0.85 |
464.40 |
800 |
|
0.90 |
489.60 |
884 |
|
0.95 |
518.40 |
972 |
|
1.00 |
547.20 |
1064 |
Пример
Дано: теплопотери помещения Q = 1200 Вт;
расчетная температура t = 20 °С;
площадь пола F = 20 м2;
покрытие - ковер Rw = 0,1 м2К/Вт.
g = 1200/20 = 60 Вт/м².
Выберем ts = 45 °С, следовательно tz/tp = 50/40 °С.
Из таблицы для коврового покрытия Rw=0,1 м²K/Вт по величине
g= 60 Вт/м2 получим шаг b = 0,25 м и tr = 25,3 °С.
Температура пола не превышает допустимую температуру 29°С.
Длина спирали: L = 20/0,25=80 м
Поток теплоносителя через спираль:
Из табл. 4 для трубы 18x2 выберем:
R=70 Па/м, V=0,21 м/с
Потери давления в спирали:
р = 80x70 = 5600 Па
Помещение 20 м2 необходимо заполнить спиралью с шагом 0,25 м.
Инструкция по раскладке труб подпольного отопления
![]() |
Рис.1. Разложить вдоль стены ленту изоляционную ленту
![]() |
Рис. 2. Разложить утеплитель с алюминиевой фольгой сверху
![]() |
Рис.3. Подающую трубу соединить с распределителем, уложить с требуемой
плотностью, а крепящие крюки забить в соответствующих местах
![]() |
Рис. 4. Обратную трубу укладывать "с поворотом" между витками подающей
трубы
![]() |
Рис. 5. Перед заливкой бетоном провести испытание на герметичность под давлением 6 бар в течение 24 часов
Примеры раскладки труб подпольного отопления
![]() | ![]() |
Рис. 1 Рис. 2
![]() | ![]() |
Рис. 3 Рис. 4
![]() |
Автоматика «теплого пола»
Рис. 1
Представлено устройство с погодным (климатическим) регулятором. Четырехконцевой смесительный клапан управляется посредством наружного регулятора температуры воздуха. В этом способе поддерживается соответствующий уровень температуры воды, поступающей в спираль подпольного отопления.
Дополнительно можно присоединить датчик температуры внутри помещения.
В простых устройствах можно использовать развязки с термостатами на постоянные величины температуры.

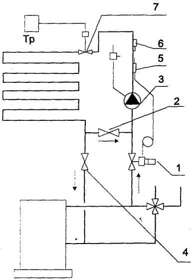
Рис.2:
1 - клапан регулируемый термостатический;
2 - клапан регулируемый обходной;
3 – насос;
4 - клапан перекрывающий (дросселирующий);
5 - датчик температуры;
6 - ограничитель температуры;
7 - клапан, управляемый термостатом из помещения
Рассмотренные устройства реализуют так называемое центральное качественное регулирование, т. е. регулирование воды проходящей по всей системе.
Предварительная регулировка спиралей
Предварительное регулирование спиралей заключается в выравнивании гидравлических сопротивлений потоков всех спиралей, питающихся из общего распределителя, с целью обеспечения равномерного распределения теплоносителя в каждой отдельной спирали.
Реализуется оно посредством установки соответствующих значений на регулируемых вентилях, размещенных на обратном распределителе в соответствии с характеристиками представленными производителем.
![]() |
Кроме того, распределители должны быть снабжены автоматическими или ручными "воздуховыпускными клапанами и спускным вентилем.
Рис.3. Примерная конструкция распределителя для подпольного отопления.
1 - распределитель подающий;
2 - распределитель обратный.
Распределители размещаются в шкафчиках встраиваемых или настенных, что улучшает эстетику оборудования и обеспечивает защиту от несанкционированного доступа.
II. ЭЛЕКТРИЧЕСКИЙ ТЕПЛЫЙ ПОЛ

Рис.1
В состав системы «электрический теплый пол» входят:
· нагревательная секция;
· аппаратура управления (термостат с датчиком температуры), который контролирует температуру пола в диапазоне от +10 до +35°C ±1 градус. Столь точное соблюдение теплового режима позволяет не только долгое время поддерживать в помещении постоянную температуру, но и существенно экономить электроэнергию;
· аксессуары для облегчения и ускорения монтажа (монтажная лента, гофрированная пластиковая трубка и т. д.);
· теплоизоляция. Типичная конструкция «теплого пола» представлена на рис. 1.
Технология устройства теплого пола
В системах «теплый пол» рекомендуется устанавливать УЗО — устройства защитного отключения, контролирующие сохранность изоляции кабеля. Для защиты от скачков напряжения рекомендуется устанавливать стабилизатор.
Особенность монтажа: «теплые полы» устанавливаются, как правило, на «чистую» площадь помещения, не занятую мебелью или сантехникой. Это связано прежде всего с экономией электроэнергии.
На выровненном и очищенном черновом полу укладывается теплоизоляция, затем укрепляется монтажная лента, с помощью которой закрепляют нагревательную секцию. «Холодные концы» выводят на стену для соединения с термостатом. Определяют место установки термостата, и укладывают вблизи места установки термостата между двумя нитками нагревательного кабеля гофрированную трубку для установки датчика температуры. После этого выполняется заливка цементно-песчаной стяжки. Толщина стяжки не может быть менее 3 см. Время полного затвердевания стяжки не менее 28 суток. Лишь после этого может быть включена установленная система. Недопустимо ускорять затвердевание стяжки, включая «теплый пол». Перед включением (а еще лучше на 3–5 день после заливки) необходимо проверить целостность нагревательной секции тестером. В связи с тем, что внутри осталась некоторая влага, целесообразно при первом включении прогреть стяжку не менее суток. После этого система готова к эксплуатации. Важно обратить внимание на выбор и устройство теплоизоляции. Использование теплоизоляции позволяет сэкономить до 30–40% эксплуатационных расходов и, безусловно, необходимо в случае использования системы «теплый пол» как основной и единственной системы отопления. В этом случае наиболее целесообразно использовать пенополистирольные плиты из твердого ППС с твердостью не ниже 100 и толщиной 5–10 см (если позволяет структура пола). Поверх плит укладывается плотная бумага и устраивается «плавающая» стяжка. Использование такой теплоизоляции в теплоаккумулирующих системах также обязательно.
При устройстве «теплых полов» в существующих помещениях, как правило, невозможно уложить толстые слои теплоизоляции. В этом случае применяются фольгированные теплоизоляционные материалы толщинами 3, 4, 5, 8 и 10 мм. Их использование позволяет добиться экономии 12–20% электроэнергии. Необходимо использовать только материалы, дублированные поверх фольги лавсаном. В противном случае фольгированный слой после заливки стяжки разрушается в течение 3–5 недель вследствие наличия щелочной среды. На рынке широко распространены как импортные (Isoflex), так и выпускаемые в России — пенофол, фольгоизол и другие.
Во время работы «теплого пола» кабель нагревается до 60–70°C, а материалы изоляции и оболочки выдерживают температуры выше 100°C. Это один из секретов высокой надежности «теплых полов».
В состав системы «теплый пол» входят:
· нагревательная секция;
· аппаратура управления (термостат с датчиком температуры);
· аксессуары для облегчения и ускорения монтажа (монтажная лента, гофрированная пластиковая трубка и т. д.);
· теплоизоляция.
Нагревательный кабель должен иметь удельную мощность не более 17 Вт/м, а шаг укладки не должен превышать 20 см. Пример схемы укладки кабеля показан на рис. 1. Материал напольного покрытия для таких систем практически любой, вплоть до паркета. Для российских условий установленная мощность «теплого пола» составляет обычно 120–140 Вт на квадратный метр. Однако система практически в самое холодное время года потребляет лишь до 70–75% от этой величины.
Рис.2

Схема раскладки электрического кабеля:
1-теплоизоляция;
2-арматурная сетка;
3-монтажная лента;
4-греющая часть нагревательного кабеля;
5-место соединения с “холодным” концом (SPLICE);
6-“холодные” концы кабеля;
21-термостат;
22-датчик температуры пола;
23-гофрированная монтажная трубка
Длина нагревательной секции L м, определяется по формуле:
L=1,2Q/N, (1)
где Q – теплопотери помещения, кВт;
N – мощность нагревательной секции, кВт.
Тип нагревательной секции определяется в соответствии с табл. 5.
Таблица 5
Параметры нагревательных секций ECO («Теплолюкс»)
|
Марка |
Цвет кабеля |
Мощность, кВт |
Длина секции, м |
Рабочий ток, А |
Сопротив., Ом |
|
20 ТЛБЭ 2-5 |
Коричневый |
0,11 |
5 |
0,45 |
390-450 |
|
14 ТЛБЭ 2-13 |
Серый |
0,19 |
13 |
0,9 |
240-260 |
|
15 ТЛБЭ 2-18 |
Желтый |
0,27 |
18 |
1,2 |
168-188 |
|
17 ТЛБЭ 2-21 |
Красный |
0,34 |
21 |
1,6 |
131-146 |
|
18 ТЛБЭ 2-23 |
Синий |
0,42 |
23 |
1,9 |
108-119 |
|
17 ТЛБЭ 2-26 |
Зеленый |
0,52 |
26 |
2,4 |
89-97 |
|
20 ТЛБЭ 2-32 |
Серый |
0,63 |
32 |
2,9 |
72-80 |
|
20 ТЛБЭ 2-42 |
Коричневый |
0,80 |
42 |
3,6 |
51-62 |
|
20 ТЛБЭ 2-48 |
Зеленый |
0,90 |
48 |
4,1 |
44-45 |
|
20 ТЛБЭ 2-63 |
Красный |
1,2 |
63 |
5,5 |
33-41 |
|
20 ТЛБЭ 2-75 |
Синий |
1,4 |
75 |
6,4 |
27,5-33,5 |
|
20 ТЛБЭ 2-100 |
Коричневый |
2,0 |
100 |
9,1 |
23,2-26,3 |
Система кабельного отопления не требует технического обслуживания - достаточно периодического контроля. Более того, эта система не имеет ни каких движущихся частей, трущихся пар и деталей, в принципе невозможны протечки и т. п. неисправности, а следовательно, её надёжность и долговечность несравненно выше системы водяного теплого пола. Достаточно сказать, что срок службы нагревательного кабеля более 50 лет (в кафедральном соборе г. Осло система проработала 62 года без единой неисправности и была заменена на более современную только по причине капитального ремонта собора с полной заменой конструкции пола).
ЛИТЕРАТУРА
1. СНиП . Строительные нормы и правила. Тепловая защита зданий. - М.: Госстрой России, 20с.
2. Справочник проектировщика. KAN-therm. Варшава, 1997.-98 с.
|
Из за большого объема этот материал размещен на нескольких страницах:
1 2 3 4 |















