УДК 624.012
, д. т.н., професор, Кихья Абдул Хамид, к. т.н. (Домасский университет, г. Домаск, Сирия)
Эффективные железобетонные ребристые
монолитные плиты больших пролетов, используемые на стройках Сирии
Рассмотрены конструкции и методы возведения монолитных железобе-тонных плит. Приведены примеры конструирования ребристых плит больших пролетов с заполнением пространства между ребрами стерео-пором.
1. Введение
Ребристые плиты, работающие в двух направлениях, используют для перекрытия площадей с относительно большими пролетами квадратной или близкой к ней (круглой, треугольной, многогранной) формы (рис. 1) при соотношениях размером сторон
.
|
|
|
Рис. 1. Конструктивные схемы плит, работающих в двух направлениях 1 – ребра плиты, 2 – контурные балки. |
Расчетные размеры пролетов плит зависят от условий их опирания на контуре: при свободном опирании их принимают равными фактическим размерам по внутренней стороне, при наличии окаймляющих ребер расчетный пролет составляет 0,76 от фактической длины стороны плиты.
Ребристые плиты, работающие в двух направлениях состоят из железобетонных ребер, расположенных перпендикулярно по двум основным направлениям таким образом, что образуют между собой клетку регулярной структуры. Ребра опираются на контурные балки (см. рис. 1). Пространство между ребрами может оставаться пустым или заполняется легким материалом (рис. 2).
Ниже рассмотрена конструкция плиты, изображенной на рис. 2, а, которая работает в двух направлениях и имеет постоянные размеры сечения ребра. Такие плиты являются наиболее распространенными благодаря простоте и экономичности технологии возведения. После разборки опалубки потолок помещения остается гладким. Системы, изображенные на рис. 2, в, с требуют дорогостоящей опалубки, которая должна принимать форму образующихся клеток. Кроме того, потолок нуждается в обработке поверхности после разборки опалубки для устранения различных дефектов.
|
а |
|
|
б |
|
|
с |
|
|
Рис. 2. Примеры поперечных сечений плит с ребрами а – плита с прямоугольными ребрами; б, в – то же, с ребрами переменной высоты; 1 – железобетонное ребро; 2 – железобетонная плита; 3 - заполнитель |
Тем не менее, последний тип перекрытий находит применение в покрытиях помещений большой площади, поскольку это придает потолку привлекательный внешний вид, напоминающий пчелиные соты.
Пространство между железобетонными ребрами может быть заполнено легким материалом. В последнее время в качестве заполнителя начали использовать стереопор. При этом учитывают его положительные особенности, отличающие его от других материалов, а именно:
- очень малую среднюю плотность, которая составляет 15 кг/м3, что практически не увеличивает нагрузку от собственного веса;
- возможность заполнения ячеек блоком различной формы, что позволяет сэкономить материал и снизить отходы;
- возможность снизить расходы на рабочую силу за счет легкости и простоты использования стереопора.
2. Конструкции ребристых плит, работающих в двух направлениях
Функционирование ребристой плиты, работающей в двух направлениях характеризуется более полным использованием прочности материалов по сравнению с балочными плитами. Это происходит вследствие распределения нагрузки по направлениям ребер с учетом плиты, находящейся в сжатой зоне. Рациональное распределения усилия в железобетонном сечении ребристой плиты, при котором нижняя растянутая зона заполнена легким материалом, позволяет сэкономить бетон и арматуру.
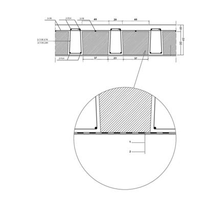
Ребристые плиты работающие в двух направлениях, конструируют по действующим нормам, которые определяют размеры сечений и армирование плиты и ребер (рис. 3).
|
|
|
Рис. 3. Сечение ребристых монолитных плит с заполнением стереопором 1 – пластмассовые пластинки; 2 – металлическая сетка |
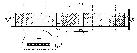
На рис. 4, а приведена конструкция перекрытия, состоящая из ребристых плит, работающих в одном или двух направлениях. Эта конструкция использована в одном из проектов монолитного многоэтажного здания, возведенного в Сирии. В качестве заполнителя пустот здесь применим стереопор (рис. 4, в).
|
а |
|
|
б |
|
|
Рис.4. Пример перекрытия с использованием ребристых плит, работающих в одном и двух направлениях а – общий план перекрытия; б – фрагмент разреза |
3. Порядок производства работ
Монолитные ребристые плиты, работающие в двух направлениях, устраивают в следующем порядке (см. рис. 3):
1) изготавливают опалубку, которая может быть деревянной или металлической. Для рассматриваемого случая использовали обыкновенные деревянные доски в сочетании с деревянными и металлическими опорами;
2) накладывают тонкие пластмассовые пластинки на деревянную опалубку с целью удержания бетонной смеси и воды в ней;
3) крепят металлическую сетку с ячейкой размером 20х20 мм и диаметром 1 мм к опалубке по всей плите снизу для обеспечения возможности выполнения штукатурки на потолке по бетонным ребрам и стереопорным плитам;
4) устанавливают арматуру контурных балок и перекрестных ребер;
5) устанавливают стереопорные блоки соответственно в образовавшихся нишах между перекрестными ребрами прочно их фиксируя с тем, чтобы они не перемещались и сохраняли форму в процессе бетонирования. Надежное крепление блоков актуально в связи с их малым весом и возможностью сдвига в ходе укладки свежего бетона. На этом этапе может произойти всплытие и смещение стереопорных блоков;
6) укладывают необходимую арматуру плиты перекрытия, хорошо увязывая с арматурой балок и перекрестных ребер.
С помощью арматуры надежно фиксируют стереопорные блоки;
7) укладывают свежий бетон, начиная с контурных балок, затем ребер, потом бетонируют плиту перекрытия.
4. Выводы
Опыт строительства монолитных железобетонных ребристых перекрытий в Сирии показал их высокую эффективность и экономическую целесообразность. Использование стереопора в качестве заполнителя ячеек ребристых плит, работающих в двух направлениях, позволяет получить практически идеально ровную поверхность потолков, что, безусловно, является положительным моментом с эстетической точки зрения.










