|
|
|
|
Приложение к своду правил
«Системы электросвязи зданий и сооружений. Нормы проектирования»
Методические рекомендации
«Правила проектирования и построения сетей проводного радиовещания и оповещения в зданиях и сооружениях»
Издание официальное
Москва
2011
Методические рекомендации «Правила проектирования и построения сетей проводного радиовещания и оповещения в зданиях и сооружениях
Содержание
1. Введение………………………………………………………………………4
2. Сети проводного радиовещания. Проектирование, построение и размещение сетей проводного радиовещания в зданиях и сооружениях. Общие требования………………………………………………………………. 5
3. Проектирование и построение локальных (объектовых) систем оповещения и их сопряжение с региональной системой централизованного оповещения………………………………………………………………………19
4. Проектирование и построение системы оповещения и управления эвакуацией пользователей зданий и сооружений (СО и УЭ)…………………25
5. Система охраны входов (СОВ) зданий и сооружений для защиты жителей от несанкционированного вторжения и использование ее для оповещения о чрезвычайных ситуациях……………………………………………………….28
6. Системы оповещения жителей малых населенных пунктов………………34
7. Правила обязательной оценки проектирования и строительства зданий и сооружений на соответствие безопасности для их пользователей в части оповещения и эвакуации в чрезвычайных ситуациях.
(Гл.6, ст.39,40 384-ФЗ)…………………………………………………………35
Приложение Термины и определения……………………………………39
Приложение Нормы установки радиоточек по типам зданий и сооружений………………………………………………………………….. 44
Приложение Упрощенный расчет количества громкоговорителей в системах оповещения…………………………………………………………48
Приложение Схемы построения системы оповещения малых населенных пунктов………………………………………………………………………….54
Приложение Схема этажного оповещения о чрезвычайных
ситуациях…………………………………………………………………………60
Приложение Структурная схема сопряжения домофона и сети проводного вещания для обеспечения адресного оповещения о чрезвычайных ситуациях………………………………………………………………………..61
1. Введение
Настоящие Методические рекомендации разработаны на основании положений свода правил «Системы электросвязи зданий и сооружений. Нормы проектирования» и содержат требования по проектированию и построению сети проводного радиовещания и системы оповещения населения в зданиях и сооружениях.
2. Сети проводного радиовещания. Проектирование, построение и размещение сетей проводного радиовещания в зданиях и сооружениях. Общие требования.
1.
2.
Назначение и область применения проводного
радиовещания
2.1. Проводное радиовещание-вид электросвязи, состоящее из комплекса технических средств, включающих станционное, линейное и абонентское оборудование с помощью которого передаются большому числу абонентов по проводным сетям электрические сигналы звукового вещания.
2.2. Сеть проводного радиовещания предназначена для обеспечения населения населенных пунктов услугами радиовещания, а также обеспечения централизованной передачи населению сигналов оповещения и информации, формируемых в структурах МЧС России, как в условиях мирного, так и военного времени.
2.3. Основными задачами сети проводного радиовещания являются - техническое обеспечение централизованной передачи населению сигналов оповещения и информации в условиях мирного и военного времени путем установки оконечных устройств оповещения в квартирах жилых домов, на лестничных клетках в подъездах жилых домов, в помещениях предприятий и организаций и в местах массового пребывания населения:
- обеспечение населения обязательными программами радиовещания;
- циркулярное, групповое и адресное оповещение и информирование населения по сети проводного радиовещания в границах районов, округов городов;
- обеспечение уличной звукофикации для оповещения и информирования населения в местах массового пребывания людей, интегрированную с локальными системами оповещения, системой электросиренного оповещения и ОКСИОН;
- аварийный прием и обработку вызовов от абонентов сети проводного радиовещания о происшествиях и передачу их на единый номер «112»;
- автоматизированное управление, контроль и мониторинг состояния оборудования, каналов и оконечных устройств сети проводного радиовещания, уличной звукофикации и электросиренного оповещения.
Проектирование сетей проводного
радиовещания
2.4. При разработке проектной документации, кроме требований настоящих Методических рекомендаций, необходимо руководствоваться действующими Федеральными нормативными документами по проектированию средств электросвязи..
Проектирование в жилых и общественных зданиях собственных ведомственных усилительных станций проводного радиовещания (радиоузлов), предназначенных для трансляции радиовещательных программ и оповещения населения, должно производиться с соблюдением технических правил и нормативных документов, действующих на станциях радиотрансляционных узлов Минсвязи РФ.
2.5.Оборудование и материалы, предусматриваемые в проектах, следует применять, как правило, при наличии необходимых сертификатов на соответствующее оборудование.
2.6.Нестандартизованное оборудование и изделия допускается предусматривать в проектах только по согласованию с заказчиками и эксплуатирующими организациями.
2.7. В разрабатываемых проектах должны быть обеспечены прогрессивность технических решений, экономия энергетических, трудовых и материальных ресурсов, надежность работы систем, удобство и безопасность их обслуживания.
2.8.Требования к строительству сетей проводного радиовещания безусловные и обязательные при проектировании жилых и общественных зданий и сооружений в связи со спецификой выполняемых задач.
2.9.Рабочий проект должен быть привязан к конкретному адресу и отражать способ прокладки сети, ее местоположение на планах кровли, чердака, подвала и поэтажных планах с указанием длин участков, места размещения, способах крепления и заземления оборудования.
2.10.Рабочий проект должен содержать местоположение точек присоединения и технические параметры в точках присоединения сети.
Устройство вводов сети проводного радиовещания в здания
2.11 Ввод кабелей в жилые и общественные здания должен быть, как правило, подземным. Вводы кабелей в подвалы зданий следует выполнять в асбоцементных или пластмассовых трубах, при этом вводы труб и кабелей в технические подполья и подвалы должны быть герметизированы. Кабель проводного радиовещания должен быть положен в отдельной трубе.
2.12. В зданиях малоэтажного строительства в сельской местности, городах и поселках городского типа следует предусматривать, как правило воздушный кабельный ввод проводного радиовещания.
2.13. Устройство воздушных кабельных вводов в жилые и общественные здания допускается в обоснованных случаях (при технико-экономическом обосновании) по согласованию с владельцем здания либо с эксплуатирующими организациями.
2.14. Место воздушного ввода в здание выбирается так, чтобы обеспечить удобство устройства ввода, удобство прокладки кабеля внутри здания.
2.15. В случае устройства воздушного ввода, на кровле здания необходимо предусматривать установку специальных трубостоек и вводных труб, таким образом, чтобы обеспечивался к ним свободный доступ и вывод кабелей и проводов в места, доступные обслуживающему персоналу. При этом расстояние по горизонтали от кабеля до выступающих частей здания должно быть не менее 0.8 м и от подвешиваемого кабеля до кровли в месте прохода не менее 1,5 м.
2.16. При установке трубостоек проводного радиовещания на кровле следует предусматривать меры против вибрации и шума при ветровых нагрузках.
2.17. Места установки вводных стоек на крышах должны быть выбраны так, чтобы провода и подвесные кабели, закрепленные на них, а также оттяжки не затрудняли доступа к расположенным на кровле инженерному оборудованию, строительным конструкциям, трубам, слуховым окнам и т. п.
2.18.Расстояние от антенных стоек до сети проводного вещания должно быть не менее 3 м, а проводов с напряжением 960 в – не менее 4 м.
Оттяжки антенных опор не должны проходить над проводами проводного радиовещания.
2.19.При устройстве воздушных вводов и установке стоечных опор на жилых домах, независимо от форм собственности, следует руководствоваться «Правилами строительства и ремонта воздушных линий связи и радиотрансляционных сетей».
Допускается (в обоснованных случаях) вывод кабелей городских сетей на наружные стены зданий. При этом кабель на стену следует выводить в пластмассовых трубах на высоту 0,7 м от поверхности земли с защитой кабелей на стенах от механических повреждений выше вводной трубы желобами из тонколистовой стали или уголками на высоту не менее 3 м от земли.
2.20.В жилых домах с мансардной кровлей при отсутствии возможности установки гильзы для радиостойки на какой-либо из секций дома допускается радиофикацию этой секции предусматривать от абонентского трансформатора, установленного на радиостойке соседней секции с прокладкой проводов по чердаку.
2.21.При невозможности подвески над кровлей дома транзитной воздушно стоечной низковольтной линии (120 В) радиотрансляции допускается использование кабельной вставки. При этом на краях кровли по трассе этой линии устанавливается по одной по одной радиостойке с переходным устройством (с воздушной линии на кабельную), между которыми по чердаку прокладывается кабель. Понижающие абонентские трансформаторы для домовой сети в этом случае устанавливаются на чердаке в металлических шкафах, нишах, ящиках.
Место установки абонентских трансформаторов, размещаемых внутри зданий, выбирается с учетом удобства их обслуживания.
2.22.При невозможности установки радиостойки на кровле машинного помещения лифтов, например, вследствие архитектурно-художественного завершения, допускается замена радиостойки на специальный кронштейн, к которому крепится траверса с изоляторами для устройства ввода сети радиотрансляции. При этом конструкция кронштейна должна предусматривать возможность установки абонентского трансформатора.
2.23.Прокладка сетей между отдельными зданиями должна выполняться:
-в кабельной канализации или коллекторах;
-воздушно-стоечным способом.
Оптический кабель следует крепить на несущих конструкциях при вертикальной прокладке, а также при прокладке непосредственно по поверхности стен помещений - по всей длине через 1 м; при горизонтальной прокладке (кроме коробов) - в местах поворота. На поворотах оптический кабель необходимо крепить с двух сторон угла на расстоянии равном допустимому радиусу изгиба кабеля, но не менее 100 мм, считая от вершины угла. Радиус поворота оптического кабеля должен отвечать требованиям технических условий на кабель. При прокладке оптического кабеля по одиночным опорам эти опоры должны быть установлены не более чем через 1 м, а кабель должен быть закреплен на каждой опоре.
Прокладка сетей проводного радиовещания по зданию
2.24.В жилых домах, на территориях производственных, общественно-деловых образований следует предусматривать отдельно стоящие либо встроено-пристроенные сооружения (помещения) для размещения звуковых трансформаторных подстанций (ЗТП), блок-станций (БС), усилительных станций (УС). Помещения ЗТП должны иметь вход непосредственно с улицы или с этажного внеквартирного коридора (холла).
2.25.Помещения ЗТП, не следует выбирать под санузлами, ванными комнатами, душевыми и другими помещениями, связанными с мокрыми технологическими процессами, кроме случаев, когда приняты специальные меры по надежной гидроизоляции, исключающие попадание влаги в эти помещения.
2.26.Оборудование проводного радиовещания следует размещать, как правило, в помещении электрощитовой или в помещении слаботочных устройств жилого дома.
При совместном размещении оборудования в помещении электрощитовой, шкафы и оборудование должны иметь систему защиты не ниже Р 31.
2.27.В этажных коридорах жилых зданий следует предусматривать место установки устройств этажных распределительных модульных (УЭРМ), для размещения линейных элементов сети проводного вещания и системы охраны входов. Конструкция УЭРМ должна исключать несанкционированный доступ к аппаратуре, устанавливаемой внутри них. Степень защиты УЭРМ должна быть не менее 1 Р1.
2.28.Размещение элементов и прокладка сетей другого назначения допускается в слаботочном отсеке этажного электрощитка. При необходимости рекомендуется:
- применить специальную конструкцию этажного щитка с увеличенным слаботочным отсеком;
- проложить самостоятельный короб (трубу) с установкой на нем запирающихся ящиков для размещения аппаратуры вышеуказанных дополнительных сетей;
- организовать дополнительный стояк с запирающимися отсеками распределительных шкафов.
Конструкция этажных совмещенных щитков должна удовлетворять требованиям ГОСТ Р 51628, в части нераспространения пожара из слаботочного отсека в сильноточный и наоборот, что должно быть подтверждено пожарными испытаниями.
2.29.Сеть проводного радиовещания, как правило, выполняется скрытой проводкой (в перегородках, стенах, перекрытиях). В случае, если кабели и провода телефонной сети и проводного радиовещания прокладываются в общем коробе, между ними необходимо соблюдать расстояние, чтобы исключить влияние радиопередач на телефонные разговоры. Это расстояние должно быть не менее 50 мм при длине линии 70 м, 15 мм при длине 10 м.
2.30.Прокладка радиотрансляционной сети внутри здания должна осуществляться от ввода в здание до этажного совмещенного электрощитка, в каналах строительных конструкций или коробах (трубах) проложенных открыто.
2.31. Радиотрансляционную сеть внутри квартир, а также внутри служебных помещений общественных зданий, следует выполнять, как правило, скрыто в швах (стыках) панелей или замоноличенными в подготовке пола, а также в перекрытиях в трубах (в монолитных домах), используя провода со скрученными стальными жилами (например ПМСП, ПМСВ или аналогичных).
2.32.Прокладку в техническом подполье жилых зданий неэкранированных кабелей сети городской радиотрансляции следует предусматривать в стальных трубах.
2.33.Стояки и магистральные участки сетей проводного радиовещания следует прокладывать как правило в пределах лестнично-лифтовых узлов, в коридорах, чердаках, техподпольях, технических этажах и других помещениях, доступных для обслуживающего персонала в любое время суток.
2.34.Каналы, ниши, закладные детали для устройства электропроводок, плинтуса и наличники с каналами для различных сетей, а также трубы, замоноличенные в строительные конструкции при их изготовлении, должны предусматриваться в архитектурно-строительных чертежах, проектах и чертежах строительных изделий по заданиям, разработанным проектировщиками слаботочной части проекта систем здания.
2.35. Прокладка радиотрансляционной проводки в помещениях должна быть кратчайшей и прямолинейной, должна учитывать расположение электрических и других кабелей и как можно меньше пересекаться с ними.
2.36.В целях уменьшения мешающего влияния различных сетей на нормальную работу друг друга в случае их параллельного прохождения на протяженных участках (более 7 м.) рекомендуется осуществлять прокладку этих сетей одним из следующих способов:
а) в стальных трубах;
б) экранированными кабелями;
в) проводами со скрученными жилами (витой парой)при этом провода со стальными жилами диаметром 1,2 мм допускается прокладывать в швах строительных конструкций, подготовке пола;
г) в металлических коробах с разделительными перегородками.
2.37.Допускается сеть проводного радиовещания прокладывать совместно с сетью ТВ.
2.38.Ответвления от стояка сетей проводного радиовещания и системы охраны входов, должны выполняться, как правило, в самостоятельных ячейках (для каждого вида сетей) УЭРМ, запирающихся на ключ.
2.39.Прокладку абонентских сетей от УЭРМ до квартиры следует предусматривать в электротехнических коробах, плинтусах или каналах строительных конструкций, при этом количество каналов в коробах и плинтусах должно быть не менее 2-Х. Все сети в квартиры должны прокладываться с учетом обеспечения механической защиты проводов и кабелей и исключения несанкционированного доступа к ним. Допускается прокладка этих сетей в трубах в подготовке пола 2.40. В местах, где возможны нарушения исправности проводки, кабели и провода должны быть защищены от механических повреждений металлическими профилями, коробами или проложены в стальных трубах, либо в металлорукавах. Провода и кабели прокладываемые открыто, должны быть защищены от механических повреждений до высоты 2,5 м от пола помещений, перекрытия чердаков и от уровня земли.
2.41. Нагрузку сети радиотрансляции следует принимать:
- для жилых зданий - из расчета обеспечения номинальной мощности не менее 0,4 Вт на одну квартиру;
- для общежитий – из количества устанавливаемых абонентских громкоговорителей или наушников, при этом количество наушников пересчитывается в количество абонентских громкоговорителей, исходя из потребляемой мощности (из расчета 0,25 Вт на один громкоговоритель).
2.42. В жилых домах радиорозетки должны предусматриваться на кухне и в смежной с кухней комнате вне зависимости от количества комнат в квартире. В общественных зданиях места установки радиорозеток и нагрузка сети радиотрансляции определяются в соответствии с действующими нормами на данный тип зданий или заданием на проектирование.
2.43.Радиорозетки устанавливаются не далее 1,0 м от от электрической розетки 220 В для обеспечения возможности подключения 3-х программных громкоговорителей.
2.44.В распределительных шкафах в местах ответвлений от стояков должны устанавливаться разветвительные и ограничительные коробки.
2.45.Провода от ограничительной коробки к радиорозеткам должны подключаться безразрывным способом.
2.46.Диаметр стальных жил проводов ПВ внутри помещений при скрытой проводке должен быть не менее 1.2 мм, а при открытой проводке –0,6 мм.
2.47. В каждой секции на техническом этаже (чердаке) зданий и сооружений предусмотреть место для подъездного распределительного шкафа (ПРШ), для размещения в нем оборудования Комплекса технических средств оповещения, позволяющее абонентам получить дополнительные (социальные) услуги:
- доступ к интернету;
- доступ к обязательным общероссийским телевизионным каналам;
- получение сигналов оповещения экстренных служб о возникновении чрезвычайных ситуаций и рекомендаций по поведению в этих условиях; отправку тревожного вызова в службу «112».
2.48.Присоединение к сетям проводного радиовещания и Комплексу технических средств оповещения (в рамках реализации проекта «СР») производится по техническим условиям организации разработчика, включенным в задание на проектирование.
2.49. Конструкция ПРШ должна исключать несанкционированный доступ к размещаемой внутри него аппаратуре телевидения и интернета. ПРШ, как правило, должен быть пристенного типа и иметь ремонтное освещение. Габариты ПРШ должны допускать возможность свободной транспортировки шкафа до места установки.
2.50.Оконечные многофункциональные устройства (ОМУ)комплекса технических средств оповещения содержащие звуковой оповещатель с уровнем звука не менее 75 дБА (0,15Вт),кнопку тревожного вызова для обращения в службу «112»,индикатор подтверждения приема тревожного вызова службой «112»,индикатор подтверждения приема тревожного сигнала (вызова) службой «112»,розетку для подключения громкоговорителя мощностью до 0,25 Вт, разъем для подключения телеприемников и разъем для обеспечения доступа в интернет, следует устанавливать в жилых зданиях, как правило, в прихожей квартиры рядом с входной дверью на высоте 1,2 м, обеспечивающей удобный доступ к нему маломобильных групп населения.
2.51.В общественных зданиях оконечные многофункциональные устройства следует устанавливать в помещениях с круглосуточным пребыванием персонала (диспетчерских пунктах, у дежурных, также в приемных руководителей предприятий и организаций) и других местах зданий с учетом специфики работы конкретного предприятия, уточняемых в технических условиях на присоединение.
2.52.Оконечные многофункциональные устройства в жилых зданиях должны подключаться к блокам распределения и управления БРУСР, устанавливаемом в ящике проводного радиовещания и системы охраны входов УЭРМ или в зоне проводного вещания и системы охраны входов слаботочного отсека этажного совмещенного электрощитка (аналогично размещению в УЭРМ). При этом к БРУСР данного этажа следует подключать, как правило, оконечное многофункциональное устройство, расположенные в квартирах того же этажа, где устанавливается БРУСР.
2.53. В общественных зданиях при построении сети комплекса технических средств оповещения следует учитывать границы балансовой принадлежности и эксплуатационной ответственности владельцев разных частей этих зданий.
2.54. В жилых зданиях для подключения оконечных многофункциональных устройств к БРУСР следует применять экранированные кабели (например UTP – не менее 5-й категории или аналогичные). Кабели следует прокладывать на лестничных клетках, как правило, открыто в коробах, а внутри квартиры на участке от ввода до оконечного многофункционального устройства скрыто в замоноличенной в стене трубе, или в канале.
2.55.Оконечные многофункциональные устройства рекомендуется применять утопленного исполнения, в панельных зданиях допускается использование устройства для настенного монтажа.
2.56.Монтаж сети проводного радиовещания и комплекса технических средств оповещения следует вести одновременно.
2.57. Электроснабжение ПРШ должно осуществляться от панели АВР здания с установкой прибора учета электроэнергии на линии его питания.
2.58.Для сети интернета от ПРШ до БРУСР следует применять экранированные кабели не менее 5-й категории.
2.59. Подключение ПРШ к сетям сторонних операторов связи выполняется согласно технических условий выдаваемых организацией, эксплуатирующей сети проводного радиовещания и комплекс технических средств.
Сети проводного радиовещания и оповещения в общественных зданиях и сооружениях с большим количеством посетителей, а также в зданиях образовательных, медицинских и банковских учреждений.
2.60. В проектной документации зданий образовательных, медицинских и банковских учреждений, должны быть предусмотрены мероприятия направленные на уменьшение криминальных проявлений и их последствий, на обеспечение защиты от угроз террористического характера и несанкционированного вторжения а также по обеспечению беспрепятственного доступа инвалидов и других групп населения с ограниченными возможностями передвижения к этим объектам.
2.61. Для комплексной безопасности и антитеррористической защищенности детей (учащихся) и персонала в учреждениях образования следует предусматривать на первом этаже помещения для охраны с установкой систем видеонаблюдения, пожарной и тревожной сигнализации и канала передачи тревожных сообщений в ситуационные центры «112».
2.62.В комнате охраны и кабинете заведующего образовательного учреждения (или ДОУ) предусмотреть установку оконечных многофункциональных устройств Комплекса технических средств оповещения для получения сигналов оповещения о чрезвычайных ситуациях и рекомендаций по поведению персонала в этих условиях.
2.63.В общеобразовательных учреждениях необходимо предусмотреть радиоузел с двухсторонней связью, который следует располагать в непосредственной близости от кабинета директора.
Радиотрансляционные точки должны предусматриваться в учительской, кабинете директора и его заместителя, врача, старшего воспитателя, учительской, киноаппаратной, радиоузле, кабинете инструктора по физическому воспитанию, комнате мастера, помещении технического персонала и рекреационных помещениях.
2.64.Система проводного радиовещания в зданиях гостиниц, административных общественных и корпоративных зданиях, зданиях банков может объединяться с системами оповещения и управления эвакуацией, а также радиотрансляцией, при этом должен быть обеспечен приоритет сообщений системы оповещения.
В общежитиях и гостиницах с числом мест не более трех в одном номере (комнате) должна устанавливаться одна розетка. В номерах (комнатах) с числом мест четыре и более должны устанавливаться две розетки. Кроме того, розетки устанавливаются в комнатах дежурного персонала, администратора и других помещениях в соответствии с заданием на проектирование.
В гостиницах следует применять трехпрограммные радиотрансляционные приемники, размещаемые по всем жилым, общественным и служебным помещениям, коридорам и холлам.
2.65. В лечебно-профилактических учреждениях должна предусматриваться распределительная сеть городского радиовещания. Радиорозетки должны предусматриваться у каждой кровати.
2.66.В помещениях постоянного пребывания персонала предусматривать установку индивидуальных приемников трехпрограммного вещания.
2.67. В палатах (кроме реанимации, детских и психиатрических отделений) для каждого больного следует предусматривать головные телефоны и групповую радиотрансляционную сеть.
2.68.Во всех лечебно-профилактических учреждениях предусматривать систему оповещения и эвакуации при пожаре.
2.69.Для получения сигналов оповещения экстренных служб о возникновении чрезвычайных ситуаций и передаче рекомендаций по поведению людей в этих условиях, в помещении дежурного персонала и в кабинете руководителя культурно-зрелищного учреждения устанавливают оконечные многофункциональные устройства Комплекса технических средств сети проводного радиовещания.
Молниезащита и заземление
2.70. Все трубостойки, радиостойки, металлические кронштейны с изоляторами, антенно-мачтовые сооружения ПВ, тросы воздушно-кабельных вводов, должны присоединяться к системе молниезащиты зданий и сооружений согласно требованиям СО 153-343.21..
2.71. Для устройства молниезащиты зданий следует, как правило, использовать металлические каркасы строительных конструкций фундаментов зданий (плиты, колонны и т. д.). Опуск молниеотвода к очагу заземления в зданиях с лифтами рекомендуется осуществлять по стене внутри лифтовой шахты.
2.72. На зданиях, где отсутствует возможность использования строительных конструкций в качестве очага молниезащиты, заземление радиостоек и др. металлических конструкций, размещаемых на кровле, следует осуществлять путем устройства отдельного контура заземления. Молниезащитный провод к очагу заземления в этом случае может прокладываться по дворовому фасаду в строительных швах или по стене на специальных штырях, забиваемых и пристреливаемых к стене, либо внутри здания в труднодоступных для жильцов местах.
2.73. Все металлические части шкафов, каркасы и др. металлоконструкции, на которых установлено оборудование различных сетей напряжением свыше 42 В. Переменного тока, должны быть занулены путем соединения с нулевым защитным проводом электрической сети напряжением 380/220 В согласно ПУЭ.
2.74. Рабочее заземление установок систем электросвязи следует выполнять согласно техническим требованиям на это оборудование.
2.75.Величина сопротивления заземления оборудования систем связи должна соответствовать ГОСТ 464-79.
Маркировка.
2.76.В случае установки собственных шкафов с оборудованием следует нанести на них соответствующую маркировку, а также указать телефон для экстренной связи в аварийных ситуациях и других нештатных ситуациях.
2.77. Проложенные кабели маркируются бирками, на которых указываются марка кабеля и организация, которой принадлежит кабель.
3. Проектирование и построение локальных (объектовых) сетей оповещения и их сопряжение с региональной системой централизованного оповещения
3.1. Система оповещения представляет собой организационно-техническое объединение сил, средств связи и оповещения, сетей вещания, каналов сети связи общего пользования, обеспечивающих доведение информации и сигналов оповещения до органов управления, сил единой государственной системы предупреждения и ликвидации чрезвычайных ситуаций (далее - РСЧС) и населения.
3.2. Системы оповещения создаются:
на объектовом уровне - локальная система оповещения (в районе размещения потенциально опасного объекта).
3.3. Системы оповещения предназначены для обеспечения своевременного доведения информации и сигналов оповещения до органов управления, сил и средств гражданской обороны, РСЧС и населения об опасностях, возникающих при ведении военных действий или вследствие этих действий, а также угрозе возникновения или возникновении чрезвычайных ситуаций природного и техногенного характера.
3.4. Основной способ оповещения населения - передача информации и сигналов оповещения по сетям связи для распространения программ телевизионного вещания и радиовещания.
3.5. При создании локальных систем оповещения необходимо обеспечивать их программное и аппаратное сопряжение с региональной автоматизированной системой централизованного оповещения субъекта Российской Федерации, системами аварийной сигнализации и контроля потенциально опасного объекта.
Зоны действия локальных систем оповещения определены:
- в районе размещения ядерно - и радиационно-опасного объекта – в радиусе 5 км вокруг объекта (включая пристанционный посёлок (город);
- в районе размещения химически опасного объекта – в радиусе до 2,5 км вокруг объекта;
- в районе размещения гидротехнического объекта (в нижнем бьефе, в зоне затопления) – на расстоянии до 6 км от объекта.
В населенных пунктах (в том числе в пристанционном городе), расположенных в границах локальной системы оповещения размещаются сиренно-речевые установки необходимой мощности (их количество и мощность рассчитываются проектной организацией в ходе разработки проектно-сметной документации).
В районе локальной системы оповещения (в 6-ти километровой зоне нижнего бьефа) устанавливается система контроля уровня аварийного затопления в нижнем бьефе (места установки оборудования определяются проектной организацией в ходе разработки проектно-сметной документации).
3.6. Создание локальной системы оповещения – составная часть комплекса мероприятий гражданской обороны, проводимых с целью защиты персонала потенциально опасного объекта, а также проживающего в районе его размещения населения.
За создание и поддержание в постоянной готовности к использованию по предназначению локальных систем оповещения несут персональную ответственность руководители потенциально опасных объектов.
3.7. Объектовые системы оповещения (использующиеся в организациях) используется при авариях, последствия которых не выходят за пределы объекта.
Проектирование в жилых и общественных зданиях собственных ведомственных усилительных станций проводного радиовещания (радиоузлов), предназначенных для трансляции радиовещательных программ и оповещения населения, должно производиться с соблюдением технических правил и нормативных документов, действующих на станциях радиотрансляционных узлов Минсвязи РФ.
3.8.Объектовые системы оповещения создаются на объектах, в организациях с одномоментным нахождением людей (включая персонал более 50 человек), а также социально важных объектах и объектах жизнеобеспечения населения вне зависимости от одномоментного нахождения людей.
3.9. Объектовая система строится на базе существующей сети связи, сети звукофикации объекта и специальной аппаратуры комплекса оповещения.
3.10. Основной задачей объектовой сети оповещения является доведение сигналов и информации оповещения до руководителей и персонала объекта и объектовых сил и служб гражданской обороны.
3.11. Локальные и объектовые сети вещания и оповещения проектируются автономно, при этом использование линейно-абонентских сооружений проводного вещания предприятий связи запрещается.
3.12. При создании локальных систем оповещения необходимо обеспечивать их программное и аппаратное сопряжение с региональной автоматизированной системой централизованного оповещения субъекта Российской Федерации, системами аварийной сигнализации и контроля потенциально опасного объекта.




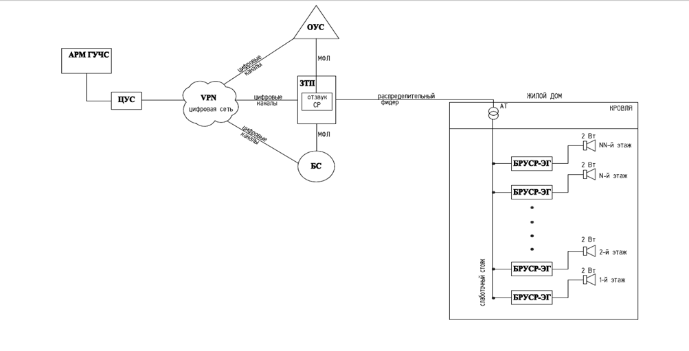
3.13. Система этажного оповещения в подъездах жилых домов по сети проводного радиовещания.
3.13.1. Для создания системы адресного оповещения на каждом этаже жилого здания устанавливается этажный громкоговоритель (ЭГ) и подключается к БРУСР (БРУС-ЭГ) установленном в УЭРМ. Этажный громкоговоритель крепится к стене в месте, исключающем его повреждение от вандализма и удобном для подключения к БРУСР(ЭГ).
3.13.2.Независимость работы БРУСР (ЭГ) от внешнего электроснабжения обеспечивается за счет получения электропитания от вещательного сигнала первой программы транслируемой по сети проводного вещания.
3.13.3.Оптимальная мощность этажного громкоговорителя для подключения к сети проводного вещания должна быть не более 2 Вт, при этом сеть не перегружается.
3.13.4. В помещениях предприятий и организаций, социально значимых объектах, дирекциях по эксплуатации зданий, организациях по управлению имуществом многоквартирных домов, вновь возводимом и существующем жилье, установка этажных громкоговорителей (количество и место установки) определяется заданием на проектирование.
3.13.5.Схема построения системы этажного оповещения о чрезвычайных ситуациях – Приложение №___
4. Проектирование и построение системы оповещения и управления эвакуацией пользователей зданий и сооружений (СОиУЭ).
4.1. Проектирование и установку систем оповещения и управления эвакуацией людей осуществлять в соответствии с требованиями Свода правил СП 3.13130.2009 «Система оповещения и управления эвакуацией людей при пожаре».
4.2. Система оповещения и управления эвакуацией людей (СОиУЭ) представляет собой комплекс организационных мероприятий и технических средств (в т. ч. территориальных, локальных и объектовых систем оповещения, подвижных средств звукоусиления, уличной звукофикации), предназначенный для своевременного сообщения людям информации о возникновении пожара, необходимости эвакуироваться, путях и очередности эвакуации.
4.3 СОиУЭ, являясь составной частью централизованной системы оповещения населения, используется для оповещения и управления эвакуацией в жилых домах квартирного типа, офисных и других помещениях.
Допускается сопряжение оконечных устройств СОиУЭ через многофункциональное оконечное устройство с гарантированной подачей сигнала тревоги к месту управления СОиУЭ.
4.4. Настенные звуковые и речевые оповещатели должны располагаться таким образом, чтобы их верхняя часть была на расстоянии не менее 2,3 м от уровня пола, но расстояние от потолка до верхней части оповещателя должно быть не менее 150 мм.
4.5. Распределительные сети в системах СОиУЭ требуется строить без разъемных розеток, оповещатели не должны иметь регуляторов громкости, приборы должны обеспечивать контроль исправности соединительных линий по всей их длине, должно быть обеспечено резервирование электропитания аппаратуры.
При установке многофункциональных оконечных устройств - речевой извещатель должен исполняться в несъемном и невыключаемом варианте.
В остальных, неоговоренных в настоящих правилах случаях, количество звуковых и речевых пожарных оповещателей, их расстановка и мощность должны обеспечивать уровень звука во всех местах постоянного или временного пребывания людей в соответствии с нормами Свода правил СП 3.13130.2009.
4.6. Звуковые сигналы СОиУЭ должны обеспечивать общий уровень звука, уровень звука постоянного шума вместе со всеми сигналами производимыми оповещателями не менее 75 дБА на расстоянии 3 м от оповещателя, но не более 120 дБА в любой точке защищаемого помещения.
4.7. Для обеспечения четкой слышимости звуковые сигналы СОиУЭ должны обеспечивать уровень звука не менее чем на 15 дБА выше допустимого уровня звука постоянного шума в защищаемом помещении. Измерение проводится на расстоянии 1,5 м от уровня пола.
4.8. В спальных помещениях звуковые сигналы СОиУЭ должны иметь уровень звука не менее чем на 15 дБА выше уровня звука постоянного шума в защищаемом помещении, но не менее 70 дБА. Измерения проводятся на уровне головы спящего человека.
4.9. Настенные звуковые оповещатели, как правило, должны крепиться на высоте не менее 2,3 м от уровня пола, но расстояние от потолка до оповещателя должно быть не менее 150 мм.
4.10. В защищаемых помещениях, где люди находятся в шумозащитном снаряжении, или с уровнем звука шума более 95 дБА, звуковые оповещатели должны комбинироваться со световыми, допускается использование световых мигающих оповещателей.
4.11. Речевые оповещатели должны воспроизводить нормально слышимые частоты в диапазоне от 200 до 5000 Гц. Уровень звука информации от речевых оповещателей должен соответствовать требованиям настоящих норм для звуковых оповещателей.
4.12. Установка громкоговорителей и других речевых оповещателей в защищаемых помещениях должна исключать концентрацию и неравномерное распределение отраженного звука.
4.13. Настенные речевые оповещатели должны располагаться таким образом, чтобы их верхняя часть была на расстоянии не менее 2,3 м от уровня пола, но расстояние от потолка до верхней части оповещателя должно быть не менее 150 мм.
4.14. Количество звуковых и речевых пожарных оповещателей, их расстановка и мощность должны обеспечивать уровень звука во всех местах постоянного или временного пребывания людей..
4.15. Оповещатели не должны иметь регуляторов громкости и должны подключаться к сети без разъемных устройств.
4.16. Звуковые сигналы оповещения должны отличаться по тональности от звуковых сигналов другого назначения.
4.17. Коммуникации СОиУЭ допускается проектировать совмещенными с радиотрансляционной сетью здания.
5. Система охраны входов (СОВ) зданий и сооружений для защиты жителей от несанкционированного вторжения и использование ее для оповещения о чрезвычайных ситуациях.
5.1. В предусмотренных законодательством РФ случаях в зданиях и сооружениях должны быть устроены системы телевизионного наблюдения, видеодомофоны, системы сигнализации и другие системы обеспечивающие:
- контролируемый доступ в здания и выделенные помещения внутри зданий;
- контроль состояния дверей;
- управление устройствами оповещения и исполнительными устройствами инженерных устройств защиты;
- разблокировку на выход дверей и заграждений при пожаре;
- регистрацию входов, выходов и попыток несанкционированного проникновения;
- идентификацию личности при проходе в здание по цифровой фотографии. Защищаемые системой контроля доступа помещения оборудуются изнутри кнопкой разрешения выхода и доводчиками дверей;
- система видеонаблюдения должна выполнять как охранные функции, так и давать информацию для оценки тревожной ситуации в зоне наблюдения службам пожарной безопасности и эксплуатации здания.
5.2. Требования настоящего раздела распространяются на системы охраны вводов (СОВ), организуемых в жилых (в т. ч. многофункциональных высотных и зданий – комплексов), а также общественных зданий с использованием аудио-видеодомофонных систем и других устройств инженерной защиты.
5.3. Система охраны входов (СОВ) предусматривается с целью контроля и управления доступом в здания и сооружения и исключения несанкционированного доступа в подъезды жилых домов, в выделенные помещения общественных зданий и сооружений, на территорию объекта.
5.4. Система охраны вводов жилого дома должна обеспечивать содержание входных дверей в подъезде дома закрытыми на замок с его дистанционным управлением из квартир, из помещения дежурного в подъезде (консьерж), из диспетчерского пункта объединенной диспетчерской службы (ОДС), а также прямую речевую связь из подъезда с квартирами и диспетчером ОДС.
5.5. Система домофонной связи должна служить резервным средством оповещения в чрезвычайных ситуациях. Допускается по заданию на проектирование совмещение домофона с системой охраны квартир.
5.6. Домофон-электронно-переговорное устройство, позволяющее лицу, находящемуся внутри здания, после разговора с посетителем дистанционно разблокировать электрозвонок входной двери, закрытой в обычном состоянии.
5.7. В зоне доступа жилой части многофункционального высотного здания (здания-комплекса) двери подъезда, двери со стороны лифтовых холлов на этажах, где расположены квартиры, а также двери со стороны лестничных клеток, ведущие к квартирам, должны быть оборудованы домофонами (должны быть установлены вызывные панели). На нижнем этаже в подъезде должен быть установлен пост службы безопасности, который должен быть оснащен следующими техническими средствами:
- двусторонней аудиосвязью с каждой квартирой и с вызывной панелью двери подъезда;
- средствами обнаружения проноса запрещенных предметов; средствами тревожно-вызывной сигнализации;
- прямой телефонной связью с ответственным дежурным и оператором центрального пункта управления службы безопасности;
- видеомонитором для выборочного просмотра видеоизображений от телевизионных камер, которые должны быть установлены для наблюдения за дверями со стороны лифтовых холлов в коридоры на этажах, где располагаются квартиры, а также дверями, ведущими в эти коридоры со стороны лестничных клеток.
5.8. При выделении в высотной части здания нескольких зон доступа, двери со стороны лифтовых холлов на этажах, а также двери со стороны лестничных клеток должны быть оборудованы техническими средствами контроля и управления доступом, телевизионными камерами.
5.9. При разработке типовых проектов жилых домов объем работ по оснащению подъездов домофонной связью предусматривается с учетом прокладки сети в стояках, абонентской проводки, установки квартирных переговорных устройств.
При выборе типа домофона в жилых домах, при отсутствии требований к обеспечению безопасности, рекомендуется предусматривать аудиодомофон. Видеодомофон следует применять в жилых и общественных зданиях согласно задания на проектирование, когда с его помощью требуется решать специфические задачи, связанные с повышенной безопасностью объекта.
5.10. Блоки вызова домофонов, как правило, следует размещать на наружных металлических дверях, причем на двупольных дверях блок вызова следует устанавливать на малой створке двери. Внутренний блок домофона должен быть установлен путем врезки в дверное полотно или дверную коробку.
Допускается в отдельных случаях (при других типах дверей) размещать блок вызова в нише наружной стены дома в непосредственной близости от входной двери.
Во избежание попадания осадков или прямых солнечных лучей на внешний блок на внешний блок домофона, его передняя панель должна быть защищена специальным козырьком или иным способом.
В жилых домах, где имеются подъезды со сквозным проходом, в общественных зданиях и нежилых помещениях 1-го этажа жилых домов (при наличии эвакуационных выходов) наружные двери рекомендуется оборудовать дублирующим блоком вызова или ключевым устройством в соответствии с заданием на проектирование.
Допускается оборудовать эти двери механическими замками, при этом жильцы дома либо персонал должны быть обеспечены ключами.
Высота установки блоков вызова или ключевых устройств с учетом их доступности для инвалидов – колясочников должна быть 1,2 м от пола (низ).
5.11. Блоки питания и блоки коммутации домофонов следует, как правило, размещать в помещении дежурного. При отсутствии помещения дежурного допускается их размещение в вестибюле, холле 1-го этажа или в коридоре 2-го этажа на стене в металлическом шкафу с запорным устройством. Металлический шкаф должен быть изготовлен из стали и иметь жесткую конструкцию.
Блоки питания домофонов, электрозамков должны быть запитаны, как правило, от АВР при его наличии.
5.12. Адаптеры домофонов следует располагать в электрощитовой жилого дома в непосредственной близости от аппаратуры автоматизированной системы управления и диспетчеризации (АСУД) инженерным оборудованием.
Абонентский блок в квартирах жилых домов должен быть установлен внутри в таком месте, которое может обезопасить абонента от возможных преступных действий (выстрел), либо обеспечивать максимальное удобство пользования.
5.13. Прокладка кабелей и проводов СОВ между отдельными блоками системы осуществляется в каналах и отверстиях стен, в металлических трубах (металлорукавах) или электротехнических коробах. Вертикальную прокладку сети домофонной связи следует выполнять в стояках для сетей связи и сигнализации. Установка этажных коммутаторов СОВ должна осуществляться в специальном отсеке (совместно с ограничительными коробами городской радиотрансляции) УЭРМ.
В подъездных видеодомофонах в качестве линии связи внешнего блока и абонентского блока (монитора) до 50 м может быть использован любой кабель. При длине свыше 50 м используется коаксиальный кабель.
5.14. Ввод проводов домофонной сети в квартиры разрешается осуществлять в общих каналах с телефонными сетями. Внутриквартирная проводка осуществляется аналогично телефонной.
Разрешается совместная прокладка в одном канале или в трубе линий связи и сигнализации и линий домофонной связи, кроме проводов, подводящих напряжение электропитания выше 42 В переменного тока и 110В постоянного тока.
Квартирные переговорные устройства (КПУ)рекомендуется устанавливать на стене рядом с входной дверью на высоте от 1,3 до1,5 от пола.
Допускается размещение КПУ в иных местах внутри квартиры в соответствии с заданием на проектирование.
5.15.Электромагнитный замок или защелка с дистанционным управлением должны иметь возможность отпирания:
- из квартиры;
-из диспетчерского пункта ОДС;
-из помещения дежурного в подъезде с блока пульта консьержа;
-посредством набора специального кода на панели блока вызова;
-механическим, магнитным либо оптоэлектронным ключем;
Допускается использование нескольких способов отпирания замка в любой комбинации согласно заданию на проектирование.
5.16. Электромагнитный замок должен обеспечивать возможность беспрепятственного открытия дверей изнутри помещения, блокировку в открытом состоянии на длительный период во время чрезвычайных ситуаций (пожар, загазованность и т. д.), а также возможность открывания двери с обеих сторон при пропадании напряжения питания замка. Блокировка замка в закрытом состоянии не допускается.
5.17. Напряжение питания электрозамка, тягового электромагнита и других элементов домофона, устанавливаемых на входных дверях, не должно быть больше 42 В переменного тока и 110 В постоянного тока.
5.18. Металлические части блоков питания домофонов следует заземлять согласно ПУЭ. Электрические цепи замка должны быть изолированы от корпуса.
5.19. Для принудительного закрывания дверей подъезда и обеспечения надежности работы электрозамка необходимо оборудовать двери доводчиком дверей.
5.20. Прокладка линий питания и связи подъездного аппарата с электрифицированным замком и блоком питания, осуществляется в каналах и отверстиях стен либо в штробах, в которых закладываются неметаллические трубы или в металлорукавах.
Построение системы адресного оповещения с использованием сети проводного радиовещания и систем домофонной связи в зданиях и сооружениях.
5.21. Сеть проводного радиовещания, являющейся основой информационно-оповестительной системы города и цифровых технологий, позволяет использовать ее использовать ее для адресного оповещения населения без создания новых проводных (эфирных) сетей оповещения.
5.22. В жилых зданиях, где имеется сеть проводного радиовещания для сопряжения с домофоном достаточно домовой (абонентской) сети в стояке дома, как продолжение сети проводного вещания от распределительного фидера.
5.23. Вертикальная прокладка линий связи домофона и сети проводного радиовещания осуществляется в одном стояке для сетей связи и сигнализации.
Установка этажных коммутаторов или разводка по квартирам выполняется в специальном отсеке совместно с ограничительными коробками городской радиотрансляционной сети.
5.24. Для обеспечения адресной системы оповещения жителей в жилых домах необходимо предусмотреть установку в УЭРМ блоков БРУСР доработанного для целей сопряжения сети проводного радиовещания и домофона с установкой переключателя – коммутатора. Провод от блока БРУСР на этаже заводится на домофон квартиры. При отсутствии сигнала включения системы оповещения домофон работает в обычном режиме.
Структурная схема для аудио аналогового (координатного домофона) сопряженного с сетью ПВ (Приложение №_).
5.25. Комплексную систему адресного оповещения выполнять в соответствии с заданием на проектирование по техническим условиям организации разработчика БРУСР и изготовителя оборудования домофонной системы связи.
6. Системы оповещения жителей малых населенных пунктов о чрезвычайных ситуациях.
6.1. Для организации оповещения в малых населенных пунктах и небольших городах со слаборазвитой телекоммуникационной структурой, следует применять универсальный радиотрансляциооный узел (УРТУ«Электронная рында» ) предназначенной для приема сигналов о чрезвычайных ситуациях по различным каналам связи и их воспроизведение через выносные акустические устройства.
6.2. УРТУ подключается к существующим внешним каналам связи: проводному радиовещанию, линиям, построенным в рамках оказания универсальной телефонной услуги с использованием таксофона, спутниковым каналам, каналам мобильной связи и эфирным каналам.
6.3. Сопрягается УРТУ с действующими системами оповещения принятыми в МЧС России, (например оборудование П-166 (П-166Ц). Для получения сигналов оповещения от уличных громкоговорителей, к выходу УРТУ подключается линия уличной звукофикации.
6.4. Уличные громкоговорители необходимо располагать в местах наибольшего скопления жителей в населенных пунктах и устанавливать на различных столбовых опорах или крышах зданий.
6.5. При необходимости с помощью УРТУ и средств уличной звукофикации уполномоченные представители местного органа власти могут обращаться к жителям и управлять их действиями в условиях ЧС, (например приближение лесного пожара).
6.6. В повседневном режиме УРТУ задействуется для трансляции государственных радиоканалов и доведения информации местного значения.
6.7. УРТУ должен размещаться, как правило, помещениях административных зданий, там, где имеется гарантированное электропитание (автономный источник), необходимый температурный режим и невозможность несанкционированного доступа.
6.8. Количество уличных громкоговорителей и места их размещения определяются заданием на проектирование. Для озвучивания уличных территорий применяют рупорные громкоговорители, полоса частот которых обычно соответствует речевому спектру. В связи с этим дальность таких громкоговорителей составляет порядка 50-100 м. (по центральной оси). Рупорные громкоговорители, как правило, имеют всепогодное исполнение и не боятся повышенной влажности. При расчетах нужно учитывать, что угол, раскрывав диаграммы направленности у рупорных громкоговорителей составляет порядка 30 градусов.
Упрощенный расчет требуемого количества громкоговорителей приведен в Приложении №___
6.9. Общая схема оповещения на базе УРТУ приведена в Приложении №__, (варианты схем с использованием различных каналов связи управления и подачи информации оповещения о ЧС на рисунках 2-3-4-5).
6.10. В сельской местности оповещение населения, может быть организовано с помощью маломощных эфирных передатчиков, при этом прием программ вещания (оповещения) осуществляется на обычные эфирные приемники в УКВ-ЧМ и FM-диапазонах.
6.11. Маломощные передатчики устанавливаются, как правило, в районных центрах, частоты на которых они работают, выделяются соответствующими службами федерального агентства связи. Благодаря малой мощности эфирных передатчиков, направленности излучающих антенн они могут работать в разных районах сельской местности на одних и тех же частотах.
7. Правила обязательной оценки проектирования и строительства зданий и сооружений на соответствие безопасности для их пользователей в части оповещения и эвакуации в чрезвычайных ситуациях.
7.1. При проектировании объектовых и локальных систем оповещения необходимо предусмотреть организационное, техническое и программное сопряжение с автоматизированной системой централизованного оповещения, системами аварийной сигнализации и контроля потенциально опасного объекта.
7.2. Сопряжение объектовых и локальных систем оповещения с централизованной системой оповещения населения является обязательным и регламентировано приказом МЧС РФ, Минсвязи РФ, Минкультуры РФ, Минюста РФ от27.07.06 № 000/90/376.
7.3. В проекте должно быть предусмотрена оценка емкости присоединяемой сети связи объекта к сети связи общего пользования (для объектов производственного назначения - соответствие характеристик проектируемых сооружений и линий связи, в том числе линейно-кабельных).
7.4. Предусмотреть разработку технических решений, обеспечивающих присоединение проектируемой линии связи к сети общего пользования, местоположение точек присоединения и технические параметры в точках присоединения сетей связи.
7.5. Соответствие предусмотренных мероприятий по обеспечению устойчивого функционирования сетей связи, в том числе в чрезвычайных ситуациях. Сведения о возможности обледенения проводов и соответствие проектируемых мероприятий по антиобледенению.
7.6. Перечень мероприятий и обоснование технических решений в отношении локальных систем оповещения в районах размещения потенциально опасных объектов производственного назначения - в соответствии с действующими нормативными документами.
7.7. Обязательная оценка соответствия здания и сооружения проектной документации в части внешней и внутренней радиофикации и системы оповещения должна осуществляться лицом, подготовившим проектную документацию в форме заверения, что она разработана в соответствии с заданием на проектирование и осуществляется до утверждения проектной документации.
7.8. Обязательная оценка соответствия здания и сооружения в форме государственной экспертизы проектной документации, либо в форме проверки государственным строительным надзором, осуществляется в соответствии с правилами и в сроки установленные законодательством РФ.
7.9. Обязательная оценка соответствия зданий и сооружений после окончания строительства, реконструкции или капитального ремонта проектной документации, производится лицом осуществившим строительство и заказчиком-застройщиком путем подписания документа до ввода здания или сооружения в эксплуатацию.
Приложение
Термины и определения
В настоящем своде правил применены следующие термины с соответствующими определениями:
- электросвязь - любые излучения, передача или прием знаков, сигналов, голосовой информации, письменного текста, изображений, звуков или сообщений любого рода по радиосистеме, проводной, оптической и другим электромагнитным системам (ст.2 ФЗ «О связи»);
- критически важные объекты - объекты, нарушение или прекращение функционирования которых приводит к потере управления экономикой субъекта РФ или муниципального образования, либо снижению безопасности населения, проживающего на этой территории;
- потенциально опасные объекты - совокупность зданий, сооружений, строений, технических средств, расположенных на определяемых в соответствии с законодательством РФ объектах использования атомной энергии, опасных производственных, особо опасных, технически сложных, уникальных объектах, аварии на которых могут привести к чрезвычайным ситуациям;
- объектовая система оповещения – комплекс организационных и технических мер создаваемый на объектах, последствия аварий на которых не выходят за пределы объекта и предназначенных для доведения информации оповещения до руководителей и персонала объекта, объектовых сил и служб гражданской обороны. Создается на объектах, организациях с одномоментным нахождением людей (включая персонал) более 50 человек, а также социально важных объектах и объектах жизнеобеспечения населения вне зависимости от одномоментного нахождения людей и предназначена для оповещения сотрудников и посетителей в чрезвычайных ситуациях;
- локальная система оповещения - комплекс организационных и технических мер, предназначенных для оповещения сотрудников на территории потенциально опасного объекта, а также населения на прилегающей к объекту территории;
- локальная система оповещения производственного объекта - Совокупность технических средств объектовой и части территориальной систем оповещения, построенной на базе городской, также производственной сети связи и сети проводного вещания объекта с применением спецаппаратуры;
- проводное вещание - вид электросвязи, состоящих из комплекса технических средств, включающих станционное, линейное и абонентское оборудование с помощью которого передаются абонентам по проводным сетям электрические сигналы звукового вещания и оповещения;
- система проводного вещания - совокупность технических принципов и методов организации проводного вещания;
- трехпрограммное проводное вещание - многопрограммное проводное вещание, обеспечивающее передачу сигналов одной программы по каналу звуковой частоты и двух программ на несущих частотах 78 и 120 кгц, с амплитудной модуляцией и регулируемой несущей.
- тракт проводного вещания – часть электрического канала звуковой частоты, который начинается на входе ЦСПВ или станции радиотрансляционного узла и заканчивается абонентской розеткой.
- опорно-усилительная станция (ОУС) проводного вещания – станция, предназначенная для усиления сигналов звукового вещания, питания трехзвенных сетей проводного вещания(питания магистральных фидерных линий децентрализованных сетей проводного вещания) и резервирования одной усилительной станции;
- усилительная станция проводного вещания (УС) - станция, предназначенная для усиления сигналов звукового вещания и питания двухзвенных сетей проводного вещания (питания распределительных фидерных линий децентрализованной сети проводного вещания);
- БП (БС) - блок подстанция проводного вещания – станция, состоящая из оборудования трансформаторной подстанции и усилительного передающего оборудования, предназначенная для резервного питания распределительных фидерных линий проводного вещания;
- звуковая трансформаторная подстанция (ЗТП) - комплекс оборудования, предназначенный для понижения уровня сигналов звукового вещания, получаемых от ОУС по магистральным фидерным линиям, и передачи их в распределительные фидерные линии проводного вещания;
- распределительная фидерная линия (РФ) - линия, предназначенная для питания абонентских линий или домовых сетей от абонентского трансформатора до
- соединительная линия (СЛ) - канал ограниченной протяженности между различными аппаратными, а также соответствующей аппаратной и передатчиком или станциями проводного вещания;
- абонентская линия (АЛ) - линия, соединяющая абонентский трансформатор с домовыми сетями проводного вещания или трансляционными точками;
- магистральная фидерная линия (МЛ) - линия, предназначенная для питания распределительных фидерных линий;
- станция проводного вещания (СПВ) - станция, предназначенная для приема, преобразования, усиления сигналов звукового вещания;
- радиотрансляционный узел проводного вещания (РТУ) - комплекс станционного и линейного оборудования, осуществляющий прием, усиление и передачу программ звукового вещания абонентам;
- абонентское устройство (АУ) - электроакустическое устройство, предназначенное для приема и воспроизведения программ звукового вещания, передаваемых по сети проводного вещания;
- абонентская розетка (АР) - устройство, предназначенное для подключения абонентского устройства к сети проводного вещания;
- абонентский трансформатор (АТ) - понижающий трансформатор для подключения абонентских линий или домовой сети к распределительному фидеру;
- трубостойки проводного вещания - устройство, для подвешивания на изоляторах с помощью ввязочной проволоки различных типов проводов (биметаллические, стальные, медные, как изолированные или неизолированные) и располагаемое на крышах зданий;
- оконечное многофункциональное устройство (ОМУ) - не отключаемое техническое устройство, служащее для гарантированного обеспечения передачи сигналов оповещения и информации о чрезвычайных ситуациях по сети проводного радиовещания, устанавливаемое в квартирах и подъездах жилых домов, в помещениях предприятий и организаций, социально значимых объектах, объектах с круглосуточным пребыванием людей и в местах массового пребывания людей;
- радиотрансляционная точка (РТ) – устройство, включающее часть линейных сооружений сети, начиная от ограничительной коробки или от ограничительной перемычки устанавливаемой у абонента и оканчивающееся абонентской розеткой включительно, обеспечивающее подачу к нему программ проводного вещания;
- блок распределения и управления социальной абонентской розеткой (БРУСР) – техническое устройство для управления работой оконечных многофункциональных устройств;
- звуковое вещание (ЗВ) - передача звуковой информации общего назначения широкому кругу территориально рассредоточенных слушателей посредством технических средств;
- радиофикация - оснащение местности сетью проводного вещания с оборудованием зданий техническими средствами обеспечивающими передачу и прием радиовещательных программ;
- система охранного телевидения - совокупность совместно действующих технических средств, включая телекамеры с объективами, видеомониторами вспомогательным оборудованием требующихся для организации видеоконтроля;
- доводчик двери - устройство, служащее для принудительного закрывания двери подъезда и обеспечивающая надежную работу электрозамка;
- адаптер домофонных систем – устройство служащее для сопряжения автоматизированных систем диспетчерской связи с подъездными домофонами, а также сопряжения многоабонентных домофонных систем с дополнительными телефонными аппаратами;
- структурированная кабельная система (СКС) - интегрированная, иерархическая кабельная система, подразделяющаяся на структурные подсистемы и состоящая из медных и оптических кабелей, кросс-панелей, соединительных компонентов и вспомогательного оборудования, обеспечивающая передачу информации и сигналов безопасности в жилых и общественных зданиях и сооружениях;
- слаботочные сети связи - сети систем электросвязи для передачи информации с помощью электрических сигналов (не электрической энергии) по проводам, волоконно-оптическому кабелю или по радио;
- слаботочные системы - системы электросвязи, преобразующие сигналы или сообщения (звук, потенциал, контакт, оптическую информацию и др.) в первичные электрические сигналы:
а) преобразование и обработка первичных электрических сигналов во вторичные, характеристики которых хорошо согласуются с характеристиках слаботочных сетей связи;
б) передача сигналов по слаботочным сетям связи до приемных устройств;
в) преобразование и обработка вторичных сигналов в сигналы с протоколами и характеристиками, необходимыми для реализации функционального назначения системы.
Приложение
Нормы установки радиоточек по типам зданий и сооружений
Общественные здания
В общественных зданиях радиотрансляцию следует предусматривать в соответствии с заданием на проектирование и нормами СНиП «Общественные здания и сооружения» и Свода правил СП 3.13130.2009 «Системы оповещения и управления эвакуацией при пожаре».
Жилые здания
Нагрузку сети радиотрансляции следует принимать:
- для жилых зданий - из расчета обеспечения номинальной мощности не менее 0,4 Вт Вт на одну квартиру.
В жилых домах радиорозетки должны предусматриваться на кухне и в смежной с кухней комнате вне зависимости от количества комнат в квартире.
Оконечные устройства сети ПВ устанавливаются не далее 1,0 м от электрической розетки 220В для обеспечения возможности подключения 3-х программных громкоговорителей.
Больницы
В больницах оконечные устройства сети проводного радиовещания предусматриваются у каждой кровати, в комнате охраны и главного врача.
Гостиницы
Количество проживающих до 3х-чел. – 1 р/т
Количество проживающих до 4х-чел. и более – 2 р/т
Деж. персонал – 1 р/т
Администрация – 1 р/т
В гостиницах в радиотрансляционных сетях следует применять трехпрограммные радиотрансляционные приемники, размещаемые по служебным помещениям, холлам, коридорам. Допускается применение выделенных сетей радиотрансляции.
Общежития
Количество проживающих до 3х-чел. – 1 р/т
Количество проживающих до 4х-чел. и более – 2 р/т
Деж. персонал – 1 р/т
Администрация – 1 р/т
В общежитиях нагрузку сети радиотрансляции следует принимать из расчета из количества устанавливаемых абонентских громкоговорителей или наушников. При этом количество наушников пересчитывается в количестве абонентских громкоговорителей исходя из потребляемой мощности (из расчета 0,25 Вт на один громкоговоритель).
Банковские учреждения
При устройстве в зданиях сетей проводного радиовещания оконечные устройства сети предусматриваются в кабинете руководителя учреждения и помещениях охраны – по одной р/т на помещение
Вокзалы и аэропорты
Комната матери и ребенка и комната длительного отдыха пассажиров - по 1 р/т на помещение.
Общеобразовательные учреждения
- кабинет директора 1 р/т;
- заместитель директора – 1 р/т;
- старший воспитатель – 1 р/т;
- организатор внеклассной и внешкольной воспитательной работы – 1 р/т,
- врачебный кабинет – 1 р/т;
- канцелярия – 1 р/т;
- киноаппаратная – 1 р/т,
- комната мастера – 1 р/т;
- кабинет инструктора физического воспитания – 1 р/т,
- помещение размещения технического персонала – 1 р/т
- рекреационное помещение – 1 р/т
- радиоузел – 1 р/т
Дошкольные общеобразовательные учреждения
- помещения для групповых занятий – 1 р/т на каждое помещение;
- залы для музыкальных и гимнастических занятий – 1 р/т на каждое помещение;
- «домашний уголок» - 1 р/т;
- кабинет заведующего – 1 р/т;
- комната персонала – 1 р/т,
- комната завхоза – 1 р/т;
- помещении охраны – 1 р/т
Культурно-зрелищные здания
По 1 р/т на каждое служебное помещение.
Предприятия розничной торговли
В предприятиях розничной торговли, многофункциональных торговых комплексах, встроено-пристроенных к жилому зданию торговых центрах радиотрансляцию следует предусматривать в соответствии с нормами СНиП «Общественные здания и сооружения» и Свода правил СП 3.13130.2009 «Системы оповещения и управления эвакуацией при пожаре».
Предприятия бытового обслуживания
На предприятиях бытового обслуживания радиотрансляцию следует предусматривать радиотрансляцию в соответствии с нормами СНиП «Общественные здания и сооружения» и Свода правил СП 3.13130.2009 «Системы оповещения и управления эвакуацией при пожаре».
Учреждения ГУИН
Камера содержания под стражей и помещение размещения отряда оснащается одной радиоточкой на каждое такое помещение.
Здания, сооружения похоронного назначения
Дома траурных обрядов, крематории и административно - бытовые корпуса следует оборудовать радиотрансляцией.
Физкультурно-оздоровительные учреждения
В физкультурно-оздоровительных учреждениях радиотрансляцию следует предусматривать в соответствии с нормами СНиП «Общественные здания и сооружения» и Свода правил СП 3.13130.2009 «Системы оповещения и управления эвакуацией при пожаре».
Здания органов социальной защиты
В зданиях органов социальной защиты населения радиотрансляцию следует предусматривать в соответствии с нормами СНиП «Общественные здания и сооружения» и Свода правил СП 3.13130.2009 «Системы оповещения и управления эвакуацией при пожаре».
Хосписы
В зданиях хосписов радиотрансляцию следует предусматривать в соответствии с нормами СНиП «Общественные здания и сооружения» и Свода правил СП 3.13130.2009 «Системы оповещения и управления эвакуацией при пожаре». Комнаты руководителя учреждения и охраны оснащаются 1 р/т на каждую комнату.
Стоянки легковых автомобилей
В зданиях автостоянок и в подземных автостоянках радиотрансляцию следует предусматривать в соответствии с нормами СНиП «Общественные здания и сооружения» и Свода правил СП 3.13130.2009 «Системы оповещения и управления эвакуацией при пожаре». Помещение охраны оснащается 1 р/т.
Приложение
Упрощенный расчет количества громкоговорителей в системах оповещения
Если необходимо качественное озвучивание помещение, (трансляция фоновой музыки в супермаркетах, тренажерных залах, ресторанах и т. д.) количество и мощность громкоговорителей необходимо выбирать исходя из геометрических размеров помещения, учитывая только полезную площадь (там, где находятся слушатели). При этом следует учитывать, что наилучшее качество получается при использовании потолочных громкоговорителей, так как позволяет добиться более равномерного звука.
Распространение звука от одного громкоговорителя упрощенно можно представить в виде конуса с углом раскрытия 90 градусов.
Для правильного расчета требуется учитывать, что "пятно" (т. е. площадь, которую озвучивает динамик) от одного потолочного динамика имеет радиус, равный высоте помещения минус высота от пола до ушей слушателя (условно берется от 1,4 до 1,6 м. Для равномерного озвучивания помещения требуется рассчитать и установить громкоговорители так, чтобы их "пятна " располагались с некоторым перекрытием на высоте роста среднестатистического слушателя – около 1,5м.


Для того, чтобы упростить расчет, ниже приводится таблица соответствия:
Площади – высоты потолков – количества громкоговорителей.
|
Полезная площадь помещения (кв. м.) | |||||||
|
25 |
35 |
50 |
80 |
100 |
150 |
200 | |
|
3 |
4 |
5 |
7 |
11 |
14 |
20 |
27 |
|
3,5 |
4 |
3 |
4 |
6 |
8 |
11 |
15 |
|
4 |
1 |
2 |
3 |
4 |
5 |
7 |
10 |
|
4,5 |
1 |
1 |
2 |
3 |
4 |
5 |
7 |
|
5 |
1 |
1 |
2 |
2 |
3 |
4 |
5 |
|
5,5 |
1 |
1 |
1 |
2 |
2 |
3 |
4 |
|
6 |
1 |
1 |
1 |
1 |
2 |
3 |
3 |
Суммарную мощность громкоговорителей для помещения можно выбрать в монограмме

При расчете следует учитывать, что если в помещении имеются открытые окна или двери, мощность громкоговорителей необходимо выбирать больше на 1 Вт на каждую дверь.
Пример:
Требуется рассчитать количество и мощность громкоговорителей для магазина площадью 150 кв. м. и высотой потолка 4,5 м.
Для определения количества громкоговорителей необходимо воспользоваться таблицей приведенной выше – требуется 5 громкоговорителей.
Для определения суммарной мощности, воспользуемся номограммой приведенной выше – при уровне звука порядка 95,5 Дб суммарная мощность составит 13,5 Вт. Выбираем 5 громкоговорителей по 3 Вт.
По существующим нормам, при проектировании систем оповещения уровень звукового давления в местах озвучивания должен превышать уровень естественного фона не менее чем 10 Дб.
Если нет возможности установить потолочные громкоговорители можно установить настенные. При установке настенных громкоговорителей необходимо руководствоваться следующими принципами:
– желательно устанавливать громкоговорители на высоте 1,5 м. для сидящих и 2-2,2 м. для стоящих слушателей;
– если ширина помещения меньше 5 м., то колонки устанавливаются по длине, с шагом 4-6 м., избегая углов;
– если ширина больше 5 м., то колонки располагаются на противоположных стенах больше 5 м., то колонки располагаются на противоположных стенах, в шахматном порядке, с шагом 8 – 12 метров;
В коридорах, галереях или других протяженных помещениях лучше устанавливать направленные громкоговорители. При этом следует располагать их в середине коридора, направляя в противоположные стороны. Дальность направленного громкоговорителя оставляет примерно 20 метров.
Для озвучивания уличных территорий часто применяют рупорные громкоговорители. В рупорном громкоговорителе звуковая энергия собирается в мощный поток, полоса частот обычно соответствует речевому спектру. В связи с этим дальность таких громкоговорителей составляет порядка 50-100 м. (по центральной оси). Рупорные громкоговорители, как правило, имеют всепогодное исполнение и не боятся повышенной влажности. При расчетах нужно учитывать, что угол, раскрывая диаграммы направленности у рупорных громкоговорителей составляет порядка 30 градусов.
Метод расчета с использованием математических формул
Расчет мощности громкоговорителей для сосредоточенных систем
Расчет мощности громкоговорителей для сосредоточенных систем осуществляется в следующем порядке:
1) определяется необходимый уровень звука в удаленной точке озвучиваемого помещения:
![]()
где La- действующий уровень фонового шума в помещении, 10 - превышение требуемого уровня звукового давления над фоном;
2) рассчитывается звуковое давление, которое должен развивать громкоговоритель в удаленной точке:
3) определяется звуковое давление, которое должен развивать громкоговоритель на расстоянии 1м:
![]()
где L- расстояние от громкоговорителя до крайней точки.
Если в сосредоточенной системе используется несколько громкоговорителей, то:
![]()
где n - число громкоговорителей в сосредоточенной системе;
4) определяется уровень звукового давления, которое должен обеспечивать каждый громкоговоритель:
Величина 2 х 10-5, состоящая в знаменателе, соответствует уровню абсолютной тишины в Паскалях;
5) по значению Lгр или p1 выбирается необходимый громкоговоритель или находится его необходимая типовая мощность.
При выборе типовой мощности используется соотношение 95 дБ/Вт
Расчет мощности громкоговорителей для распределенных систем
Расчет мощности громкоговорителей для одинарной и двойной настенной цепочки:
1) определяется необходимый уровень звука в помещении:
![]()
где Lа - действующий уровень фонового шума в помещении
2) рассчитывается звуковое давление, которое должен развивать громкоговоритель в удаленной точке:
, Па;
3) определяется звуковое давление, которое должен развивать громкоговоритель на расстоянии 1 м:
- для одиночной цепочки или цепочки, расположенной в шахматном порядке:

- для двойной цепочки:

где b - ширина помещения, D - расстояние между громкоговорителями в цепочке.
Вместо D можно подставить выражение:
D=L/N,
где I - длина помещения, N - количество громкоговорителей вдоль одной стены;
4) определяется уровень звукового давления, которое должен обеспечивать каждый громкоговоритель:
5) по значению L2р выбирается необходимый громкоговоритель или находится его необходимая типовая мощность. При выборе, по типовой мощности используется соотношение - 95 дБ/Вт.
Расчет мощности громкоговорителей для одиночной и двойной потолочной цепочки и потолочной решетки
1) определяется необходимый уровень звука в помещении:
![]()
где Lа - действующий уровень фонового шума в помещении (при уровне фонового шума более 75 дБ - Lтах = Lа + 7, дБ);
2) рассчитывается звуковое давление, которое должен развивать громкоговоритель в удаленной точке:

3) определяется звуковое давление, которое должен развивать громкоговоритель на расстоянии 1м:
- для одиночной цепочки, расположенной по средней линии помещения:

-для потолочной решетки:
![]()
где b - ширина помещения, D - расстояние между громкоговорителями в цепочке;
4) определяется уровень звукового давления, которое должен обеспечивать каждый громкоговоритель:
5) по значению выбирается необходимый громкоговоритель или находится его необходимая типовая мощность. При выборе по типовой мощности используется соотношение 95 дБ/Вт
Приложение
Схемы построения системы оповещения малых населенных пунктов
Схема уличной звукофикации и оповещения населения на базе УРТУ 

Схема передачи сигналов оповещения до УРТУ через спутниковый ретранслятор
![]() | ![]() | ![]() |


![]()
|
| ||
|
|
![]() | ![]() |
![]() |


![]() | |
| |
![]() |

![]() |
Сокращения и условные обозначения:
РФЛ – распределительная фидерная линия (линия уличной звукофикации )
УРТУ - унифицированный радиотрансляционный узел
1 - панель распределения питания на DIN-рейке
2 - аппаратура управления «БУГ»
3 - усилитель проводного вещания «Енисей D 0,625»
|
|
5 - источник бесперебойного питания
Схема передачи сигналов оповещения до УРТУ с помощью GSM-модема

|
|
![]() |
![]() | |
| |
![]() |
![]() |
Сокращения и условные обозначения:
РФЛ – распределительная фидерная линия (линия уличной звукофикации )
УРТУ- унифицированный радиотрансляционный узел
1 - панель распределения питания на DIN-рейке
2 - аппаратура управления «БУГ»
3 - усилитель проводного вещания «Енисей D 0,625»
4 - блок коммутации и контроля
5 - источник бесперебойного питания
Схема организации связи с помощью «Универсальной услуги»
![]() |

![]() | ![]() |
|
|


|

![]()
![]() |
Сокращения и условные обозначения:
ТФОП- телефонная сеть общего пользования
УЗФ – уличная звукофикация
УРТУ – унифицированный радиотрансляционный узел
1 - панель распределения питания на DIN-рейке
2 - аппаратура управления «БУГ»
3 - усилитель проводного вещания «Енисей D 0,625»
4 - блок коммутации и контроля
5 - источник бесперебойного питания
|
|

Вариант схемы организации связи для оповещения населенных пунктов с использованием мобильной связи.
Сокращения и условные обозначения:
ТФОП - телефонная сеть общего пользования
УЗФ – уличная звукофикации
УРТУ – унифицированный радиотрансляционный узел
ГР50 – громкоговоритель рупорный (мощности50 ВТ)
|
|
Приложение
Схема этажного оповещения о чрезвычайных ситуациях

Организация-разработчик
Федеральное государственное унитарное предприятие
«Московская городская радиотрансляционная сеть»
Руководитель
разработки
Заместитель Генерального директора-
Главный инженер
должность личная подпись инициалы, фамилия





















