Министерство транспорта Российской Федерации
Федеральное агентство железнодорожного транспорта
Федеральное государственное бюджетное образовательное учреждение
высшего профессионального образования
«Омский государственный университет путей сообщения (ОмГУПС)»
Кафедра «Технология транспортного машиностроения
и ремонта подвижного состава»
К защите допущен.
Руководитель проектирования –
к. т. н., доцент кафедры
«ТТМ и РПС»
__________
«____» ______________2016 г.
ПОДГОТОВКА УПРАВЛЯЮЩЕЙ ПРОГРАММЫ ДЛЯ ОБРАБОТКИ ДЕТАЛЕЙ ТИПА ДИСК
Пояснительная записка к курсовой работе
по дисциплине «Автоматизация производственных процессов в машиностроении»
ИНМВ. 410301.000 ПЗ
Студент гр. 12 Д
__________
«____» ______________2016 г.
Руководитель –
к. т. н., доцент кафедры
«ТТМ и РПС»
__________
«____» ______________2016 г.
Реферат
Курсовая работа содержит 26 страниц, 12 рисунков, 2 таблицы, 6 источников, 4 листа графического материала.
Объектом проектирования является написание управляющей программы для обработки деталей типа диск.
Задачами курсовой работы являются: определить какие виды обработки требуются для обработки детали, рассчитать режимы резания, выбрать режущий инструмент, выбрать оборудование, подготовить УП для двух операций обработки на станках с ЧПУ.
Оглавление
Введение. 4
1 Выбор видов обработки. 5
2 Проектирование технологических операций. 7
3 Расчеты режимов резания. 9
4 Выбор оборудования. 16
5 Выбор режущего инструмента. 18
6 Написание управляющей программы.. 22
Заключение. 25
Библиографический список: 26
Введение
Применение технологий компьютерной автоматизированной подготовки управляющей программы для изготовления деталей на металлообрабатывающем оборудовании с ЧПУ позволяет проводить имитационное моделирование (симуляцию) процесса механической обработки деталей на этапе разработки.
Целью данной курсовой работы является закрепление теоретического материала по курсу «Автоматизация производственных процессов в машиностроении», овладение навыками проектирования технологических операций и составление управляющей программы обработки фланца.
2 Выбор видов обработки
Выбор метода обработки зависит от конфигурации детали, ее габаритов, точности и качества обрабатываемых поверхностей, вида принятой заготовки. Окончательное формообразование, размеры и качество обрабатываемых поверхностей в машиностроении преимущественно достигаются обработкой резанием.
Решение задач выбора метода и конкретного вида обработки облегчается при использовании справочных таблиц, в которых содержатся сведения о технологических возможностях обработки резанием различными методами. С помощью этих таблиц можно выбрать метод окончательной обработки поверхности и наметить виды промежуточной.
Исходя из этого, для достижения точности обработки поверхности 3 используем три вида обработки (черновое, получистовое, чистовое); для обработки остальных поверхностей достаточно однократного точения (черновое).

Рисунок 1 – Эскиз фланца с обозначенными поверхностями
Характеристики по каждой поверхности детали (рис. 1) описываются в таблице 1.
Таблица 1 – Характеристика поверхностей детали
№ пов. | Наименование поверхности | Количество поверхностей | Количество унифицирован-ных поверхностей | Квалитет точности | Параметр шероховатости |
1 | торцевая | 1 | 1 | 7 | 6,3 |
2 | цилиндрическая | 1 | 1 | 7 | 0,8 |
3 | отверстие ø 79 | 1 | 1 | 7 | 6,3 |
4 | отверстие ø 100 | 1 | 1 | 7 | 3,2 |
5 | отверстие ø 130 | 1 | 1 | 7 | 0,8 |
6 | канавка | 1 | 1 | 14 | 6,3 |
7 | канавка | 1 | 1 | 14 | 6,3 |
8 | отверстие ø 8 | 6 | 6 | 14 | 6,3 |
9 | отверстие ø 8 | 6 | 6 | 7 | 3,2 |
10 | фаска | 18 | 18 | 14 | 6,3 |
11 | криволинейная | 1 | 1 | 14 | 6,3 |
12 | Торцевая | 1 | 1 | 7 | 3,2 |
3 Проектирование технологических операций
При установлении общей последовательности обработки детали рекомендуется учитывать:
каждая последующая операция должна уменьшать погрешности обработки и улучшать качество поверхности;
в первую очередь следует обрабатывать поверхности, которые будут служить технологическими базами для последующих операций;
затем необходимо обрабатывать поверхности, с которых снимается наибольший слой металла, что позволит своевременно обнаружить возможные внутренние дефекты заготовки;
операции, при которых возможно появление брака из-за внутренних дефектов в заготовке, нужно производить на ранних стадиях обработки;
обработка остальных поверхностей ведется в последовательности, обратной степени их точности: чем точнее должна быть поверхность, тем позже она обрабатывается;
заканчивается процесс изготовления детали обработкой той поверхности, которая должна быть наиболее точной и имеет наибольшее значение для эксплуатации детали;
технический контроль намечают после тех этапов обработки, где вероятна повышенная доля брака, перед сложными дорогостоящими операциями, после законченного цикла, а также в конце обработки детали.
В соответствии с указанными требованиями составляется описание принятого технологического процесса, представленного в виде табл. 2.
Таблица 2 – Технологический маршрут обработки фланца
Номер операции | Наименование операции | Станок | Обрабатываемые поверхности |
1 | 2 | 3 | 4 |
005 | Заготовительная (штамповка) | ||
010 | Токарная | 16К20Ф3 станок токарный патронно-центровой с ЧПУ | 1, 2, 3 |
Окончание табл. 2
1 | 2 | 3 | 4 |
015 | Токарная | 16К20Ф3 станок токарный патронно-центровой с ЧПУ | 4, 5, 6, 7, 10, 11, 12 |
020 | Сверлильная | 2Р135Ф2 сверлильный станок с ЧПУ | 8, 9 |
025 | Очистительная | Все поверхности очистить от стружки | |
035 | Контрольная | 2, 3, 4, 5, 9, 12 |
4 Расчеты режимов резания
Расчет режима резания ведется по следующей схеме: t – S – T – V - To, т. е. устанавливается глубина резания t, подача S и период стойкости инструмента T, определяются скорости резания V и основное технологическое (машинное) время To.
Выбор глубины резания зависит от требуемой шероховатости обработанной поверхности припуска. Припуск желательно срезать за один проход. Если требуется получение низкой шероховатости (Ra < 63 мкм) при припуске более 2 мм, то он срезается за два прохода и более. На чистовой проход оставляется припуск 0,5-2,0 мм при Rz = 40-63 мкм; 0,1-0,4 мм – при Rz < 40 мкм. [3]
Назначаем глубину резания равную 0,5 мм и требуется 9 проходов.
Рассчитаем режимы резания для поверхности 3 с диаметром 134,5h9(-0,1). Чтобы выдержать заданный квалитет, требуется 3 технологических перехода: черновой, получистовой и чистовой.
Режимы резания при черновой обработки поверхности. Определяем величину подачи.
1) По прочности резца на изгиб
(3.1)
где [Pи] – допустимое изгибающее усилие,
(3.2)
[σи] = 250 Мпа – допустимое напряжение на изгиб;
b – ширина державки;
h – высота державки резца, мм;
lр – вылет резца из резцедержателя, принимается равным 1,5h, для расточных резцов – длине расточки с учетом припуска на врезание и перебег резца;
Cpz – коэффициент, учитывающий вид обработки и свойства обрабатываемого материала, равный 300;
x, y – показатели степени, x = 1, y = 0,75;
t = 1;
Kpz – поправочный коэффициент на измененные условия резания,
(3.3)
где Kм. р. – коэффициент, учитывающий влияние свойств обрабатываемого материала на силу резания, равен 0,89;
Кγр – коэффициент влияния переднего угла, равен 1,0;
Кφр – коэффициент влияния главного угла в плане, равен 1,0;
Кгр – коэффициент влияния радиуса при вершине, равен 1,0;
Ко. р. – коэффициент влияния охлаждения, равен 0,95;
Кλр – коэффициент влияния угла наклона режущей кромки, равен 1,07.
![]()
![]()

2) По прочности режущей части (пластины)
(3.4)
где а – толщина режущей пластины, мм, а = (0,18-0,20)h;

3) По прочности механизма подачи станка
(3.5)
где [PS] – усилие, допустимое прочностью механизма подач станка, Н;

4) По жесткости резца
(3.6)
где f – допустимый прогиб резца, мм, для чистовой обработки f = 0,05, получистовой – 0,1, черновой 2,0 мм;
E = 1,95·105 Н/м2 – модуль упругости;

![]()
5) По жесткости детали
(3.7)
где [fД] – допустимая стрела прогиба детали, мм, fД = IT/4 = 0,1/4 = 0,025;
А – коэффициент, учитывающий жесткость крепления детали (консольное в патроне – А = 3; с опорой на задний центр – А = 48; с люнетом – А = 110);
I – момент инерции поперечного сечения детали, для цельной детали I = 0,05D4, для полой детали I = 0,05(D – d)4, где d – диаметр отверстия, I = 3039574,7;

![]()
6) По допускаемой шероховатости RZ
(3.8)
где r – радиус при вершине резца, мм;

Из вычисленных значений подачи выбирают S’, равную минимальной из величин Sp, т. е. S’ = Sp min, S’ = 0,56.
Фактическое значение подачи Sф, которая может быть установлена на станке, выбирают из ряда значений подачи Sn, указанных в паспорте, так, чтобы соблюдалось условие: Sф = S’ ≤ Sn.
При черновой обработке максимально возможную подачу выбирают исходя из прочности и жесткости технологической системы, при чистовой обработке – в зависимости от требуемой точности и шероховатости обработанной поверхности.
Определим скорость резания V:
1) По выбранному периоду стойкости, м/мин:
(3.9)
где CV – константа, зависящая от вида обработки, свойств инструментального и обрабатываемого материалов, равен 350;
KV – поправочный коэффициент на конкретные условия резания;
(3.10)
где поправочные коэффициенты, учитывающие влияние на скорость резания:
Кмv – свойств обрабатываемого материала, равен 1,17;
Киv – свойств инструментального материала, равен 0,65;
Кпv – состояния поверхности, равен 1,03;
Кφv, φ1v – угол в плане, равными 1 и 0,94 соответственно;
Кrv – радиус при вершине, равен 1;
m – показатель относительной стойкости, равен 0,2;
![]()
![]()
2) Допускаемая мощность станка, м/мин:
(3.11)
где Nэл – мощность электродвигателя, кВт, равен 10;
η – КПД станка (0,75 – 0,85), принимаем равной 0,75;
Pz – главная составляющая силы резания:
(3.12)
![]()
![]()
Если V2 > V1, необходимо выбрать станок меньшей мощности, 110,94 < 139,9, следовательно, станок выбран правильно.
Расчетное значение допустимой скорости резания Vp = Vmin, т. е. Vp = 110,94 м/мин.
Расчетное значение частоты вращения шпинделя станка определяют по формуле, мин-1:
(3.13)
где D – диаметр обрабатываемой поверхности, мм;

Фактическое значение частоты вращения шпинделя nф = nn ≤ np, nф = 262,7 где nn – паспортное значение частоты вращения шпинделя (находят из ряда частот по паспорту станка).
Фактическая скорость главного движения резания
(3.14)
![]()
Далее определим эффективную мощность, кВт:
(3.15)
![]()
Определим потребную мощность, кВт:
(3.16)
![]()
Определим коэффициент использования мощности станка:
(3.17)
где Nст – мощность станка (по паспорту станка), равна 10 кВт;
![]()
Если Кс < 0,5, необходимо выбрать станок меньшей мощности. 1 > 0,5, следовательно, станок меньшей мощности не требуется.
Определяем фактический период стойкости инструмента, мин:
(3.18)

Определяем основное технологическое (машинное) время, мин:
(3.19)
где L – длина обработки, мм, L = l1 + l + l2;
l1 = ctgφ – путь врезания, равен 0,087;
l – длина обрабатываемой поверхности;
l2 – перебег подачи резца, равный 0 – 3 мм;
i – число проходов резца; [3]
![]()
Итак, подведем итог по заданной схеме расчета режимов резания:
глубина резания t = 0,5 мм;
подача S = 0,56 мм/об;
период стойкости инструмента T = 59,97 мин;
скорость резания V = 110,94 м/мин;
основное технологическое (машинное) время Tо = 0,97 мин.
5 Выбор оборудования
Выбор групп, типов и моделей оборудования рассматривается на различных стадиях технологической подготовки производства. Выбор группы оборудования производится при назначении метода обработки поверхности, обеспечивающего выполнение технических требований к ней. Затем при разработке технологического маршрута обработки производится выбор конкретной модели станка на основании минимума приведенных затрат на рабочем месте. Для выполнения расчетов по приведенной методике необходимо располагать данными о цене, габаритах, мощности и производительности станка, т. е. уже на этом этапе проектирования технологического процесса должна быть выбрана конкретная модель станка. Таким образом, для операций, принятых на основании сравнения приведенных затрат на рабочем месте, вопрос о выборе оборудования решается уже на стадии составления маршрута механической обработки.
В данном курсовом проекте выбор оборудования будет производиться выбор оборудования на основании имеющихся типовых решений, рекомендуемых справочной литературой.
Выбор модели станка определяется, прежде всего, возможностью изготовления на нем деталей необходимых размеров и формы, качества ее поверхности. Если эти требования можно обеспечить обработкой на различных станках, определенную модель станка выбирают исходя из следующих соображений:
1) соответствия его основных размеров габаритам обрабатываемых деталей, устанавливаемых по принятой схеме обработки;
2) производительности – заданному масштабу производства;
3) возможностью работы на оптимальных режимах резания;
4) соответствия станка требуемой мощности при обработке;
5) возможности механизации и автоматизации выполняемой обработки;
6) обеспечения наименьшей себестоимости обработки.
В общем случае нужно стремиться наиболее полно использовать станки. Иногда допустимо применять станки высокой производительности, если их загрузка ниже требуемой, но себестоимость обработки деталей меньше, чем на другом, полностью загруженном станке. [2]
Для операции 010:
16К20Ф3 станок токарный патронно-центровой с ЧПУ;
для операции 015:
16К20Ф3 станок токарный патронно-центровой с ЧПУ;
для операции 020:
2Р135Ф2 сверлильный станок с ЧПУ.
6 Выбор режущего инструмента
После выбора оборудования для соответствующей механической обработки далее необходимо выбрать режущий инструмент, при помощи которого обработка и будет осуществляться. Весь режущий инструмент, кроме фрез выбираем из каталога «Pramet» [1].
Для токарных операций используем 4 инструмента:
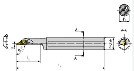
1) Инструмент DCLNR/L 3225 P 12
Используется для обработки наружных поверхностей. Этим инструментом обрабатываем поверхности 1, 2, 12.


Рисунок 2 – Режущий инструмент DCLNR/L и обозначения его габаритных размеров, и его возможности обработки поверхностей

Рисунок 3 – Габаритные размеры режущего инструмента DCLNR/L
2) Инструмент PWLNR/L A32S – PWLNR/L 08
Предназначен для обработки внутренних поверхностей. Данным режущим инструментом обрабатываем поверхности под номерами 3, 4 и 5.

Рисунок 4 – Режущий инструмент PWLNR/L и обозначения его габаритных размеров

Рисунок 5 – Габаритные размеры режущего инструмента PWLNR/L

Рисунок 6 – Возможности обработки поверхностей режущим инструментом модели PWLNR/L
3) Инструмент GG. П/Л A20R – GGER/L 0313-04
Предназначен для обработки внутренних поверхностей. Данным режущим инструментом обрабатываем поверхности под номерами 6 и 7.

Рисунок 7 – Режущий инструмент GGER/L и обозначения его габаритных размеров

Рисунок 8 – Габаритные размеры режущего инструмента GGER/L

Рисунок 9 – Возможности обработки поверхностей режущим инструментом модели GGER/L
4) Инструмент SVJBR/L A25S – SVJBR/L 11
Предназначен для обработки внутренних поверхностей. Данным режущим инструментом обрабатываем поверхность под номером 11.

Рисунок 10 – Режущий инструмент SVJBR/L и обозначения его габаритных размеров

Рисунок 11 – Габаритные размеры режущего инструмента SVJBR/L

Рисунок 12 – Возможности обработки поверхностей режущим инструментом модели SVJBR/L
7 Написание управляющей программы
При обработке заготовки на металлообрабатывающем станке инструмент совершает относительные перемещения (ходы). Совокупность перемещений, повторяющихся при изготовлении каждой детали, называется циклом обработки. Каждый цикл характеризуется величиной ходов и их последовательностью. В общем случае программа управления станком - это последовательность команд, обеспечивающих заданное функционирование его рабочих органов станка.
При ручном управлении станком необходимую последовательность команд задает рабочий, который, изучив чертеж и техническую документацию, составляет программу работ, обрабатывает заготовку, контролирует деталь, сравнивает ее с чертежом и при наличии рассогласования устраняет возникшие неточности.
При автоматическом управлении станком необходимая последовательность команд задается программоносителем, который может быть выполнен в виде материального аналога (кулачков, копиров, упоров и т. д.). Однако при смене объекта производства нужно изготовить новый программоноситель и осуществить переналадку станка. Станки с таким программным управлением обладают высокой производительностью, но время их переналадки достаточно велико.
Наибольшей гибкостью и быстротой переналадки обладают станки с ПУ, управляемые системами, задающими программу работ в алфавитно-цифровом коде. Управляющая программа (УП) может быть записана на программоносителях в виде перфоленты, перфокарты, гибких магнитных дисков, магнитной ленты. УП можно вводить и вручную, посредством клавишных панелей.
Числовое программное управление или ЧПУ – означает компьютеризованную систему управления, считывающую инструкции специализированного языка программирования (например, G-код) и управляющую приводами металло-, дерево - и пластмасообрабатывающих станков и станочной оснасткой.
Основные преимущества станков с ЧПУ:
1.Высокий уровень автоматизации производства. Случаи вмешательства оператора в работу станка сведены к минимуму.
2.Производственная гибкость. Для обработки разных деталей надо всего лишь заменить программу. Сокращаются сроки подготовки и перехода на изготовление новых деталей благодаря предварительной подготовке программ, более простой и универсальной технологической оснастке;
3.Высокая точность и повторяемость обработки. По одной и той же программе можно изготовить тысячи практически идентичных деталей.
4.Возможность обработки, которые невозможно изготовить на обычном оборудовании.
5.Производительность станка повышается в 1,5... 2,5 раза по сравнению с производительностью аналогичных станков с ручным управлением;
6.Снижается потребность в квалифицированных рабочих-станочниках, а подготовка производства переносится в сферу инженерного труда.
Наиболее распространенный язык программирования ЧПУ для металлорежущего оборудования описан документом ISO 6983 Международного комитета по стандартам (подробнее G-код). В отдельных случаях, например, системы управления гравировальными станками, язык управления принципиально отличается от стандарта.
Для станков с ЧПУ стандартизованы направления перемещения и их символика. Стандартом ISO-R841 принято за положительное направление перемещения элемента станка считать то, при котором инструмент или заготовка отходят один от другого. Исходной осью (ось Z) является ось рабочего шпинделя. Если эта ось поворотная, то ее положение выбирают перпендикулярно плоскости крепления детали. Положительно направление оси Z от устройства крепления детали к инструменту. Тогда оси X и Y расположены так, как это показано на рис.1.

Рисунок 7 – а) – расположение осей координат в станках с ЧПУ; б) – правосторонняя система координат
Для обработки детали типа диск, а именно фланец напишем УП (управляющая программа) для двух токарных и фрезерной операций. В токарной оперции пердусмотрено несколько технологических переходов. Для каждого перехода написана отдельно УП.
УП указаны на 4 листах графического материала.
Заключение
В данной курсовой работе разработана управляющая программа для обработки детали типа диск. Выполнены расчеты режимов резания, выбраны виды обработки, оборудование и режущий инструмент.
Применение обработки деталей на автоматических линиях позволяет все технологические операции осуществлять непрерывно, без участия человека. Это значительно сокращает цикл обработки, объемы межоперационных заделов и незавершенного производства, а также упрощает планирование.
Библиографический список:
1. Режущий инструмент «Прамет». Каталог инструментов. Изд. , 2015. 397 с.
2. Проектирование технологических процессов механической обработки в машиностроении: Учеб. пособие /, , ; Под ред. – Мн. : Выш. шк., 1987 – 255 с.
3. Расчет режимов резания при механической обработке: Методические указания к выполнению курсовых работ/ , , . Омский гос. ун-т путей сообщения. Омск, 2002. 33с.
4. СТП ОмГУПС – 1.2 – 2005. Работы студенческие учебные и выпускные квалификационные. Общие требования и правила оформления текстовых документов.
5. СТП ОмГУПС – 1.1 – 02. Работы студенческие учебные и выпускные квалификационные. Основные положения.
6. Справочник технолога-машиностроителя: В 2 т. / Под ред. и . 4-е изд., перераб. и доп. М.: Машиностроение, 1986. Т. 2. 496 с.



