ТИПОВАЯ ТЕХНОЛОГИЧЕСКАЯ КАРТА
УСТРОЙСТВО ПОДЗЕМНЫХ КОММУНИКАЦИЙ В УСЛОВИЯХ РЕКОНСТРУКЦИИ
1. ОБЛАСТЬ ПРИМЕНЕНИЯ
Типовая технологическая карта разработана на устройство подземных коммуникаций в условиях реконструкции.
Общие сведения
ОСОБЕННОСТИ ВЫПОЛНЕНИЯ ЗЕМЛЯНЫХ РАБОТ ПРИ ПРОКЛАДКЕ КОММУНИКАЦИЙ
Земляные работы в зоне действующих подземных коммуникаций выполняются в присутствии инженерно-технических работников (ИТР) и под наблюдением эксплуатационного персонала. Границы опасных зон, в пределах которых действует возможность поражения электрическим током подземных электрокабелей, установлены СНиП 12-04-2002(обрывы электрокабелей в практике наносят значительный ущерб народному хозяйству). Поэтому технические средства для земляных работ применяются ограниченно, а ручная разработка земляных выемок весьма трудоемка.
Места прохождения траншей действующих подземных коммуникаций легко обнаружить по нарушенной структуре грунта "целика" в самом верху траншеи. В разрезе на глубине 40-60 см, отрытом лопатой, просматриваются включения камней, щебня, кирпичного боя, грунта другой породы.
При подготовке трассы траншеи для производства механизированных земляных работ необходимо предварительно раскапывать все трубопроводы и кабели, пересекаемые траншеей, и после вскрытия нивелировать существующие коммуникации.
Обозначив установленное место прохождения действующих коммуникаций маяками, приступают к производству земляных работ экскаватором. Тип экскаватора выбирается в зависимости от требуемых размеров траншей и котлованов.
Вскрываются действующие коммуникации перед началом основных работ по прокладкам с принятием мер по их предохранению от разрушения, а в зимних условиях - от промерзания. Этот метод значительно уменьшает объемы ручного труда.
Надзор за сохранностью временных сетей, проложенных по постоянным и временным схемам, согласования по разрешению на производство земляных работ возлагаются на главного энергетика генподрядного треста.
Переносы подземных коммуникаций при реконструкции связаны со значительными объемами земляных работ, выполняемыми вручную.
В зависимости от технологических требований и условий инженерные коммуникации на отдельных участках площадки прокладываются различными способами: открытым - в одной траншее, а также на эстакадах или в галереях, в траншеях без крепления или с креплением стенок, раздельно или совмещением нескольких трубопроводов; закрытым - бестраншейной прокладкой без разработки грунта (методом прокола) и с разработкой грунта (методами продавливания, бурения, щитовой проходки). Преобладающим способом прокладки коммуникаций на площадках реконструируемых предприятий остается раздельная прокладка в траншеях. Это объясняется простотой проектирования и технологии, возможностью применения труб из различных материалов. К недостаткам данного способа относятся высокая общая трудоемкость устройства коммуникаций, большой объем земляных работ.
При пересечении траншей с действующими подземными коммуникациями механизированную разработку грунта разрешается вести на расстоянии не менее 2 м от боковой стенки и не менее 1 м над верхом трубы, кабеля и др. Грунт, оставшийся после механизированной разработки, дорабатывают вручную, без применения ударных инструментов, чтобы исключить возможность повреждения коммуникаций. Причем для обеспечения их сохранности устраивают различного вида крепления и подвески. Все эти дополнительные операции в значительной степени повышают уровень ручных работ и продолжительность строительства.
Сейчас все шире применяют совмещенный способ прокладки различных видов коммуникаций непосредственно в грунте или в проходных каналах - коллекторах. Он позволяет концентрировать в одном месте средства механизации, материалы, что обеспечивает максимальный темп производства работ, значительно уменьшает объем земляных работ на рабочей площадке, предельно упрощает замену коммуникаций и их техническое обслуживание во время эксплуатации.
Коллекторы устраиваются из железобетонных L-образных стен, замоноличиваемых с днищем и плитами перекрытия. Внутри них на специальных опорах, закрепленных в днище и в стенах на разной высоте, прокладывают трубопроводы различного назначения (рис.1).

Рис.1. Схема проходного коллектора с размещением в нем инженерных сетей:
1 - кабели связи; 2 - электрокабели; 3 - водопровод; 4, 5 - подающий и обратный теплопроводы
2. ОРГАНИЗАЦИЯ И ТЕХНОЛОГИЯ ВЫПОЛНЕНИЯ РАБОТ
Разработаны и применяются способы производства земляных работ для преодоления препятствий на трассах при расширении и реконструкции предприятий.
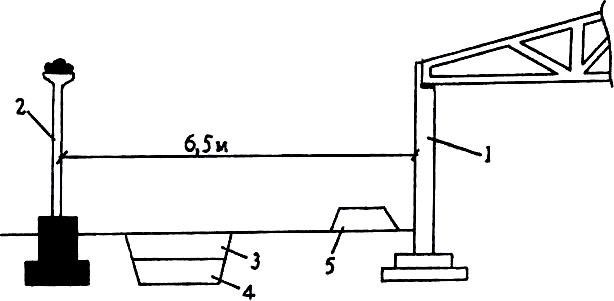
1. При одиночных препятствиях (опоры, мачты, деревья, колонны), находящихся в радиусе действия экскаватора, траншею раскапывают в направлении движения экскаватора, необходимо предусмотреть меры против обрушения препятствия (опоры) в траншею (рис.2).

Рис.2. Схема устройства траншеи:
1, 3 - направление движения экскаватора; 2 - отрываемая траншея; 4 - под кабелем работы ведутся вручную; 5 - действующий электрокабель; 6 - опора, мешающая повороту платформы экскаватора; 7 - экскаватор
2. При групповых препятствиях с двух сторон траншеи.
При рытье траншей между зданием цеха и опорами межцеховых коммуникаций грунт от верхней части траншеи перемещают бульдозером вне зоны препятствий, затем траншею дорабатывают до проектных отметок экскаватором, находящимся в верхней части траншеи. Отвалы грунта от нижней части траншеи размещают на ее бровке. В зависимости от глубины траншеи выбираются бульдозер и экскаватор (рис.3).

Рис.3. Схема устройства траншеи:
1 - промышленное здание; 2 - опоры межцеховых коммуникаций; 3 - верхняя часть траншеи (отрывается бульдозером или скрепером); 4 - нижняя часть траншеи (отрывается экскаватором); 5 - место отвала грунта
3. При производстве земляных работ под трубопроводы используют бульдозеры для снятия верхнего слоя грунта глубиной 0,5-0,8 м с погрузкой в автосамосвал.
4. При пересечении коммуникаций на глубине 3-5 м и более (если расстояние между коммуникациями больше ширины ковша землеройного механизма в 2-3 раза) участок между коммуникациями отрывается гидравлическим экскаватором с предварительным вскрытием существующих подземных коммуникаций (рис.4).

Рис.4. Схема раскопки траншеи между существующими коммуникациями:
1 - существующие коммуникации; 2 - экскаватор; 3, 4 - направление движения экскаватора; 5 - расстояние между существующими коммуникациями; 6 - ширина ковша экскаватора
Под пучком действующих коммуникаций грунт разрабатывают вручную лопатой или пробивкой штольни. Грунт от разработки штолен складывают в ближайший приямок, предварительно отрытый экскаватором (а не выбрасывают на бровку траншеи, рис.5).

Рис.5. Схема устройства траншеи под пучком действующих коммуникаций:
1, 2 - приямки, отрытые экскаватором на всю глубину для складирования грунта, разработанного вручную под коммуникациями; 3, 4, 5 - существующие коммуникации
С целью уменьшения объемов ручных земляных и монтажных работ в районах действующих железнодорожных путей следует использовать железнодорожные краны с грейферными ковшами и крановым оборудованием (рис.6).

Рис.6. Схема устройства траншеи между зданием и железнодорожными путями:
1 - грейферный кран на железнодорожной платформе; 2 - отвал; 3 - отрываемая траншея
Прокладку труб производят по мере выполнения обратной засыпки котлованов до отметки низа трубопроводов, последовательного уплотнения грунтов под ними либо устройства опор под трубопроводы во избежание нежелательных осадок.
3. ТРЕБОВАНИЯ К КАЧЕСТВУ ВЫПОЛНЕНИЯ РАБОТ
Контроль выполняемых работ, их состав, способы и средства, а также допускаемые отклонения приведены в схеме операционного контроля качества (табл.3.1).
Таблица 3.1
Схема операционного контроля качества земляных работ
Контролируемая операция | Требования | Способ и средства контроля | Кто и когда контроли - рует | Кто привлекается к контролю |
I. Отрывка выемок | ||||
1.1. Очистка территории | Отсутствие посторонних предметов, камней и т. д. | Визуально | Мастер | Представитель заказчика |
1.2. Отвод поверхностных грунтовых вод | Соответствие проекту, отсутствие притока воды на уровне выемок | Визуально | Мастер | - |
1.3. Форма, расположение и размеры выемки | Соответствие проекту +5 см | Визуально, метр, рулетка | Мастер | - |
1.4. Величина недобора грунта | Мастер | - | ||
1.5. Состояние откосов выемки | +1 см | Визирка, метр | Мастер | Инспектор технадзора |
II. Обратная засыпка выемок | ||||
2.1. Грунт для засыпки | Не допускается наличие обломков отмостки, включение в грунт инородных предметов | Визуально | Мастер | - |
2.2. Разравнивание слоев | Соответствие проекту | Визуально | Мастер | |
2.3 Уплотнение слоев | Соответствие проекту | Визуально | Мастер | - |
4. МАТЕРИАЛЬНО-ТЕХНИЧЕСКИЕ РЕСУРСЫ
Машины, приспособления, инвентарь и инструменты приведены в табл.4.1.
Таблица 4.1
Машины, приспособления, инвентарь, инструменты
Наименование | Тип, марка | Кол-во | Техническая характеристика |
1 | 2 | 3 | 4 |
Гидравлические экскаваторы | ЭО 3322Б и ЭО-4321 | 2 | Обратная и прямая лопата, радиус копания - 0,8 м |
Легкий экскаватор | ЭО-2621 | 1 | На базе трактора "Беларусь-ЮМЗ-6К" |
Малогабаритные бульдозеры | 1 | На базе тракторов Т-54В или на специальном шасси | |
Микробульдозер | МБ-4 | 1 | |
Автосамосвал | ЗИЛ-555 | 1 | |
Погрузчик | 1 | ||
Гидромолот | СП-71А | 1 | |
Гидромолот | СП-62ХЛ | 1 | |
Малогабаритный бульдозер | УЗБТ-54В | 1 | На базе трактора Т-54В |
Подвесная вибротрамбовка | ПВТ-3, ВТМ-2 | 2 | |
Глубинный вибратор | ВУПП-4 | 1 | |
Гидровибрационное оборудование | С-629 | 1 | |
Электроотбойный молоток | ГОСТ 4896-76 | 1 | |
Компрессорная установка | ДП-10 | 1 | |
Электротрамбовка | 500x460 мм, производительность 50 м | ||
Вибрационная плита | БУР-31,5 | 1 | Производительность 750 м |
Ручные носилки | - | 4 | |
Подборочная лопата | ЛП, ГОСТ 3620-76 | 4 | |
Приставная лестница | Инвентарная | 2 | |
Штыковая лопата | ЛР, ГОСТ 3620-76 | 4 | |
Металлическая рулетка | ГОСТ 7502-98; РЗ-10 | 1 | |
Защитные очки | ГОСТ 12.4.087-84 | 4 | |
Монтажная каска | С-12, | 13 | |
Аптечка | ТУ 67-4-125-72 | 1 | |
Рукавицы | ГОСТ 20010-93 | 14 | |
Ящик инструментальный | ГОСТ 2310-77 | 3 | |
Нивелир | НТ, ГОСТ 10528-90 | 1 | |
Рейка нивелирная | 1 | ||
Метр складной | МСМ-74; | 3 | |
Топор строительный | А-2, ГОСТ 18578-89 | 2 | |
Лом монтажный | ЛМ-24; ЛМ-32 | 4 | |
Кувалда | ГОСТ 11401-75 | 2 |
5. ОХРАНА ОКРУЖАЮЩЕЙ СРЕДЫ И ПРАВИЛА ТЕХНИКИ БЕЗОПАСНОСТИ
ТЕХНИКА БЕЗОПАСНОСТИ ПРИ ПРОИЗВОДСТВЕ ЗЕМЛЯНЫХ РАБОТ
Земляные работы, выполняемые в условиях реконструкции, относят к работам повышенной опасности, поэтому они должны производиться по нарядам-допускам под контролем мастера.
Работы следует выполнять с учетом СНиП 12-03-2001 и СНиП 12-04-2002 "Безопасность труда в строительстве". Части 1, 2.
Мероприятия по технике безопасности при производстве земляных работ на действующих предприятиях и в цехах разрабатываются и утверждаются заказчиком и генеральным подрядчиком.
Ответственность за их соблюдение несут руководители строительно-монтажных организаций и действующего предприятия. При несоблюдении заказчиком утвержденных мероприятий по технике безопасности, в результате чего создаются условия, угрожающие жизни и здоровью работающих, работы должны быть приостановлены до устранения опасности. Прекращение работы оформляется актом.
Работники действующего или реконструируемого предприятия должны пройти инструктаж по правилам безопасного поведения в зоне производства СМР.
Основанием для производства работ в действующем цехе должен быть приказ (распоряжение) по предприятию (цеху) с указанием лиц, ответственных за подготовку оборудования и конструкций к указанным работам, за проведение мероприятий, необходимых для обеспечения безопасности этих работ и оперативной связи с подрядчиком.
Для обеспечения безопасности занятых на выполнении рабочих и персонала предприятия рабочая зона должна быть ограждена. Находящиеся в ней силовые линии, коммуникации и технологическое оборудование необходимо перенести или оградить. При производстве работ в условиях действующего цеха инженерные сети должны быть, как правило, отключены, закорочены, а оборудование и технологические трубопроводы освобождены от взрывоопасных, горючих, токсичных веществ и нейтрализованы. Производство земляных работ в зоне расположения подземных коммуникаций допускается только с письменного разрешения организации, ответственной за эксплуатацию этих коммуникаций. Разрабатывать грунт в непосредственной близости от действующих подземных коммуникаций допускается только лопатами без резких ударов. Пользоваться ударными инструментами запрещается.
Для прохода рабочих в котлованы и траншеи следует устанавливать стремянки шириной не менее 0,6 м с перилами или приставные лестницы. Котлованы и траншеи в местах, где происходит движение людей и транспорта, должны быть ограждены.
Запрещается установка строительных и транспортных машин и различного оборудования в пределах призмы обрушения грунта выемки.
При устройстве выемок с креплением машины и оборудование могут находиться в пределах призмы обрушения, что должно обосновываться соответствующими расчетами, учитывающими прочность крепления и величину нагрузки.
Стенки котлованов и траншей, разрабатываемых землеройными машинами, должны крепиться непосредственно за разработкой грунта.
При разработке котлована экскаватор во время работы нужно устанавливать на спланированной площадке; во избежание самопроизвольного перемещения необходимо закреплять его инвентарными упорами. Во время перерыва в работе экскаватор следует переместить от края котлована на расстояние не менее 2 м, а ковш опустить на грунт.
При работе экскаватора не разрешается находиться людям в радиусе действия экскаватора 5 м, а также производить какие-либо другие работы со стороны забоя. Совмещать земляные работы с другими работами в котловане можно только в соответствии с разработанными технологическими картами.
Односторонняя обратная засыпка фундаментов и стен допускается лишь после достижения бетоном необходимой прочности. Уплотнять грунт трамбованием вблизи подпорных стен фундаментов и других конструкций нужно на расстоянии и в порядке, указанных в проекте производства работ.
При разработке объектных стройгенпланов следует определить планы передвижения людей к рабочим местам, зоны действия машин, механизмов и оборудования, хранения взрывоопасных и горючих материалов; при необходимости предусмотреть изоляцию зоны в действующем цехе.
ОХРАНА ОКРУЖАЮЩЕЙ СРЕДЫ
Существующие (сохраняемые) на строительной площадке деревья и кустарники должны быть защищены от случайного повреждения на весь период строительства. Запрещается использование деревьев для подвески электрокабелей, осветительной арматуры и т. п.
На строительной площадке запрещается сжигание мусора, приготовление горячих битумных и иных мастик с использованием открытого огня.
Хранение пылящих материалов (цемента, извести и т. п.) должно осуществляться в закрытых емкостях. Их доставка на строительную площадку должна осуществляться в герметичной таре.
Не допускается попадание в грунт вяжущих веществ, солевых и иных агрессивных растворов, горюче-смазочных материалов.
Строительный мусор собирать в контейнеры и вывозить на санкционированную площадку приема мусора. С этажейстроительный мусор спускать по лоткам. Сбрасывать строительный мусор запрещается.
На выезде со строительной площадки (см. стройгенплан) организовать площадку мойки машин.
По окончанию строительства необходимо в полном объеме выполнить работы по благоустройству согласно проекту.
6. ГРАФИК ПРОИЗВОДСТВА РАБОТ
Таблица 6.1
График производства работ
N п/п | Наименование работ | Ед. изм. | Объем работ | Трудо - емкость на ед. изм., человеко- часов | Трудо - емкость на весь объем работ, человеко - дней | Состав бригады | Порядковые дни | ||||||||
Профессия и разряд | Кол-во чел. | 1 | 2 | 3 | 4 | 5 | 6 | 7 | 8 | ||||||
1 | Срезка растительного слоя | 100 м | 135 | 1,3 | 21,94 | землекоп - 2 р. | 4 | - | - | - | - | - | |||
2 | Разработка грунта экскаватором | м | 0,75 | 2,6 | 10,7 | машинист - 6 р. землекоп - 2 р. | 1 | - | - | - | |||||
3 | Разработка грунта вручную - в отвал | м | 49 | 0,85 | 2 | ||||||||||
4 | Переноска грунта вручную | 100 т | 112 | 1,1 | 25,3 | подсобник - 1 р. | 4 | - | - | - | - | - | |||
5 | Обратная засыпка пазух механизированно | м | 0,62 | 0,66 | 2,68 | машинист - 6 р. землекоп - 2 р. | 1 | - | |||||||
6 | Обратная засыпка пазух (вручную) | 100 м | 42 | 0,5 | 2 | ||||||||||
7 | Уплотнение грунта механизированно | м | 62 | 1,7 | 0,3 | машинист - 5 р. землекоп - 2 р. | 1 | - | |||||||
8 | Уплотнение грунта электротрамбовкой | 100 м | 42 | 2,3 | 1 |
7. ТЕХНИКО-ЭКОНОМИЧЕСКИЕ ПОКАЗАТЕЛИ
Таблица 2
Калькуляция трудовых затрат
N п/п | Обоснование | Наименование работ | Состав звена | Ед. изм. | Объем работ | На весь объем | На единицу изм. | ||
Норма времени, человеко - часов, машино- часов | Расценки, руб., коп. | Трудо - емкость, человеко - часов, машино - часов | Сумма, руб., коп. | ||||||
1 | 2 | 3 | 4 | 5 | 6 | 7 | 8 | 9 | 10 |
1 | п.2-1-47А т.1, 1е | Срезка растительного слоя | землекоп | м | 135 | 1,3 | 0,832 | 175,5 | 112,3 |
2 | п.2 1 13 т.1А т.2; 4а | Разработка грунта экскаватором | машинист | 100 м | 0,75 | 2,6 | 2,76 | 3,22 | 3,42 |
3 | п.2-1-47Б т.2; 1Д | Разработка грунта вручную - в отвал | землекоп | м | 49 | 0,85 | 0,544 | 82,45 | 52,77 |
4 | п.1-19 N 1А | Переноска грунта вручную | подсобник | т | 112 | 1,1 | 0,649 | 202,4 | 119,42 |
5 | п.2-1-34; 1а | Обратная засыпка пазух механизированно | машинист | 100 м | 0,62 | 0,66 | 0,601 | 0,41 | 0,37 |
6 | п.2-1-58 т.2; 4а | Обратная засыпка пазух (вручную) | землекоп | м | 42 | 0,5 | 0,308 | 21 | 12,94 |
7 | п.2-1-33 10 | Уплотнение грунта механизированно | машинист | 100 м | 0,42 | 1,7 | 1,55 | 0,71 | 0,65 |
8 | п.2-1-59 т.1; 2; 3 N 1А | Уплотнение грунта электротрамбовкой | землекоп | 100 м | 0,62 | 2,3 | 1,61 | 1,43 | 1,00 |
Итого | 487,12 | 302,87 |
СПИСОК ЛИТЕРАТУРЫ
СНиП 3.02.01-87 "Земляные сооружения. Основания и фундаменты".
СНиП 3.03.01-87. Несущие и ограждающие конструкции.
СНиП 12-03-2001 Безопасность труда в строительстве. Ч.1. Общие требования.
СНиП 12-04-2002. Безопасность труда в строительстве. Ч.2. Строительное производство.
СНиП 12-01-2004 "Организация строительства".
СНиП 12-03-2001. Строительство. Электробезопасность. Общие требования.
ГОСТ 12.1.044-89. ССБТ. Пожаровзрывоопасность веществ и материалов. Номенклатура показателей и методы их определения.
ГОСТ 12.2.003-91. ССБТ. Оборудование производственное. Общие требования безопасности.
ГОСТ 12.3.009-76. ССБТ. Работы погрузочно-разгрузочные. Общие требования безопасности.
ГОСТ 12.3.033-84. ССБТ. Строительные машины. Общие требования безопасности при эксплуатации.
ГОСТ 12.1.003-83 ССБТ. Шум. Общие требования безопасности.
ГОСТ 12.1.004-91 ССБТ. Пожарная безопасность. Общие требования.
ГОСТ 12.1.005-88 ССБТ. Общие санитарно-гигиенические требования к воздуху рабочей зоны.
ГОСТ 12.4.011-89 ССБТ. Средства защиты работающих. Общие требования и классификация
ГОСТ 12.4.059-89 ССБТ. Строительство. Ограждения защитные инвентарные. Общие технические условия.
ГОСТ 12.2.013.0-91 ССБТ. Машины ручные электрические. Общие требования безопасности и методы испытаний.
При разработке авторского материала использованы: техническая документация и справочная информация справочно-консультационной системы "Стройтехнолог".
Электронный текст документа подготовлен ЗАО "Кодекс"
и сверен по авторскому материалу.
Автор: А. - к. т.н, преподаватель
Военного инженерно-технического университета,
Санкт-Петербург, 2010
Основные порталы (построено редакторами)

