
ГОСУДАРСТВЕННЫЙ СТАНДАРТ СОЮЗА ССР
ТРАНСПОРТНЫЕ ПАКЕТЫ
И БЛОК-ПАКЕТЫ ПИЛОПРОДУКЦИИ
Пакетирование, маркировка,
транспортирование и хранение
ГОСТ
(СТ СЭВ 2373-80)
Москва
ИПК ИЗДАТЕЛЬСТВО СТАНДАРТОВ
1996
ГОСУДАРСТВЕННЫЙ СТАНДАРТ СОЮЗА ССР
ТРАНСПОРТНЫЕ ПАКЕТЫ И БЛОК-ПАКЕТЫ ПИЛОПРОДУКЦИИ Пакетирование, маркировка, транспортирование и хранение Transportation packages and multi-packages of sawn timber. Packaging, marking, transportation and storage | ГОСТ (СТ СЭВ 2373-80) |
Дата введения 01.01.87
Настоящий стандарт распространяется на транспортные пакеты и блок-пакеты пилопродукции из древесины хвойных и лиственных пород, изготовляемые для нужд народного хозяйства и для экспорта, и устанавливает требования к их пакетированию, маркировке, транспортированию и хранению.
Стандарт не распространяется на пакеты из обапола, из деталей деревянной тары, из авиационных пиломатериалов и заготовок.
Определение терминов, применяемых в стандарте, приведено в приложении 1.
1. ПАКЕТИРОВАНИЕ
1.1. Форма и размеры пакета и блок-пакета
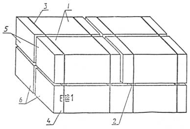
1.1.1. Пакет и блок-пакет пилопродукции должны быть прямоугольного поперечного сечения и иметь один или оба выровненных торца (черт. 1-3).
1 - ряд; 2 - стопа; 3 - прокладка; 4 - обвязка; 5 - ярлык; 6 - маркировка
Черт. 1
Допускается применение пакета с уступчатой формой одного торца (черт. 1 в, г).
1 - маркировка; 2 - обертка
Черт. 2
При железнодорожных перевозках пилопродукции для заполнения верхней суженной части железнодорожного габарита погрузки допускается применять пакеты трапециевидного сечения.
При формировании блок-пакета в нижний ряд укладывают длинные пакеты, укладывание коротких пакетов производится только в верхних рядах (черт. 3).
(Измененная редакция, Изм. № 3).
1 - пакеты; 2 - прокладка; 3 - обвязка; 4 - маркировка; 5 - верхний ряд пакетов; 6 - нижний ряд пакетов
Черт. 3
1.1.2. Размеры поперечного сечения пакетов и блок-пакетов - по ГОСТ .
1.1.3. Длина пакета и блок-пакета определяется максимальной длиной пиломатериалов, из которых они формируются.
1.2. Состав пакета и блок-пакета
1.2.1. В пакет должна быть уложена пилопродукция одного сорта, одной ширины и толщины.
Примечание. Пиломатериалы, относящиеся к группе бессортных, считают за один сорт.
Породный состав укладываемой в пакет пилопродукции должен соответствовать требованиям стандартов на эту пилопродукцию.
С согласия потребителя допускается укладывание в пакет пилопродукции разных сортов и ширин при условии сохранения одинаковой ширины всех рядов в пакете.
1.2.2. В пакет укладывают пилопродукцию не более четырех смежных длин.
Допускается укладывать в пакет пилопродукцию со стыкованием по длине. При этом в крайние стопы и два-три нижних ряда пакета укладывают пилопродукцию максимальной длины без стыкования. При формировании пакета со стыкованием по длине из тонких пиломатериалов в один - два нижних ряда укладывают пиломатериалы толщиной 32 мм и более. В средней части крайних стоп, кроме двух-трех верхних и нижних рядов, допускается через ряд укладывать пиломатериалы и заготовки со стыкованием по длине. При формировании пакета пиломатериалов, вырабатываемых по ГОСТ и ГОСТ 9302-83, стыкование по длине не допускается.
При пакетировании пиломатериалов для экспорта в пакеты должны укладываться пиломатериалы одной длины. По согласованию с внешнеторговым объединением допускается укладывание в пакет пиломатериалы двух или трех смежных длин.
(Измененная редакция, Изм. № 3).
1.2.3. Блок-пакет должен состоять из пакетов одинаковой ширины и высоты, принадлежащих к одной отгрузочной партии.
1.2.4. При пакетировании пилопродукции толщиной 32 мм и более в пакетах высотой 850 мм и более должно быть два ряда прокладок, укладываемых через 1/3 высоты, в пакетах высотой менее 850 мм - один ряд прокладок, укладываемых через 1/2 высоты; при пакетировании пилопродукции толщиной менее 32 мм - соответственно три ряда прокладок через 1/4 высоты и два ряда прокладок через 1/3 высоты.
Толщина прокладок должна быть 10-25 мм, а ширина - не менее 40 мм. В одном ряду должны быть прокладки одной толщины.
При пакетировании пилопродукции допускается применять в качестве прокладок пилопродукцию, из которой формируется пакет, если толщина и длина ее не превышают размеров стандартных прокладок.
1.2.5. Количество прокладок в ряду по длине пакета должно быть:
для пакетов длиной до 3, 75 м - 2 шт.;
для пакетов длиной от 3,9 до 5,5 м - 3 шт.;
для пакетов длиной от 5,7 и более - 4 шт.
1.2.6. Крайние прокладки размещают от торцов пакета на расстоянии 0,3-0,5 м - в пакетах длиной до 4,0 м включ.; 0,5-0,9 м - в пакетах длиной более 4,0; средние - приблизительно на одинаковом расстоянии друг от друга и от крайних. При укладывании в пакет пилопродукции нескольких длин в соответствии с п.1.2.2крайние прокладки размещают на расстоянии не более 0,3 м от торца пилопродукции наименьшей длины.
Шпалы укладывают в пакет без прокладок.
(Измененная редакция, Изм. № 3).
1.2.7. Пакеты в блок-пакете разделяют прокладками толщиной от 50 до 75 мм и шириной не менее 75 мм.
Количество прокладок по длине блок-пакета должно быть таким же, как и в пакетах. Если верхний ряд блок-пакета сформирован из коротких пакетов, то каждый пакет должен опираться не менее, чем на две прокладки.
1.2.8. Концы прокладок не должны выступать за боковые поверхности пакетов и блок-пакетов.
Древесина прокладок не должна иметь мягкой гнили, а для экспортных материалов также коры и червоточины.
Влажность древесины прокладок не должны быть выше влажности пакетируемой пилопродукции.
1.3. Средства пакетирования
1.3.1. Для формирования пакета пилопродукции применяют многооборотные средства пакетирования (стропы) по ГОСТ и (или) одноразовые средства пакетирования (обвязки).
При транспортировании пакетов (блок-пакетов) пилопродукции в смешанном железнодорожно-водном сообщении должны применяться стропы по ГОСТ .
Допускается применение одноразовых средств пакетирования.
(Измененная редакция, Изм. № 2).
1.3.2. Количество строп на пакете должно быть равно двум.
1.3.3. Обвязки должны быть изготовлены из стальной холоднокатаной низкоуглеродистой нагартованной ленты нормальной точности изготовления поГОСТ3560-73, шириной 20 мм и толщиной 0,5 мм с временным сопротивлением разрыву не менее 600 Н/мм2 или стальной проволоки по ГОСТ3282-74диаметром 4 мм с временным сопротивлением разрыву не менее 300 Н/мм2.
Количество обвязок на пакете должно быть равно количеству вертикальных рядов прокладок.
Обвязки должны быть расположены на пакете в местах размещения прокладок или рядом с ними на расстоянии, не превышающем ширины последних.
В зависимости от вида соединения концов ленты устанавливаются два типа обвязок: с пломбовым и с беспломбовым соединениями.
Соединение концов проволочной обвязки производится путем скручивания ее концов.
Усилие натяжения обвязки должно быть не менее 2000 Н.
Концы разовых обвязок из стальной ленты и ее заменителей должны быть прижаты к пакету и иметь длину не долее 100 мм.
(Измененная редакция, Изм. № 3).
1.3.4. При формировании пакетов пилопродукции допускается применять брусково-проволочную обвязку. Обвязка состоит из двух деревянных брусков (верхнего и нижнего) сечением 50´50 мм, длина которых на 100 мм больше ширины пакета, и из двух боковых проволочных стяжек из проволоки по ГОСТ3282-74диаметром 4 мм в две нити. Пакеты длиной 4-6,5 м скрепляют тремя обвязками, более короткие - двумя. Две крайние обвязки устанавливают на расстоянии 0,3-0,9 м от концов пакета, а третья - посередине пакета.
1.3.5. Обвязки из стальной проволоки и брусково-проволочные обвязки не применяются при формировании транспортных пакетов пилопродукции для экспорта.
1.3.6. Допускается применение других обвязочных материалов, по прочности соответствующих указанным.
1.3.7. Контроль на соответствие обвязок требованиям настоящего стандарта предприятие-поставщик пиломатериалов должен осуществлять во время приемо-сдаточных испытаний пакетов упакованной пилопродукции. При этом испытаниям подвергают 5% обвязок от общего их количества, но не менее 6.
1.3.8. Проверка на соответствие усилия ее натяжения требованию настоящего стандарта производится прибором ИН-400 или по величине прогиба при оттягивании с усилием 100 Н в середине боковой ветви. Величина прогиба должна быть не более 10 мм на длине 1 м.
1.3.9. Пакетирование пилопродукции, предназначенной для районов Крайнего Севера и труднодоступных районов - по ГОСТ.
1.3.10. При отгрузке сухой пилопродукции (с влажностью не более 22%) пакет обертывается водонепроницаемой бумагой (черт 2б) или в пакете прокладывается водонепроницаемая бумага или пленка под верхний ряд пилопродукции).
2. МАРКИРОВКА
2.1. Пакет пилопродукции должен иметь ярлык размером 80´120 мм, на котором средствами, обепечивающими сохранность маркировки, наносят следующие реквизиты:
наименование грузополучателя;
наименование пункта назначения;
наименование предприятия-изготовителя или его товарный знак;
наименование пилопродукции с указанием сорта (группы качества), породы древесины, размеров поперечного сечения, мм;
количество пилопродукции в пакете или блок-пакете, м3;
обозначение стандарта на пилопродукцию.
Для шпал дополнительно указывают их тип без указания размера поперечного сечения.
Ярлык должен быть изготовлен из древесно-волокнистой плиты, бумаги или фанеры, вложен в прозрачный водонепроницаемый конверт и крепиться проволокой или шпагатом к пакету в наиболее удобных, хорошо просматриваемых местах. Пример заполнения ярлыка дан в обязательном пр.2
(Измененная редакция, Изм. № 1, 3).
2.2. Маркировка пакета обрезной пилопродукции для экспорта должна наносится на верхнюю и боковую поверхности пакета с правой стороны от выравненного торца на расстоянии 75-100 мм от верхнего правого ребра и торца (см. черт1а и 2б).
Маркировку наносят несмываемой краской в одну строку, высота букв и цифр 100 мм. Расстояние между маркировочными знаками (наборами букв, цифр, символов) должно быть не менее 100 мм. По согласованию с потребителем высота букв и цифр допускается 45 мм. Допускаемое отклонение по высоте маркировочных знаков +5 мм.
Маркировка пакета необрезной пилопродукции, предназначенной для экспорта, должна наноситься на ярлык или на верхних ряд пакета на расстоянии 75-100 мм от правого бокового ребра.
Маркировка пакета должна содержать следующие реквизиты:
товарный знак В/О "Экспортлес" (черт4);
номер партии (коносамента);
номер пакета;
сечение пиломатериалов, мм;
длину пакета, м;
штамп технического контроля;
штамп КD (сведение о камерной сушке).
(Измененная редакция, Изм. № 1).
Товарный знак В/О "Экспортлес"
Черт 4.
2.3. Маркировка блок-пакета обрезной пилопродукции должна наноситься на боковую поверхность нижнего пакета на уровне 2/3 высоты пакета и на расстоянии 150 мм от торца.
Высота букв и цифр - 100 мм.
Маркировка блок-пакета необрезной пилопродукции должна наноситься на ярлык, который крепится сбоку блок-пакета к его крайней обвязке.
На ярлыке должны быть указаны:
маркировочный знак изготовителя;
номер блок-пакета.
3. ТРАНСПОРТИРОВАНИЕ И ХРАНЕНИЕ
3.1. Пакетированная пилопродукция транспортируется транспортом всех видов в соответствии с правилами перевозки грузов и Техническими условиями погрузки и крепления грузов, утвержденными МПС.
(Измененная редакция, Изм. № 3).
3.2. Пакеты и блок-пакеты сухой пилопродукции при погрузке, транспортировании и выгрузке должны быть защищены от атмосферных осадков.
3.3. Пакеты и блок-пакеты сухой пилопродукции должны храниться в закрытых складах. Допускается ее хранение на открытых складах, если пакеты и блок-пакеты защищены водонепроницаемой бумагой или пленкой, или, в случаях, когда штабеля пакетов и блок пакетов закрыты крышами и боковыми щитами.
3.4. Формирование штабелей пакетов и блок-пакетов пилопродукции, выбор и подготовка территории склада должны соответствовать требованиям.
В закрытых складах высота фундамента должна быть не менее 300 мм.
ПРИЛОЖЕНИЕ 1
Справочное
ТЕРМИНЫ, ПРИМЕНЯЕМЫЕ В СТАНДАРТЕ, И ИХ ОПРЕДЕЛЕНИЯ
1. Транспортный пакет - по ГОСТ .
2. Транспортный блок-пакет - по ГОСТ .
3. Ряд пакета пилопродукции - пилопродукция одной толщины, уложенная на пласть кромками друг к другу с выравненными торцами с одной или двух сторон.
4. Стопа пакета пилопродукции - пилопродукция одной толщины, а для заготовок и обрезных пиломатериалов и одной ширины, уложенная пластью друг на друге с выравненными торцами с одной или двух сторон.
5. Прокладка пакета и блок-пакета пилопродукции - элемент связи стоп в пакете и блок-пакете деревянной планки.
6. Обвязка - по ГОСТ .
7. Обертка - упаковочный элемент, обеспечивающий защиту пиломатериалов в пакете и блок-пакете от вредного атмосферного воздействия и загрязнения.
8. Маркировка - по ГОСТ
ПРИЛОЖЕНИЕ 2
Обязательное
ПРИМЕР ЗАПОЛНЕНИЯ ЯРЛЫКА
на пилопродукцию, изготовленную для нужд народного хозяйства
Лидские железнодорожные мастерские
Лида, Белорусской
Беломорский ЛДК
Пиломатериалы I сорта, сосна, 25´100
6,4 м3
ГОСТ 8486-86
ИНФОРМАЦИОННЫЕ ДАННЫЕ
1. РАЗРАБОТАН Министерством лесной, целлюлозно-бумажной и деревообрабатывающей промышленности СССР
РАЗРАБОТЧИКИ
, канд. техн. наук;
2. УТВЕРЖДЕН И ВВЕДЕН В ДЕЙСТВИЕ Постановлением Государственного комитета СССР по стандартам от 20.12.85 № 000







