Рекомендуемое
Методы испытаний
1. Метод экспериментального определения скорости распространения пламени горючих твердых веществ (гранул, порошков, паст)
1.1. Метод отбора проб
Отбор проб исследуемого вещества проводят в соответствии с требованиями нормативно-технической документации на данное вещество. Проба должна характеризовать средние свойства исследуемого вещества.
1.2. Аппаратура, материалы
Прибор (черт.15), состоящий из:
емкости длиной (250
1) мм треугольного сечения. Высота равнобедренного треугольника в поперечном сечении емкости (10
1) мм, длина основания - (20
1) мм;
двух металлических пластинок длиной (250
1) мм, шириной (16
1) мм и толщиной (0,5
0,1) мм;
пластины из негорючего материала низкой теплопроводности (например, из асбестового картона) длиной (250
1) мм, шириной (20
1) мм, толщиной (2,0
0,2) мм.
Линейка измерительная металлическая по ГОСТ 427-75.
Горелка газовая диаметром сопла 7 мм.
Секундомер, класс точности 3.
Спиртовка.
1.3. Подготовка к испытанию
Две металлические пластины устанавливают в форму в качестве боковых ограничителей так, чтобы они выступали над верхним краем формы примерно на 2 мм. Форму заполняют веществом до уровня ограничительных пластин и трижды сбрасывают с высоты 20 мм на твердую поверхность. Затем боковые ограничители удаляют и на верх формы укладывают пластину низкой теплопроводности. Прибор переворачивают и форму удаляют. Пастообразное вещество скатывается на негорючей поверхности в шнур длиной 250 мм и диаметром около 12 мм.
1.4. Проведение испытания
Образец исследуемого вещества зажигают пламенем спиртовки, поднося его с внешней стороны. Высота пламени спиртовки - (55
10) мм, максимальная продолжительность действия пламени спиртовки - 30 с.
Отсчет времени распространения пламени начинают от отметки, расположенной на расстоянии не менее 50 мм от точки зажигания, в месте, где образован единый фронт распространения пламени.
Секундомером определяют время распространения пламени на расстоянии 200 мм от начала отсчета. Испытание повторяют три раза.
Если в течение 30 с спиртовка не поджигает образец исследуемого вещества, проводят дополнительное испытание, используя в качестве источника зажигания газовую горелку и увеличивая время воздействия пламени газовой горелки до 120 с. Дополнительное испытание повторяют три раза.
1.5. Обработка результатов
Скорость распространения пламени (СРП) в миллиметрах в секунду в каждом испытании вычисляют по формуле
СРП=![]()
где 200 - длина пути, пройденного фронтом пламени, мм;
время, с.
За результат испытания принимают среднее арифметическое трех параллельных определений. Допустимое расхождение между наиболее отличающимися результатами, полученными одним оператором при одинаковых условиях испытаний, не должно отличаться более, чем на 15%.
В протоколе испытаний указывают:
наименование вещества и нормативно-техническую документацию на продукцию, химическую формулу, наименование предприятия-изготовителя и т. п.;
условия испытаний (температуру воздуха, влажность, атмосферное давление и т. п.);
время горения исследуемого вещества в каждом испытании;
значение скорости распространения пламени в каждом испытании;
среднее арифметическое значение скорости распространения пламени;
класс, подкласс и степень опасности.
1.6. Требования безопасности
Прибор для определения распространения пламени следует устанавливать в специальном шкафу, оборудованном вытяжной вентиляцией. При испытании ядовитых веществ или веществ, выделяющих при горении и термическом разложении ядовитые пары или газы, скорость движения воздуха в открытом проеме вытяжного шкафа должна быть не менее 1,5 м/с.
В процессе подготовки образцов исследуемого вещества и проведения испытаний применяют индивидуальные средства защиты, выбираемые в соответствии со свойствами исследуемого вещества.
Оператор должен быть защищен прозрачным защитным экраном.
Рабочее место оператора должно удовлетворять санитарно-гигиеническим требованиям по ГОСТ 12.1.005-88.
2. Методы экспериментального определения пирофорности веществ и склонности веществ и материалов к самовозгоранию
2.1. Метод отбора проб (см. п.1.1)
2.2. Аппаратура и материалы
Весы лабораторные общего назначения по ГОСТ с наибольшим пределом взвешивания 200 г, 2-го класса точности.
Термостат вместимостью рабочей камеры не менее 9 дм
с терморегулятором, позволяющим поддерживать температуру (140
2)° С.
Потенциометр типа КСП-4 с градуировкой ХА
, диапазоном измерения температуры от 0 до 600°С, класс точности 0,5.
Секундомер, класс точности 3.
Шприц медицинский вместимостью 5 см
.
Лоток эмалированный длиной (400
10) мм; шириной (300
10) мм; высотой (40
3) мм.
Капельница по ГОСТ .
Чашка выпарительная 3 по ГОСТ 9147-80.
Термоэлектрические преобразователи типа ТХА малоинерционные обыкновенные по ГОСТ 6616-74 (по одному на корзиночку).
Корзиночки кубической формы размерами (25х25х25) мм и (100х100х100) мм (по шесть штук каждого размера). Материалом для корзиночек служит сетка из нержавеющей стали или листовая нержавеющая сталь (при испытании плавящихся материалов). Номер сетки выбирают в зависимости от величины частиц исследуемого вещества для предотвращения его высыпания.
Шпатель двойной по ГОСТ 9147-80.
Бумага фильтровальная по ГОСТ , марки ФН.
Материал (при испытании жидкостей) - асбестовая крошка или другой мелкодисперсный негорючий материал, инертный по отношению к испытываемой жидкости.
2.3. Проведение испытания
Испытание для веществ в зависимости от их агрегатного состояния проводят для:
жидких - в один, два, три или четыре этапа;
твердых - в один, два, или три этапа.
Является ли исследуемое вещество пирофорным, устанавливается для:
жидких - первым или вторым этапом;
твердых - первым этапом.
Если вещество не является пирофорным, определяют склонность к тепловому самовозгоранию: для жидких - на третьем и четвертом этапе, для твердых - на втором и третьем этапе.
2.3.1. Проведение испытаний твердых и жидких веществ на пирофорность.
2.3.1.1. Испытание твердых веществ
На первом этапе в фарфоровую чашку, находящуюся в шкафу с вытяжной вентиляцией, помещают 10-15 г вещества. Порошки рассыпают слоем 2-3 мм на негорючую поверхность эмалированного лотка. В течение 2 ч наблюдают за состоянием вещества. Если наблюдается самовоспламенение вещества, его относят к пирофорным.
Эксперимент проводят четыре раза, если положительный результат не получен ранее. Если самовоспламенение вещества не наблюдается, переходят к проведению испытаний на склонность к самовозгоранию (п.2.3.2.1).
2.3.1.2. Испытание жидкостей
Жидкости испытывают в два этапа. На первом этапе определяют, самовоспламеняется ли данное вещество при добавлении его к инертному материалу и выдержке на воздухе. Для этого фарфоровую чашку заполняют инертным материалом на высоту около 5 мм. 5 см
испытываемой жидкости заливают из шприца в приготовленную чашку и наблюдают, самовоспламенится ли данное вещество в течение 5 мин. Эксперимент проводят четыре раза, если указанный эффект не наблюдается ранее. Если самовоспламенение не наблюдается, переходят ко второму этапу.
На втором этапе 0,5 см
жидкости выливают на фильтровальную бумагу. Наблюдают, происходит ли обугливание или воспламенение фильтровальной бумаги в течение 5 мин после попадания на нее испытываемой жидкости. Эксперимент проводят четыре раза, используя каждый раз другую фильтровальную бумагу, если обугливания или воспламенения фильтровальной бумаги не наблюдалось ранее. Если самовоспламенение не наблюдается, переходят к испытанию вещества на склонность к самовозгоранию (п.2.3.2.2).
2.3.2. Проведение испытания твердых и жидких веществ и материалов на склонность к самовозгоранию
2.3.2.1. Испытание твердого вещества
Корзиночки заполняют исследуемым веществом. При испытании листового материала его нарезают квадратиками, имеющими размеры корзиночки, и набирают в стопку, соответствующую высоте корзиночки.
Из исследуемых монолитных материалов вырезают прямоугольные параллелепипеды размером (100х100х100) мм и (25х25х25) мм. Затем в них высверливают до центра отверстие диаметром (7,0
0,5) мм для термоэлектрического преобразователя. Вещество помещают в корзиночку. Волокнистые материалы, порошкообразные или гранулированные вещества помещают в корзиночку с плотностью, соответствующей реальной плотности, с которой вещество (материал) применяют на практике.
Вначале испытание проводят для корзиночки размером (100х100х100) мм. Корзиночку помещают в термостат. Термоэлектрический преобразователь крепят так, чтобы его рабочий конец находился внутри корзиночки, в ее центре. Свободные концы термоэлектрического преобразователя пропускают через верхнее отверстие термостата и присоединяют с потенциометру. Температуру в термостате поднимают до 140°С. С помощью потенциометра регистрируют температуру в центре исследуемого образца. Наблюдают, произойдет ли воспламенение или превышение температуры 150°С в центре образца исследуемого вещества при проведении испытания в течение 24 ч. Если температура в центре образца превысит 200°С за меньшее время, испытания могут быть прекращены. Эксперимент проводят три раза, если указанные эффекты не наблюдались ранее.
Если указанный эффект не наблюдается, вещество либо материал считают не склонным к тепловому самовозгоранию, и дальнейшие испытания не проводят. Если указанные эффекты наблюдались хотя бы в одном из трех экспериментов, переходят к последнему этапу.
На последнем этапе проводят такое же испытание с корзиночкой размером (25х25х25) мм.
2.3.2.2. Испытание жидкости
Корзиночки заполняют инертным материалом. С помощью шприца или капельницы равномерно пропитывают его исследуемой жидкостью, приготовляя по шесть образцов каждого размера. Количество жидкости в первом образце - 2-3 капли для корзиночки размером (25х25х25) мм, 8-10 капель для корзиночки размером (100х100х100) мм. Количество жидкости в шестом образце - максимальное, которое способен впитать инертный материал без разжижения.
Для образцов со второго по пятый используют промежуточные количества жидкости, образующие равномерный ряд от минимального (в первом) до максимального (в шестом) образце значения.
Испытания проводят аналогично испытанию твердых веществ (п.2.3.2.1).
2.4. Обработка результатов
В протоколе испытаний указывают:
наименование вещества и НТД на продукцию, химическую формулу, наименование предприятия-изготовителя;
условия испытаний (температура воздуха, влажность, атмосферное давление);
характеристику состояния вещества на каждой стадии испытаний;
класс, подкласс и степень опасности образца.
2.5. Требования безопасности (см. п.3.1.6).
3. Методы экспериментального определения температуры разложения твердых и жидких веществ
3.1. Метод термостатирования
3.1.1. Метод отбора проб (см. п.1.1)
3.1.2. Аппаратура, материалы
Прибор (черт.16), состоящий из:
стеклянного сосуда Дьюара вместимостью 0,5 дм
по ОСТ ;
крышки из фторопласта-4 герметизированной прокладкой из термостойкой силиконовой резины;
термоэлектрического преобразователя типа ТХА по ГОСТ , стеклянной трубки диаметром 5 мм;
запорного устройства, состоящего из металлической пластины, хомутика и других пружин;
поддерживающего устройства из проволочной сетки;
суховоздушного термоэлектрического термостата с диапазоном рабочих температур от 20 до 120°С и погрешностью стабилизации температуры 1°С.
милливольтметра или потенциометра класса точности не менее 0,1.
Весы лабораторные общего назначения ВЛТ-1 кг-1 2-го класса точности по ГОСТ .
3.1.3. Подготовка к испытанию
Образец исследуемого вещества массой 0,3-0,4 кг помещают в сосуд Дьюара (порошок уплотняют). Сосуд Дьюара помещают в термостат на поддерживающее устройство из проволочной сетки так, чтобы расстояние от стенок термостата составляло не менее 150 мм. Крышку закрепляют на сосуде Дьюара при помощи запорного устройства. Для обеспечения взрывобезопасности сосуда через отверстие в крышке пропускают стеклянную трубку. Термоэлектрический преобразователь устанавливают так, чтобы спай отстоял от дна сосуда Дьюара на 60 мм.
3.1.4 Проведение испытания
Сосуд Дьюара с исследуемым веществом помещают в термостат со стабилизированной температурой. После выравнивания температуры образца с температурой термостата образец выдерживают в термостате в течение 7 сут. Если в течение этого времени не начнется разложение вещества, т. е. температура образца не превысит температуру термостата, опыт прекращают.
Испытание проводят, последовательно повышая температуру термостата от 20 до 65°С. Температуру повышают с интервалом 5°С. В случае разложения вещества в одном из опытов испытание при более высокой температуре не проводят. Опыт повторяют при температуре термостата ниже температуры, при которой произошло разложение вещества, на 2,5°С. Если при этой температуре также наблюдается разложение вещества, данная температура принимается в качестве температуры разложения. Если разложение не наблюдается, то за температуру разложения принимают температуру термостата в предыдущем опыте.
3.1.5. Обработка результатов
В протоколе испытаний указывают:
наименование вещества и нормативно-техническую документацию на продукцию, химическую формулу, наименование предприятия-изготовителя и т. п.;
массу образца;
температуру разложения;
класс (подкласс) и степень опасности.
3.1.6. Требования безопасности
Прибор для определения температуры разложения следует устанавливать в шкафу, оборудованном вытяжной вентиляцией. При испытании ядовитых веществ или веществ, выделяющих при разложении ядовитые пары или газы, скорость движения воздуха в открытом проеме вытяжного шкафа должна быть не менее 1,5 м/с.
Термостат должен быть защищен стальным экраном и находиться в отдельной комнате, безопасной в отношении пожара. Регистрирующее и отключающее термостат устройства должны находиться в другой комнате.
Вход в комнату с термостатом во время испытания запрещен. Заходить в помещение допускается после охлаждения образца.
Рекомендуется заменять дверцу термостата съемной асбестовой крышкой.
В процессе подготовки образцов исследуемого вещества и проведения испытаний применяют индивидуальные средства защиты, выбираемые в соответствии со свойствами исследуемого вещества.
Рабочее место оператора должно удовлетворять требованиям электробезопасности по ГОСТ 12.1.019-79 и санитарно-гигиеническим требованиям по ГОСТ 12.1.005-88.
3.2. Метод комплексного термического анализа
3.2.1. Метод отбора проб (см. п.1.1).
3.2.2. Аппаратура
Дериватограф марки Q-1500Д (М6М, ВНР) или равноценная установка.
3.2.3. Проведение испытания
Испытания проводят в соответствии с руководством по выполнению исследований на дериватографе в инертной среде (или равноценной установке). В результате испытаний определяют температуру, при которой начинается потеря массы вещества, и температуру, при которой начинается выделение тепла в веществе.
3.2.4. Обработка результатов
Температуру разложения рассчитывают как среднее арифметическое температуры начала выделения тепла и температуры начала потери массы, определенных по дериватограмме при условии, что указанные температуры отличаются не более чем на 10°С. При большей разнице температуру разложения определяют как температуру начала выделения тепла.
В протоколе испытаний указывают:
наименование вещества и нормативно-техническую документацию на продукцию, химическую формулу, наименование предприятия-изготовителя и т. д.;
массу образца;
температуру разложения;
класс (подкласс) и степень опасности.
3.2.5. Требования безопасности
В процессе подготовки образцов и проведения испытаний применяют индивидуальные средства защиты, выбираемые в соответствии со свойствами исследуемого вещества.
Рабочее место оператора должно удовлетворять санитарно-гигиеническим требованиям по ГОСТ 12.1.005-88 и требованиям электробезопасности по ГОСТ 12.1.019-79.
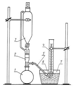
4. Метод экспериментального определения интенсивности газовыделения при взаимодействии с водой жидких и твердых веществ
4.1. Метод отбора проб (см. метод 1.1)
4.2. Аппаратура и материалы
Прибор для проведения испытаний (черт.17), состоящий из:
лабораторной круглодонной колбы со шлифом КККШ
по ГОСТ ;
перехода П10-29/32-14/23 по ГОСТ ;
воронки ВК-50 по ГОСТ ;
поливинилхлоридной медицинской трубки;
стеклянной изогнутой трубки;
толстостенного четырехугольного сосуда
;
цилиндра 2-500 по ГОСТ 1770-74;
штативов лабораторных типа ШЛ.
Чашка ЧБВ-100 по ГОСТ .
Весы лабораторные общего назначения 2-го класса точности.
Бумага фильтровальная марки ФН по ГОСТ .
Вода дистиллированная по ГОСТ 6709-72.
Капельница 2-25 по ГОСТ .
Шпатель пластмассовый.
Секундомер, класс точности 3.
4.3. Подготовка к испытанию
Прибор собирают в соответствии с черт.16.
4.4. Проведение испытания
Испытание проводят в четыре этапа при комнатной температуре. В случае самовоспламенения выделяющегося газа на любом этапе дальнейшие испытания не проводят.
На первом этапе в чашку Коха, которая заполнена 15 см
дистиллированной воды, помещают 0,1 г вещества. Визуально определяют интенсивность выделения газа, а также происходит ли его самовоспламенение. Если самовоспламенение не наблюдается, опыт повторяют трижды, увеличивая массу исследуемого вещества до 0,5 - 1 г.
На втором этапе в центре фильтровальной бумаги диаметром 80 мм, находящейся на поверхности дистиллированной воды в чашке Коха, помещают 1 - 2 г вещества. Опыт повторяют трижды. Отмечают, происходит ли самовоспламенение выделяющегося газа.
На третьем этапе исследуемое вещество помещают в чашку Коха массой 5-10 г. На поверхности твердого вещества делают углубление. В углубление (или на поверхность жидкости) по каплям прибавляют из капельницы 2-3 см
дистиллированной воды. Опыт повторяют трижды. Отмечают, происходит ли самовоспламенение газа.
На четвертом этапе на приборе (черт.17) определяют интенсивность газовыделения и общий объем газа, не подвергшегося самовоспламенению на первых трех этапах испытания. Объем выделяющегося газа измеряют по шкале цилиндра; определение химической природы газа производится любым подходящим способом.
В качестве втесняемой жидкости применяют дистиллированную воду. В случае выделения газа, растворимого в воде, используют жидкость, в которой выделяющийся газ не растворяется (например, силиконовое масло).
В случае интенсивного газовыделения на любом из предыдущих этапов в прибор помещают 1 г вещества, к которому по каплям в течение 5 мин прибавляют 10 см
дистиллированной воды. Отмечают объем выделившегося газа за этот промежуток времени.
Если газовыделение на предыдущих этапах исследования было умеренным, массу вещества увеличивают в зависимости от реакционной способности от 1 до 25 г, а объем прибавляемой воды - от 10 до 50 см
.
Определяют объем выделившегося газа в течение 7 ч с интервалами через каждый час. Если интенсивность газовыделения неустойчива или постоянно нарастает, измерение общего объема выделившегося газа производят в течение 5 сут.
4.5. Обработка результатов
При снижении интенсивности газовыделения в ходе испытания интенсивность определяется как объем выделившегося газа за первый час испытания. Если интенсивность неустойчива или нарастает, то интенсивность определяется как средняя величина газовыделения за весь период испытания и выражается в кубических дециметрах в час в пересчете на 1 кг исследуемого вещества.
За результат испытания принимают среднее арифметическое трех параллельных определений. Допустимое расхождение между наиболее отличающимися результатами, полученными одним оператором при одинаковых условиях испытаний, не должно отличаться более, чем на 15%.
В протоколе испытаний указывают:
наименование вещества и научно-техническую документацию на продукцию, химическую формулу, наименование предприятия-изготовителя и т. п.;
массу вещества на всех стадиях испытаний;
условия испытаний;
результаты испытаний на всех стадиях (интенсивность газовыделения, воспламенение выделяющегося газа и т. д.);
класс (подкласс) и степень опасности.
4.6. Требования безопасности
Прибор для определения интенсивности газовыделения устанавливают в шкафу, оборудованном вытяжной вентиляцией. При испытании ядовитых веществ или веществ, выделяющих ядовитые пары или газы, скорость движения воздуха в открытом проеме вытяжного шкафа должна быть не менее 1,5 м/с.
В процессе подготовки вещества и проведения испытаний применяют индивидуальные средства защиты, выбираемые в соответствии со свойствами исследуемых веществ. Обязательно применение защитных очков или защитных масок с прозрачным экраном типа С-40 по ТУ .
Поскольку многие вещества, относящиеся с подклассу 4.3, обладают способностью мгновенно выделять большие количества воспламеняющихся и взрывоопасных газов, это требует от оператора осторожности и внимания при проведении испытаний во избежание взрыва газовоздушной смеси, особенно на первой стадии испытаний.
Оператор должен быть защищен прозрачным защитным экраном.
Рабочее место оператора должно удовлетворять санитарно-гигиеническим требованиям по ГОСТ 12.1.005-88.
5. Метод экспериментального определения времени горения смеси образца с органическим веществом
5.1. Метод отбора проб (см. п.1.1)
5.2. Аппаратура, материалы, реактивы
Секундомер, класс точности 3.
Вакуумэксикатор ЭВ по ГОСТ .
Шкаф сушильный электрический круглый 28-151.
Шпатели фарфоровые двойные по ГОСТ 9147-80.
Шприц медицинский со стеклянным поршнем вместимостью 5 см
.
Ступка фарфоровая с пестиком по ГОСТ 9147-80 или другое оборудование для измельчения.
Опилки дубовые.
Аммония персульфат марки ч. д.а.
Калия бромат, ч. д.а.
Калия перхлорат, ч. д.а.
Весы лабораторные общего назначения 2-го класса точности по ГОСТ .
Тигель высокий 4 по ГОСТ 9147-80.
Сетка 0,315К и 1,6 по ГОСТ 6613-86.
Горелка газовая с диаметром сопла 7 мм.
Керамическая пластина длиной (100
5) мм и шириной (100
5) мм (например, метлахская плитка).
5.3. Подготовка к испытанию
В качестве эталонов окисляющих веществ используют персульфат аммония, перхлорат калия и бромат калия. Эталоны высушивают при температуре 65°С в течение 12 ч в сушильном шкафу, просеивают через сито с размером ячеек 0,315 мм и хранят в эксикаторе до использования.
Образцы исследуемых окислителей готовят аналогичным образом. Если температура плавления веществ меньше 65°С, сушку производят в вакуумэксикаторе в течение 12 ч при пониженном давлении и комнатной температуре.
Дубовые опилки, используемые в качестве горючего вещества, рассыпают на противне слоем толщиной не более 25 мм, высушивают в сушильном шкафу в течение 4 ч при 105°С, затем просеивают через сито 1,6 мм и хранят в эксикаторе до использования.
Образец исследуемого вещества смешивают с горючим веществом (опилки) в соотношении 1:1 и 4:1 по массе. Смесь помещают в фарфоровый тигель до полного его заполнения. Затем, переворачивая тигель на керамическую пластинку, высыпают его содержимое так, чтобы образовался конус.
Аналогичным способом приготовляют смесь эталона с опилками.
Для исследования жидких веществ первоначально полностью заполняют тигель опилками и пропитывают их при помощи шприца, заполненного жидким веществом в пропорциях 1:1 и 4:1 по массе.
5.4. Проведение испытания
Испытания проводят при нормальном атмосферном давлении, комнатной температуре и влажности (50
20)% в течение не более 1 ч после приготовления смесей.
Приготовленные смеси поджигают с одной стороны у основания конусов пламенем газовой горелки.
Смеси жидкого вещества с опилками поджигают непосредственно в тигле с поверхности, направляя пламя горелки сверху.
При испытании веществ время горения (с) определяется как время от момента воспламенения смеси до полного исчезновения видимого пламени или дыма. Испытание повторяют трижды, добиваясь полного сгорания смеси.
Если смесь не поджигается в течение 300 с, вещество считается не относящимся к опасным грузам подкласса 5.1.
5.5. Обработка результатов
За результат испытания принимают среднее арифметическое трех параллельных определений. Расхождение между наиболее отличающимися результатами, полученными одним оператором при одинаковых условиях испытаний, не должно превышать 15%.
В протоколе испытаний указывают:
наименование вещества и нормативно-техническую документацию на продукцию, химическую формулу, наименование предприятия-изготовителя;
массу вещества при каждом испытании, г;
наименование эталона, его квалификацию;
условия испытаний (температуру, влажность и т. п.);
время горения эталонных и исследуемых смесей, с;
подкласс и степень опасности образца.
5.6. Требования безопасности (см. п.1.6).
6. Метод экспериментального определения скорости коррозии металлов
6.1. Метод отбора проб
Отбор проб исследуемого вещества проводят в соответствии с требованиями нормативно-технической документации на данное вещество. Проба должна характеризовать средние свойства исследуемого вещества.
6.2. Аппаратура, материалы, реактивы
Весы лабораторные общего назначения 2-го класса точности по ГОСТ .
Сосуды стеклянные цилиндрические вместимостью 300 см
.
Эксикатор с осушающим веществом.
Пинцет по ГОСТ .
Термостат суховоздушный электрический.
Штангенциркуль ШЦ-П-250-0,05 по ГОСТ 166-89.
Бумага наждачная с размером зерна 4х10
мм по ОСТ 28-70.
Лента фторопластовая по ГОСТ .
Кислота соляная, ч. д.а., по ГОСТ .
Уротропин по ГОСТ 1381-73.
Кислота фосфорная, ч. д.а., по ГОСТ 6552-80.
Оксид хрома (II), ч. д.а.
Эфир этиловый, очищенный.
Ацетон технический по ГОСТ 2768-84.
Бензин автомобильный по ГОСТ 2084-77.
Вода дистиллированная по ГОСТ 6709-72.
Сталь марки Ст3пс по ГОСТ 380-88.
Алюминий марки А6 по ГОСТ .
6.3. Подготовка к испытанию
Для испытания применяют насыщенный раствор испытуемого вещества при температуре (55
5) °С. В качестве растворителя используют дистиллированную воду. Если испытуемое вещество нерастворимо или труднорастворимо в воде, то следует приготовить образец увлажненного вещества (от 25 до 35% влагосодержания по массе в зависимости от дисперсности и свойств вещества).
Образцы для одной серии испытаний вырезают из одного листа металла. Размеры образцов должны быть следующими:
длина (70
5) мм, ширина (30
5) мм, толщина (1
0,2) мм;
длина (105
5) мм, ширина (50
5) мм, толщина (1
0,2) мм;
длина (50
5) мм, ширина (25
5) мм, толщина (1
0,2) мм.
Допускается применять прямоугольные образцы других размеров с общей площадью поверхности (без учета поверхности торцов) не менее 1200 мм
.
На поверхности образов не допускаются царапины, вмятины, включения.
Посередине ширины на расстоянии 5 мм от края образца просверливают отверстие диаметром (1,5
0,5) мм.
Образцы обрабатывают в следующем порядке:
зачищают наждачной бумагой;
измеряют штангенциркулем размеры с точностью до 0,1 мм;
обезжиривают бензином;
промывают ацетоном, затем эфиром;
пинцетом переносят в эксикатор и выдерживают 30 мин.
Результат взвешивания в граммах записывают с точностью до четвертого десятичного знака.
6.4. Проведение испытаний
Испытание проводят не менее чем на девяти образцах, каждый из которых помещают в отдельный сосуд. Если вещество нерастворимо или труднорастворимо в воде, то образцы помещают в пробу увлажненного вещества.
В цилиндрические сосуды наливают 250 см
раствора. Образцы подвешивают на фторопластовой ленте и помещают в сосуд так, чтобы они не касались стенок и дна сосуда. Уровень раствора должен быть на 10 мм выше уровня образца и оставаться в течение испытания постоянным. Постоянство уровня раствора поддерживают путем приливания соответствующего насыщенного раствора вещества.
Сосуды с образцами помещают в термостат и выдерживают при температуре (55
5)° С на протяжении 30 сут с определением изменения массы каждого образца через 1, 2, 3, 4, 5, 10, 20, 30 сут. По истечении времени опыта образцы извлекают и удаляют продукты коррозии путем выдерживания образцов в растворах для травления.
Растворы для травления:
Сталь марки Ст3сп: НСl - 273 г/дм
; уротропин - 1,5 г/дм
.
Температура (20
2)° С.
Время травления - 30 мин.
Алюминий: H
РО
- 35 г/дм
; Cr
О
- 20 г/дм
.
Температура (95
3)° С.
Время травления - 30 мин.
После травления образцы промывают в течение 30 мин в проточной воде, затем последовательно в бензине, ацетоне, эфире. Затем высушивают в эксикаторе в течение 30 мин и взвешивают. Результат взвешивания в граммах записывают с точностью до четвертого десятичного знака.
За результат испытания принимают среднее арифметическое трех параллельных определений. Расхождение между наиболее отличающимися результатами, полученными одним оператором при одинаковых условиях испытаний, не должно превышать 0,3%.
6.5. Обработка результатов испытаний
Показатель изменения массы металла
в г/(м
ч) вычисляют по формуле
![]()
где | масса образца до испытания, г; |
| масса образца после испытания, г; |
| поверхность образца, м |
| время испытания, ч. |
Скорость коррозии (глубинный показатель коррозии)
в мм/год вычисляют по формуле
![]()
где
скорость коррозии, г/(м
ч);
удельная масса Ст3пс или А6, г/см
;
(
Ст3пс=7,7 г/см
;
алюминия=2,7 г/см
);
8,76 - коэффициент пересчета.
6.6. Требования безопасности
Рабочее место оператора должно удовлетворять санитарно-гигиеническим требованиям ГОСТ 12.1.005-88.
В процессе подготовки образцов и проведения испытаний применяют индивидуальные средства защиты, выбираемые в соответствии со свойствами исследуемого вещества.
7. Метод экспериментального определения экзотермического самораспространяющегося разложения веществ, содержащих нитраты
7.1. Метод отбора проб (см. п.1.1).
7.2. Аппаратура
Лоток из нержавеющей листовой стали, толщиной 2-3 мм, открытый сверху, со следующими внутренними размерами: длина (500
10) мм; ширина (150
10) мм; высота (150
10) мм. Днище и боковые грани лотка (за исключением одной грани) теплоизолируется асбестовыми листами.
Электроплитка мощностью 400-800 Вт.
7.3. Подготовка к испытанию
Лоток размещают в вытяжном шкафу и заполняют исследуемым веществом. Электроплитку закрепляют так, чтобы нагревательный элемент плотно соприкасался всей поверхностью с нетеплоизолированной гранью лотка.
7.4. Проведение испытания
Нагревание лотка проводится до тех пор, пока не будет визуально определено разложение вещества (по изменению цвета и т. д.). Мощность нагревательного элемента и время нагревания выбираются в процессе испытания в зависимости от свойств исследуемого вещества.
Через 20 мин после окончания нагревания фиксируют начальное положение фронта разложения и начинают отсчет времени перемещения фронта разложения до противоположного края лотка.
7.5. Обработка результатов
Если фронт разложения достигает противоположной грани лотка за время не более 5 ч, считают, что исследуемое вещество склонно к самораспространяющемуся разложению.
В протоколе испытаний указывают:
наименование вещества и нормативно-техническую документацию на продукцию, химическую формулу, наименование предприятия-изготовителя, время, в течение которого разложение достигает противоположной грани лотка.
7.6. Требования безопасности
Испытания проводят в специальном шкафу, оборудованном вытяжной вентиляцией. При испытании ядовитых веществ или веществ, выделяющих при горении ядовитые пары или газы, скорость движения воздуха в открытом проеме вытяжного шкафа должна быть не менее 1,5 м/с. В процессе подготовки образцов исследуемых веществ и проведения испытания применяют индивидуальные средства защиты, выбираемые в соответствии со свойствами исследуемого вещества. Рабочее место оператора должно удовлетворять требованиям электробезопасности по ГОСТ 12.1.019-79 и санитарно-гигиеническим требованиям по ГОСТ 12.1.005-88.
Приложения 1-5. (Измененная редакция, Изм. № 1).
Приложение 6
Обязательное
Маркировка грузов, указанных в "Перечне опасных грузов класса 1"
1. Маркировка должна содержать:
знак опасности по настоящему стандарту;
условный номер по "Перечню опасных грузов класса 1" в равностороннем треугольнике. Размер сторон треугольника в зависимости от габарита грузового места может быть 50, 80 или 150 мм;
манипуляционный знак по ГОСТ , если это предусмотрено нормативно-технической документацией на конкретный вид продукции.
2. Маркировку, указанную в п.1, наносят:
на боковую и торцовую стенки грузового места. Если на боковой и торцовой стенках не представляется возможным разместить маркировку, то ее допускается наносить на крышке. В этом случае в дверном проеме вагона вывешивают таблицу с маркировкой по п.1;
на решетчатой цилиндрической таре маркировку наносят на свободное от маркировки дно;
для грузов, упакованных в футляры и уложенных на поддоны, знак опасности по ГОСТ и условный номер наносят на футляры, а манипуляционные знаки - на поддоны.
3. Допускается на знаке опасности, наносимом на малогабаритную упаковку, приводить сокращенную надпись "Взрыв"
Приложение 6. (Введено дополнительно, Изм. № 1).
Черт. 1а |
Черт. 1б |
Черт. 1в |
Черт. 2 |
________________
Черт.1 (Исключен, Изм. № 1).
Черт. 3 |
Черт. 4а |
Черт. 4б |
Черт. 4в |
черт.5 |
черт.6а |
черт. 6б |
черт. 6в |
черт. 7а |
черт. 7б |
черт.7в |
черт. 8 |
черт. 9 |
|
черт.11 |
черт. 12 |
________________
*Место нанесения класса (подкласса)
**Место нанесения подкласса и группы совместимости - черт.1а
***Место для нанесения группы совместимости - черт.1б, в
|
черт.13 |
________________
*Место нанесения класса (подкласса)
**Место нанесения серийного номера ООН
Черт.13а (Введен дополнительно, Изм. № 1). |
1 - металлическая пластинка, 2-емкость Черт.15 |
_________________ Черт.14 (Исключен, Изм. № 1). | |
1 - поддерживающее устройство, 2 - запорное устройство, 3 - капиллярная стеклянная трубка, 4 - термометр термоэлектрический, 5 - крышка из фторопласта, 6 - сосуд Дьюара Черт.16 |
1 - колба лабораторная круглодонная, 2 - переход с одной горловиной и отводом, 3 - капельная воронка, 4 - цилиндр мерный, 5 - трубка поливинилхлоридная, 6 - трубка стеклянная изогнутая, 7 - сосуд стеклянный четырехугольный Черт.17 |
|
Из за большого объема этот материал размещен на нескольких страницах:
1 2 3 4 5 6 7 8 9 |




















черт. 10







