ЛАБОРАТОРНАЯ РАБОТА № 5
, АТС ЭНС - 3
ЭПС, Т, В - 4
ИССЛЕДОВАНИЕ ДВИГАТЕЛЯ ПОСТОЯННОГО ТОКА
ПОСЛЕДОВАТЕЛЬНОГО ВОЗБУЖДЕНИЯ
1. Цель работы
Изучить конструктивные особенности двигателя и принцип его работы. Научиться практически определять рабочие характеристики и уметь регулировать частоту вращения двигателя. Объяснять характеристики, полученные в ходе лабораторной работы.
2. Краткие сведения об объекте исследования
Двигатели постоянного тока в основном используются в приводах, требующих регулирования частоты вращения в широком диапазоне. Существенным недостатком двигателей постоянного тока является наличие щеточно-коллекторного устройства, которое снижает надежность двигателя. В зависимости от способа включения обмоток возбуждения и якоря различают следующие типы двигателей постоянного тока: двигатели параллельного возбуждения, двигатели последовательного возбуждения; двигатели смешанного возбуждения.
Пуск двигателей можно осуществлять тремя способами: непосредственным включением, если двигатель малой мощности; включением пускового реостата; снижением питающего напряжения.
В лаборатории пуск осуществляется третьим способом, т. е. изменением питающего напряжения с помощью лабораторного автотрансформатора (ЛАТР). Пуск заканчивается, когда напряжение на двигателе достигнет номинального значения. При этом необходимо следить, чтобы машина не пошла “в разнос”, т. е. не превысила числа оборотов nмах=1,5nн . Снижение оборотов будет при увеличении момента на валу машины.
Способы регулирования частоты вращения двигателей постоянного тока можно получить, анализируя формулу:
(1)
где U — подводимое к двигателю напряжение; IR a— падение напряжения в цепи якоря;
Ф — основной магнитный поток на полюс; ce — постоянный коэффициент, зависящий от конструктивных данных двигателя;
. Регулировать частоту вращения можно следующими способами:
изменением напряжения, подводимого к двигателю; изменением сопротивления цепи якоря; изменением магнитного потока.
Для двигателя с последовательным возбуждением первый способ возможен при наличии автономного источника питания, допускающего регулирование напряжения – ЛАТР.
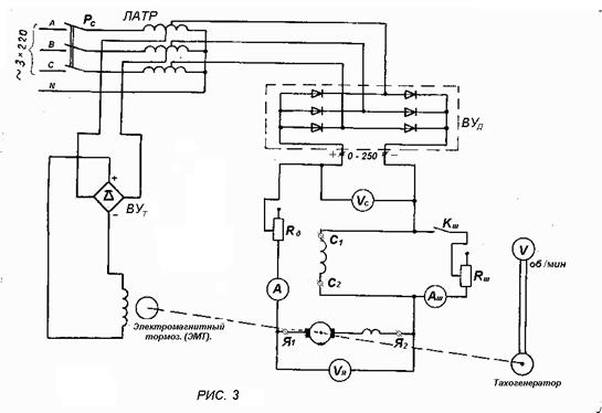
Второй способ регулирования частоты вращения предусматривает введение добавочного сопротивления Rд последовательно в цепь якоря (см. рис. 3). При этом увеличивается падение напряжения I(Ra + Rд) подводимое к якорю напряжение уменьшается, вследствие чего частота вращения двигателя уменьшается.
При третьем способе регулирования параллельно цепи обмотки возбуждения включают шунтирующий реостат Rш, снижая сопротивление которого, увеличивают ток шунта, а ток возбуждения уменьшается на основании первого закона Кирхгофа. Поток Ф - уменьшается, частота вращения при этом будет увеличиваться. Этот способ является экономичным, так как потери в реостате невелики.
Изменение направления вращения двигателя может быть осуществлено путем изменения направления тока либо в обмотке возбуждения, либо в обмотке якоря. Одновременное изменение направления тока и в обмотке якоря, и в обмотке возбуждения, не дает изменения направления вращения якоря двигателя.
В результате взаимодействия токов в проводах обмотки якоря с магнитным полем в воздушном зазоре возникает электромагнитный момент
, (2)
где см=0,975 се .
При установившихся режимах работы (п=сопst) электромагнитный момент уравновешивает статический момент сопротивления на валу
M = Mс
Мс = М0 + М2 (3)
где М0 — момент, обусловленный механическими и магнитными потерями
М2 - двигателя; полезный момент нагрузки.
Для того, чтобы увеличить ток якоря, увеличивают тормозной момент на валу двигателя, что приводит к снижению частоты вращения, и как следствие, к уменьшению ЭДС якоря Еа и согласно выражению
(4)
ток якоря возрастет. Это вызовет, согласно формулы (2), увеличение момента. Ток якоря будет возрастать до такого значения, при котором момент двигателя станет равным сумме полезного тормозного момента М2 и момента холостого хода М0 (3). Эксплуатационные свойства двигателя определяются его рабочими характеристиками, под которыми понимают зависимости частоты вращения п полезного момента М2 потребляемого тока Ia и коэффициента полезного действия h от полезной мощности Р2 при U=const (рис. 1).

А. Скоростная характеристика.
Для выяснения вида зависимости n = f(P2), которая называется скоростной характеристикой, обратимся к формуле (1). Напряжение U постоянно. Ток возбуждения Iв при последовательном соединении равен току якоря. Последний, при увеличении нагрузки, т. е. момента на валу будет возрастать, что приведёт к уменьшению числии увеличению знаменателя (Ф – возрастает) и частота вращения двигателя будет резко снижаться. Скоростная характеристика является гиперболической. Такие характеристики принято называть мягкими. При значительном увеличении нагрузки, по мере насыщения магнитной цепи, характеристика приобретает более прямолинейный характер.
Необходимо обратить особое внимание на то, что при значительном уменьшении нагрузки и тем более при полном ее сбросе двигатель резко увеличивает частоту вращения (идет «в разнос»). Поэтому двигатель последовательного возбуждения нужно использовать для привода механизмов, которые позволяют создать некоторую нагрузку при пуске и не требуют разгрузки до холостого хода при работе.
Б. Моментная характеристика.
М2 = f (Р2) при U = const
Электромагнитный момент М двигателя определяется по формуле (2). При незначительном насыщении стали Ф º Ia и М = с¢м I2 , т. е. моментная характеристика двигателя последовательного возбуждения представляет собой квадратичную параболу.
По мере увеличения тока якоря наступает насыщение магнитной системы двигателя и увеличение электромагнитного момента замедляется. При большом насыщении стали, когда магнитный поток мало увеличивается, момент двигателя становится почти пропорциональным току якоря.
Двигатели последовательного возбуждения развивают большой начальный пусковой момент и имеют «мягкую» механическую характеристику. Благодаря этим особенностям, двигатели последовательного возбуждения получили широкое применение в качестве тяговых двигателей на электроподвижном составе и в качестве приводных двигателей в подъемных механизмах.
В. КПД двигателя.
h = f ( P2 ) при U=const
Коэффициент полезного действия двигателя постоянного тока определяется по формуле

При изменении режима работы двигателя меняется подводимая мощность P1 и мощность потерь энергии å p поэтому меняется и КПД.
При теоретическом холостом ходе, когда Р2=0, h = 0. При увеличении нагрузки КПД сначала быстро увеличивается до максимального значения, а затем начинает уменьшаться.
Коэффициент полезного действия двигателя достигает максимального значения hmax при такой нагрузке, когда постоянные потери равны переменным потерям.

Механические характеристики двигателя представляют зависимости:
n =f ( M2 ) при U=const и (Ra + Rд ) = const
На рис. 2 изображены механические, токовые и характеристики КПД двигателя последовательного возбуждения, снятые при отсутствии(естественная характеристика) и наличии добавочного сопротивления Rд (искусственная характеристика).
Угол наклона механической характеристики зависит от величины добавочного сопротивления Rд, включенного в цепь якоря. При одном и том же моменте на валу двигателя, чем больше будет добавочное сопротивление, тем меньше будет напряжение на зажимах якоря, тем меньше будет частота вращения двигателя.
Регулировочные характеристики двигателя представляют зависимости:
а) n = f(U) при М2 = const;
б) n = f(Iв ) при U = const и М2 = const.
Первая характеристика дает возможность судить о том, как будет изменяться частота вращения двигателя при изменении напряжения на зажимах якоря и постоянной величине полезного момента на валу двигателя.
Вторая характеристика показывает, как изменится частота вращения двигателя при изменении тока возбуждения или изменения магнитного потока двига
Описание схемы. На рис.3 показана схема, собранная на испытательном стенде. При включении выключателя Рс напряжение попадает на автотрансформатор ЛАТР, который является регулируемым источником питания стенда.
Регулятор “ МАШИНА” изменяет напряжение в пределах 0 ¸ 250 на входе схемы стенда. А регулятор “ ТОРМОЗ ” изменяет напряжение на зажимах катушек тормозного устройства стенда. Он не должен находиться в нулевом положении, т. к. при пуске надо иметь какое-то значение момента, чтобы двигатель не пошёл в разнос ( ток при пуске должен быть в пределах 9 ¸ 11 А). Исходя из конструкции стенда, пуск осуществляется способом изменения напряжения на зажимах двигателя от нуля до номинального.
Переменный ток выпрямляется с помощью диодных выпрямителей: ВУд и ВУт.

3. Содержание работы
1. При исследовании двигателя снять и построить:
1) рабочие характеристики:
I, n, M2, h = f(P2 ) при U=const
2) механические, токовые и КПД характеристики:
а) естественные:
n, I, h = f(M2 ) при U=const и Rд =0;
б) искусственные:
n, I, h = f(M2 ) при U=const и (Ra + Rд) =const.
3) регулировочные характеристики:
а) п = f(U ) при М2 =const ;
б) п = f(Iв ) при U =const и М2 =const .
4. Порядок выполнения работы
1. Ознакомиться с конструкцией электродвигателя и электромагнитного тормоза или нагрузочного устройства, записать данные заводского щитка, число главных и добавочных полюсов, способ охлаждения.
2. Разобраться со схемой (рис. 3), определив назначение приборов и аппаратов.
3. Осуществить пуск двигателя. Перед пуском двигателя убедиться, что регулятор «МАШИНА» находится в нулевом положении и введён регулятор электромагнитного тормоза (устройство для измерения вращающего момента).
4. Снять и построить рабочие характеристики двигателя:
I, n, M2, h = f(P2 ) при U=const
Для этого необходимо пустить двигатель в ход, нагрузить его до I = 1.2 Iн и, постепенно разгружая, записать показания приборов в табл. 1, сняв 5 ¸ 6 замеров. Частота вращения двигателя при наименьшей нагрузке не должна превышать 1,5 пн.
Расчет мощности Р1 , Р2 и момента М2 выполнять по следующим формулам:
а) мощность, потребляемая двигателем Р1 = U I ;
б) полезная мощность на валу двигателя P2 = M2 w , где
р/с, М2 – Нм ;
в) КПД h = Р2 / Р1 .
Таблица 1
Измерено | Вычислено | |||||
U | I | M2 | n | P1 | P2 | h |
B | A | Нм | об/мин | Вт | Вт | -- |
5. Механические, токовые и характеристики КПД двигателя:
а) естественные: n, I, h = f(M2 ) при U=const и Rд =0; строятся по данным табл.1.
б) искусственные: n, I, h = f(M2 ) при U=const и (Ra + Rд) =const – снимаются при введении в цепь якоря двигателя добавочного сопротивления по заданию преподавателя. Первую запись также сделать при наибольшем моменте на валу, затем уменьшить его до значения, при котором частота вращения двигателя будет не более n = 1,5 nн. Показания записать в табл.2 такой же формы, что и табл.1.
6. Снять и построить регулировочные характеристики двигателя:
а) п = f(U ) при М2 =const .
Пустить двигатель в ход и установить момент, равный (0,4—-0,5) Мн. Установить при помощи ручки регулятора напряжения «МАШИНА» напряжение на двигателе UС = 0.5 UН . Далее увеличивая напряжение на зажимах двигателя до UН, поддерживая М2 =const, снять 5¸6 замеров. Частота вращения двигателя не должна превышать 1,5 nн . Показания приборов при всех опытах записать в табл.3.
Таблица 3
N п. п. | U | I | n | M2 |
В | А | об/мин | Нм | |
1, |
б) п = f(Iв ) при U =const и М2 =const .
Для регулирования частоты вращения двигателя способом ослабления магнитного поля машины необходимо пустить двигатель в ход, установить тормозной момент по электромагнитному тормозу, равный (0,7—0,8) МН, и поддерживать его на протяжении опыта постоянным. Включить рубильник Кш, шунтирующий обмотку возбуждения, плавно увеличивать ток шунта от Iш = 0 до Iш = 0,25 IН. Частота вращения двигателя при наибольшем ослаблении магнитного поля не должна превышать 1,5nн.
Записать в табл.4 показания приборов при 4—5 замерах.
Ток возбуждения определяется по формуле: Iв = I – Iш .
Таблица 4
N п. п. | U | I | Iш | М2 | n | Iв |
В | А | А | Нм | об/мин | А | |
1 |
5. Содержание отчета
По результатам опытов и расчетов необходимо составить отчет установленной формы, в котором:
1. Привести паспортные данные испытуемого двигателя и приборов, использованных в опытах.
2. Представить электрическую схему стенда. Произвести необходимые расчеты, применив указанные выше расчетные формулы:
3. По данным табл.1 в одних осях координат построить рабочие характеристики:
I, n, M2, h = f(P2 ) при U=const
4. По данным табл.1, 2 построить в одних осях координат механические, токовые и характеристики КПД:
а) естественные:
n, I, h = f(M2 ) при U=const и Rд =0
б) искусственные:
n, I, h = f(M2 ) при U=const и (Ra + Rд) =const.
5. По данным табл. 3 построить зависимость: п = f(U ) при М2 =const
6. По данным табл. 4 построить зависимость: б) п = f(Iв ) при U =const и М2 =const
7. Дать заключение по результатам выполненной работы.
6. Контрольные вопросы
1. Содержание работы.
2. Почему по мере разгона двигателя уменьшается величина вращающего момента?
3. Почему с ростом момента нагрузки уменьшается частота вращения двигателя?
4. Как влияет реакция якоря на механические характеристики двигателя?
5. Как влияет напряжение сети на частоту вращения двигателя?
6. Способы регулирования частоты вращения двигателя. Какие из них используются в данной работе?
7. Почему для двигателя последовательного возбуждения недопустима работа на холостом ходу?
8. Почему естественная механическая характеристика у двигателя последовательного возбуждения называется «мягкой»?
9. Почему при небольших токах нагрузки момент двигателя последовательного возбуждения пропорционален квадрату тока?
10. Какими достоинствами располагает двигатель с последовательной обмоткой возбуждения? Как в данной работе производится регулирование и изменение нагрузки двигателя?
11. Какие характеристики двигателя называются механическими (естественными и искусственными) и в каком порядке они определяются в данной работе?
12. По паспортным данным определить номинальный момент двигателя.
13. Какие характеристики называются рабочими: порядок их определения и построения?
14. Как влияет на величину КПД введение добавочного сопротивления в цепь якоря?



