УДК 620.92
АЛЬТЕРНАТИВНЫЕ ИСТОЧНИКИ ЭНЕРГИИ, КАК СПОСОБ ПОВЫШЕНИЯ ЭНЕРГОЭФФЕКТИВНОСТИ
Студенти группы МнГ-110 и
ГОУ ВПО «Владимирский государственный университет имени Александра Григорьевича и Николая Григорьевича Столетовых»
Научный руководитель – ст. пр.
Альтернативные источники энергии – это источники, которые распространены, не так широко, как традиционные энергоресурсы, но представляют большой интерес из-за небольших рисков причинения вреда экологии и выгодности их использования. Альтернативные источники энергии представлены в виде: солнечных коллекторов, солнечных батарей, тепловых насосов, ветрогенераторов и др.
Солнечная батарея или фотоэлектрический преобразователь преобразует солнечную энергию в постоянный электрический ток. А ветрогенераторы это производство чистой электроэнергии при использовании энергии ветра. Принцип действия теплового насоса основан на использовании тепловой энергии, извлеченной из воздуха, воды или почвы, так же для обогрева помещений. Возобновляемые источники энергии не только обеспечивают большую энергонезависимость и значительную экономическую выгоду, но и позволяют защитить окружающую среду. Сегодняшний день диктует свои законы во всех областях нашей жизни. Новые технологии прочно входят в наш быт. И на смену, дедушкиным и бабушкиным, черным бочкам явились солнечные коллекторы – центральная, и главная часть всех современных устройств для сбора солнечной энергии. Изжили себя баки и канистры, бочки и цистерны. Им на смену пришли системы более эффективные и более экономные, построенные из материалов, рожденных сегодняшним днем. Солнечные коллекторы (или гелиосистема) применяются для отопления бытовых и промышленных помещений, для горячего водоснабжения, используя при этом неиссякаемую солнечную энергию. Солнечные коллекторы устанавливаются неподвижно, а угол наклона выбирают в зависимости от основного назначения устройства. При установке нужно ориентироваться в сторону юга. Солнечные коллекторы можно классифицировать на плоские (или плоскопанельные) и вакуумные. Технические особенности солнечных коллекторов Logasol SKS 4.0 (рис. 1): является вакуумным солнечным коллектором; обеспечивает турбулентный режим даже при небольших объемах потока, и, как следствие, достигается высокая эффективность передачи тепла; герметично закрытая рама, заполненная аргоном; эффективность с первого солнечного луча, поскольку стекло не запотевает; долговечность абсорбирующего слоя (слоя поглощающего солнечную радиацию), защищенного от коррозии и влаги; идеальны для нагрева питьевой воды и отопления; возможность подключения баков - водонагревателей различного объема и конструкции [2].

Рис. 1. Солнечные коллекторы Logasol SKS 4.0
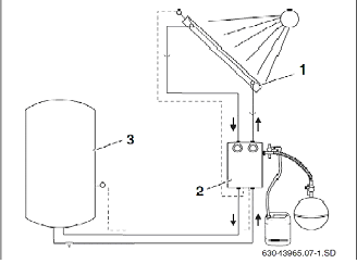
Компоненты гелиосистемы (рис. 2):
Позиция 1 – коллектор
Позиция 2 - комплектная станция
Позиция 3 – бак

Рис.2. Компоненты солнечного коллектора
Инструкция по монтажу Logasol SKS 4.0, встроенные в крышу
Выгодность этих источников состоит в энергосбережении, то есть реализации правовых, организационных, научных, производственных, технических и экономических мер, направленных на вовлечение в хозяйственный оборот возобновляемых источников энергии [3]; и энергоэффективности или рационального использования ресурсов связанных с тенденциями развития энергетики.
Поиск повышения энергоэффективности, энергообеспечения и энергосбережения важны для регионов нашей страны. Энергоэффективность экономики РФ должна к 2020 году возрасти на 40%, заявил президент РФ Дмитрий Медведев, выступая с посланием Федеральному собранию [4]. В связи с этим губернатор Николай Виноградов утвердил долгосрочную целевую программу «Энергосбережение и повышение энергетической эффективности во Владимирской области на период до 2020 года» [5]. По данным департамента ЖКХ, во Владимирской области задолженность за топливно-энергетические ресурсы составляет почти 500 миллионов рублей [6], поэтому тема альтернативных источников энергии актуальна для области.
Одним из наиболее эффективных способов экономии энергетических ресурсов является использование солнечных коллекторов. Во Владимире уже практикуется установка такого рода систем на улице Сакко и Ванцетти дом № 23 компанией «Аквамастер» (рис.3). Солнечные коллекторы используются для дополнительного подогрева теплоносителя. На крыше дома установлено 16 солнечных коллекторов, плюс общедомовой и квартирные тепловые пункты, приборы учёта, термостатические вентили (рис.4). Солнечная энергия позволит сэкономить на централизованном отоплении зимой и полностью обеспечить дом горячей водой летом [1].

Рис. 3. Солнечные коллекторы на крыше дома №23 ул. Сакко и Ванцетти.

Рис. 4. Бак и комплектная станция в доме №23 на ул. Сакко и Ванцетти
Таблица 1.
Стоимость оборудования гелиосистемы
№ | Наименование | Кол-во, шт | Цена, руб. | Сумма, руб. |
1 | Солнечный коллектор Logasol SKS4.0 | 16 | 41 596,53 | ,54 |
2 | Компл. подкл. SKS4.0 на пл. крыше | 16 | 3 172,67 | 50 762,66 |
3 | Компл. воздушного клапана SKS4.0 | 2 | 3 966,45 | 7 932,90 |
4 | Подставка под солнечный коллектор SKS4 | 16 | 10 619,05 | ,80 |
5 | Жидкость L контура солнечного коллектора 50:50 10 л | 5 | 1 777,55 | 8 887,75 |
6 | Система управления Logamatic 4323 "RU" | 1 | 42 667,86 | 42 667,86 |
7 | Функциональный модуль FM443 | 1 | 14 720,97 | 14 720,97 |
8 | Комплект датчика FSS | 1 | 1 586,75 | 1 586,75 |
9 | Комплект расширения комплектации HZG | 1 | 8 860,50 | 8 860,50 |
10 | Solar XL | 2 | 50 461,25 | ,50 |
11 | Буферный накопитель PSX-F 1500 | 1 | 76 258,70 | ,40 |
Итого: 1 ,63 |
Согласно документации по планированию и проектированию гелиотехники Logasol трудоемкость на монтаж солнечных коллекторов на плоскую крышу с регулированием угла наклона составляет: для двух солнечных коллекторов Logasol SKS4.0 – 1.5 часа на каждого монтажника; увеличение затрат времени на 0,5 часа больше на каждый коллектор и на каждого монтажника для монтажа на плоскую крышу; для выполнения монтажных работ по установке коллекторов следует предусмотреть не менее двух монтажников. Сметная стоимость монтажных работ,00 руб. Итого стоимость: 1 ,63 руб.
Затраты на солнечный коллектор с учетом монтажа и пуско-наладочных работ составляют 1 ,63 рублей. Общая жилая площадь дома № 23 составляет 1600 м2. Повышение стоимости 1 м2 жилой площади составит: 1 ,63 / 1600 = 804 руб. Согласно СНиП «Строительная климатология» в среднем за один год на 1 м2 инсоляция (облучение поверхностей солнечным светом) составляет 1514.3 кВт. Общая площадь 16 солнечных коллекторов с площадью 2,2 м2 каждый: 16 × 2.2 м2 = 35,2 м2. Тогда: 35,2 × 1514.3 = 53303,36 кВт/год. С учетом КПД коллектора 85 % система будет вырабатывать 45307,86 кВт за год. 1 кВт энергии обходится в 4рубля, с учетом роста тарифов. То есть система за год будет приносить экономию в размере ,44 руб. Соотнесем приведенные затраты к экономии и получим окупаемость затрат через 7 лет: 1 ,63 / ,44 ≈ 7 лет.
Сравнение получения тепла при помощи гелиосистемы и традиционного теплоснабжения показали экономическую выгодность установки солнечных коллекторов. Если брать во внимание вопросы экологичности данной установки, неуклонный рост тарифов, повышение стоимости 1 м2 жилой площади, то установка вполне оправдана. Солнечные коллекторы относятся к инвестиционным проектам долгосрочной эффективности.
За границей уже давно используются альтернативные источники энергии при поддержке государства. Запад вообще ограничен в топливно-энергетических ресурсах. И в связи с этой ограниченностью они вынуждены находить альтернативы. В России же такой ограниченности нет, но это не значит, что не нужно задумываться об экологии, энергосбережении и эффективности. С финансовой поддержкой нашего государство рекомендуется использовать такие энергоэффективные проекты, как на улице Сакко и Ванцетти.
Список литературы:
1. Zerkalo номер 6, 28.02.12, г. Владимир, стр.8.
2. Солнечные коллекторы. Cолнечные коллекторы от немецкой компании Buderus – это качество, надежность и эффективность проверенные временем. [Электронный ресурс] – Режим доступа: http://www. *****/sistemy_otoplenija_doma/oborudovanie_na_vozobnovljaemykh_istochnikakh_ehnergii/solnechnye_kollektory/
3. Энергосбережение [Электронный ресурс] – Режим доступа: http://www. *****/cgi-bin/gl_find. cgi? ph=%DD%ED%E5%F0%E3%EE%F1%E1%E5%F0%E5%E6%E5%ED%E8%E5&action=%CF%EE%E8%F1%EA.
4. Независимый информационный портал энергосбережения и энергоэффективности [Электронный ресурс] – Режим доступа: http://www. *****/energonews/.
5. Новости администрации области и региона [Электронный ресурс] – Режим доступа: http://*****/home/7487-1.
6. Владимир Путин проведет Всероссийское селекторное совещание по подготовке к отопительному сезону [Электронный ресурс] – Режим доступа: http://www. *****/society/14757/



