![]()
![]()
![]()


![]() | |
При устройстве перегородок для улучшения звукоизолирующей способности необходимо учитывать правила:
o опирать перегородки только на бетонные (кирпичные) столбики или на плиту перекрытия;
Вопросы для самопроверки:
1. Что называют перегородками?
2. Основные требования к перегородкам.
3. Недостатки перегородок из мелкоразмерных элементов.
4. Основные правила устройства перегородок.
Тема 2.7. Окна и двери.
Окна и витражи являются основными вертикальными конструкциями для обеспечения естественной освещенности помещений. Площадь окон должна быть в пределах 1/8 до 1/5 от площади пола помещения.
Конструкции остекления являются (основными) важными элементами, влияющими как на внешний облик, так и на интерьер помещения. Необходимым требованием, которому должны удовлетворять окна, являются их теплозащитные свойства, что позволяет избежать необоснованных потерь теплоты и обеспечить звукоизоляцию помещений.
По материалу конструкций окна бывают:
деревянные;
металлические;
железобетонные;
пластмассовые.
По способу открытия и конструктивному решению:
створчатые;
глухие;
раздвижные;
верхнеподвесные и нижнеподвесные;
с переплетом на цапфах;
жалюзийные.
По числу стекол:
с одинарным остеклением;
с двойным остеклением;
с тройным остеклением.
Размеры окон унифицированы и приведены в соответствующем ГОСТе.
Высоту окна обычно принимают на мм. меньше высоты этажа; а ширину одностворчатых – не менее 60 мм., двустворчатых – 900, 1100, 1300 мм., трехстворчатых – мм.
Оконные блоки состоят из оконных коробок, остекленных переплетов и подоконных досок.
Оконная коробка – рама, к которой крепятся оконные переплеты. Верхняя глухая или открывающаяся часть окна называется фрамугой. Глухие переплеты, фрамуги и створки состоят из обвязок и горбыльков. Между горбыльками устраивают форточки.
Стекла вставляют в специально расположенные в конструкциях переплетов четверти, называемые фальцами, и крепят гвоздями, шпильками из проволоки, планками - штапиками. В наружных переплетах наружные обвязки створок, фрамуг и форточек должны иметь с наружной стороны отливы – выступы, предназначенные для стока атмосферных вод.
Двойные переплеты чаще всего открываются внутрь. Внутренние переплеты должны иметь размеры меньше наружных, для обеспечения возможности их открывания. Разность размеров переплетов называют рассветом.
По конструктивному решению оконные коробки бывают раздельные и общие. Оконные коробки обязательно покрывают антисептиком и по периметру обкладывают слоем рубероида. Коробки в стенах укрепляют ершами в швах кладки или гвоздями, которые забивают в специально установленные деревянные пробки. Зазор между коробкой и стеной тщательно проконопачивают паклей, вымоченной в гипсовом растворе.
Рис.8.3 (сеч. 4-4,5-5,6-6)

Откосы оштукатуривают снаружи и внутри.
Широко применяют окна со спаренными переплетами, в которых наружный и внутренний переплеты сближают до непосредственного соприкосновения и образуют как бы один переплет с двумя стеклами.
Рис. 8.4

Окна со спаренными переплетами дают
· до 30% экономии древесины;
· на 10% дешевле;
· в 1,5 раза легче по весу;
· но на 25% больше теплопотери в помещении.
Перспективным является способ заполнения оконных проемов без коробки, при котором переплет крепят к стальным планкам или пластмассовым пробкам 80х80х100 мм, установленным в процессе изготовления панели.
Более прогрессивной конструкцией по сравнению со спаренными переплетами являются стеклопакеты.
Для изоляции друг от друга проходных помещений и входа в здания служат двери. Их расположение, количество и размеры определяют с учетом числа людей, находящихся в помещениях, вида здания и других факторов. Двери состоят из коробок, представляющих рамы, укрепленные в дверных проемах стен, и полотен, навешиваемых на дверные коробки.
По количеству полотен двери могут быть одно - и двупольные и полуторные. Однопольные двери принимают шириной 600, 700, 800, 900 и 1100 мм, двупольные - 1200, 1400 и 1800 мм. Высота дверей 2000 и 2300 мм. Дверные коробки в проемах каменных стен крепятся также как и оконные коробки.
По конструктивному решению дверные полотна могут быть щитовыми или филенчатыми.
Рис. 8.10(в)
Щитовое дверное полотно состоит из рамки, образуемой обвязочными брусками, сплошного или решетчатого щита (каркаса) и облицовки с двух сторон из фанеры, пластика или древесно-волокнистых плит.
Рис.8.10(г)
Филенчатое дверное полотно состоит из обвязок, расположенных по периметру полотна, средников (промежуточных элементов) и заполнения между ними, называемого филенками. Филенки изготовляют из досок, фанеры, пластика и других.
Рис.8.10(л, м)
Во временных зданиях устраивают плотничные двери на шпонках или планках. Основные дверные приборы – навесные металлические петли, дверные ручки, врезные замки и задвижки.

Вопросы для самоконтроля:
1. Виды окон и особенности их конструктивного решения.
2. Порядок установки оконной коробки.
3. Недостатки окон со спаренными переплетами.
4. Основные виды дверей.
Тема 2.8. Крыши.
Конструктивный элемент, ограждающий здание сверху, называют покрытием. Основные виды покрытия - чердачные крыши, безчердачные покрытия, большепролетные плоские и пространственные покрытия. Покрытие состоит из несущих конструкций, воспринимающих передаваемые нагрузки от вышележащих элементов и ограждающей части. Конструкция покрытия должна обеспечивать восприятие постоянных и временных нагрузок.
Ограждающая часть покрытия (кровля), служащая для отвода осадков, должна быть водонепроницаемой, влагоустойчивой, стойкой против воздействия агрессивных химических веществ, содержащихся в атмосферном воздухе, солнечной радиации и мороза, не подвергаться короблению, растрескиванию и расплавлению.
Важными требованиями к покрытиям являются экономичность их устройства, обеспечение расхода минимальных денежных средств на их эксплуатацию, применение индустриальных методов.
Для обеспечения отвода осадков, покрытия устраивают с уклоном. Уклон зависит от климатических условий района строительства, от материала кровли.
Скатные крыши выполняют в виде наклонных плоскостей-скатов, покрытых кровлей. В скатных крышах помещение, образуемое между несущей и ограждающей частью покрытия (чердак), используют для размещения устройств инженерного оборудования. Высоту чердака принимают не менее 160 см. Для освещения и проветривания чердака в крыше устраивают чердачные окна.
Формы скатных крыш зависят от формы здания в плане и архитектурных соображений.
Рис.9.1 (а, б, в, г, д )

Ребро, двугранного угла, образуемого в вершине крыши двумя скатами, называют коньком. Пересечение скатов, образующих выступающий наклонный угол, называют накосным ребром, а западающий угол - ендовой. Верхнюю часть ската называют спуском, нижнюю кромку ската – обрезом кровли. Треугольный скат называют – вальмой. Слуховые окна размещают на высоте 1 -1,2 м от уровня верха чердачного перекрытия.
Скатные крыши малоэтажных зданий целесообразно устраивать со свободным стоком воды по периметру свесов крыши. В зданиях высотой более 3 – 9 этажей вода отводится с крыши по наружным водосточным трубам. В зданиях высотой более 9 этажей устраивают совмещенные плоские крыши с внутренними водостоками.
Несущими конструкциями скатных крыш являются наслонные стропила или стропильные фермы, по которым делают обрешетку, являющуюся основанием для кровли. Наслонными стропилами называют элементы в виде досок, бревен или брусьев, имеющие не менее двух опор. Сопряжение отдельных элементов стропил между собой осуществляется с помощью врубок или металлических креплений (гвоздей, болтов, скоб).
Рис.9.2 (б)

На рисунке показана двускатная крыша, образованная из наслонных стропил (стропильных ног) опирающихся на мауэрлаты (подстропильные брусья). Мауэрлаты могут быть из брусьев, укладываемых по всей длине здания, а также в виде брусьев – коротышей, укладываемых прерывисто (только под стропильные ноги). При пролете более 5 м стропильные ноги необходимо дополнительно поддерживать подкосами. Расстояние между стропилами принимают от 0,8 м до 1,7 м. На внутренние опоры укладывают прогоны, по которым через 3 – 6 м друг от друга устанавливают стойки, поддерживающие верхние прогоны. Нижние концы стропил обычно не выходят за пределы мауэрлата. Для крепления обрешетки в карнизной части крыши к стропильным ногам прибивают короткие доски – кобылки.
Для повышения огнестойкости деревянных конструкций крыш их обычно окрашивают известковыми или специальными растворами.
Рис. 9.4 (а, в)

Все деревянные конструкции, работающие в контакте с каменными, необходимо тщательно антисептировать и между ними прокладывать рубероид.
Основными видами кровель скатных крыш являются металлические, из минеральных и мягких рулонных материалов. Кровли из неоцинкованных и оцинкованных металлических листов имеют небольшую массу и сравнительно малый уклон – 16-22 *. Основанием под кровлю из металлических листов служит обрешетка из брусков 50х50 мм или досок, прибиваемых к стропилам на расстоянии 225мм друг от друга. Для свеса карниза обрешетку делают сплошную из досок толщиной 50мм.
Рис. 9.12 (а)-

Кровельные листы соединяют в картины лежащим фальцем, а затем продольно по скату картины соединяют стоячим фальцем. К обрешетке картины крепят с помощью кляммер – полосок из кровельной стали, прибиваемых к боку бруска обрешетки.
Кровли из минеральных материалов применяют из плоских или волнистых асбестоцементных листов, выпускаемых размерами 1200х678мм – обыкновенного профиля марки ВО с толщиной листа 5,5мм, и усиленного профиля марки ВУ с толщиной листа 8мм.
Уклон кровли принимают от 25-45*. Основанием под кровлю служит обрешетка из брусьев сечением 50х50мм, прибиваемых к стропилам на расстоянии 370мм друг от друга. Асбестоцементные листы следует укладывать с напуском вдоль ската (продольная нахлестка) на 120-200мм, а в перпендикулярном к нему направлении (поперечная нахлестка) – на одну волну листа. Кровельные листы крепят к обрешетке гвоздями из оцинкованной стали длинной 100мм, забиваемыми в гребни волн смежных листов.
Конек и ребра крыши покрываются специальными фасонными элементами-шаблонами, а ендовы - оцинкованной кровельной сталью. Кровли из волнистых асбестоцементных листов долговечны, огнестойки, имеют красивый внешний вид, экономичны в эксплуатации, но обладают достаточным весом и хрупкостью.
Кровли из мягких рулонных материалов настилают по сплошному настилу из досок толщиной 19-25мм.
Деревянные основания должны быть двухслойными и состоят из сплошного защитного настила, выполняемого из антисептированных брусков толщиной 50мм, и расположенного к нему под углом 45* сплошного защитного настила из досок сечением 19х50мм. Нижний слой из пергамина дополнительно крепится к защитному настилу гвоздями.
Наиболее практическими и долговечными являются рубероидные кровли, выполняемые на железобетонном основании по выравнивающей стяжке из цементного раствора или асфальтобетона толщиной 20-30мм.
Рис. 9.12 (г)

Рулонные кровли обычно делают двухслойными (при уклоне более 12*) или трехслойными (при уклоне до 12*). Наклейку полотнищ рулонных материалов при уклонах более 12* делают перпендикулярно коньку, а при уклонах до 12* - параллельно ему.
Достоинствами рулонных кровель являются простота их устройства, малый вес и небольшие уклоны. Недостатками – сгораемость и необходимость тщательного ухода.
Вопросы для самопроверки:
1. Виды материалов применяемых для устройства кровель.
2. Что является основанием для устройства кровель?
3. От чего зависит уклон кровли?
4. Достоинства кровли из асбестоцементных листов.
5.
Тема 2.8 Совмещенные покрытия
Совмещенными крышами называют пологие бесчердачные покрытия, в которых крыша совмещена с конструкцией чердачного перекрытия и нижняя поверхность является потолком помещения верхнего этажа. Стоимость совмещенных покрытий на 10-15% ниже чердачных крыш, а стоимость эксплуатации в 1,5 раза ниже, сокращаются трудозатраты на строительной площадке при устройстве покрытий.
Различают два основных типа совмещенных покрытий: невентилируемые и вентилируемые.
Рис.9.14(а)

Конструкция невентилируемой совмещенной крыши следующая: по железобетонной плите устраивают пароизоляцию из одного или двух слоев рубероида на битумной мастике для защиты вышерасположенного теплоизоляционного слоя от увлажнения водяными парами, проникающими из помещения через плиту. Толщина теплоизоляционного слоя определяется расчетом. По утеплителю устраивают выравнивающую цементную стяжку толщиной 15-20мм, а при сыпучем утеплителе ее слой принимают толщиной 25-40мм и армируют сеткой из проволоки диаметром 2-3мм с размером ячеек 200-300мм. По стяжке устраивают кровлю из многослойного рулонного ковра (рубероида или другого материала) и защитного слоя из мелкого гравия толщиной 6-8мм.
Рис.9.14(в)

Вентилируемые покрытия отличаются от невентилируемых тем, что поверх теплоизоляции устраивают воздушную прослойку, а вместо стяжки укладывают тонкие железобетонные плиты. Воздушная прослойка содействует удалению излишней влаги из утеплителя и обеспечивает его хорошие теплоизоляционные свойства.
Для обеспечения водоотвода с крыш их уклоны выполняют от 8* до 2* и до 0*. В соответствии с этим кровля состоит из 3, 4 и 5 слоев рулонного ковра при уклонах соответственно 5-7*, 2-5*, 1,5-2*.
Водоотвод с крыши может быть организованный, по наружным или внутренним водостокам, и неорганизованный, со свободным сбросом воды со свеса карниза.
Вопросы для самопроверки:
1. Виды совмещенных покрытий.
2. Состав совмещенного покрытия.
3. Виды водоотвода с покрытия.
4. Назначение пароизоляции.
Тема 2.9 Лестницы.
Путями сообщения между этажами зданий служат лестницы, пандусы и механические средства(лифты и экскалаторы). Лестницы и пандусы являются также путями для эвакуации людей из зданий и сооружений в аварийных условиях.
Лестницы должны отвечать требованиям прочности, долговечности, создания необходимых удобств и безопасности при движении людей, пожарной безопасности.
Размещение лестниц в плане здания, их число и размеры зависят от назначения, габаритов и компоновки здания с учетом обеспечения удобной и в заданное время эвакуации людей.
Лестница состоит из маршей и площадок. Марш представляет собой конструкцию, состоящую из ступеней, поддерживающих их косоуров (располагаемых под ступенями) или тетив (примыкаемых к ступеням сбоку). Лестничные площадки бывают этажными и междуэтажными. Для безопасности и удобства движения лестничные площадки и марши оборудуют ограждениями с поручнями высотой 0,9м. У ступеней вертикальную грань называют подступенком, а горизонтальную –проступью. По назначению лестницы подразделяют на основные, служащие для постоянного использования и эвакуации, вспомогательные – для служебного сообщения между этажами и аварийные.
По числу маршей в пределах высоты одного этажа лестницы делят на одно-, двух-, трех - и четырехмаршевые. Уклон лестницы принимают по СНиПу для основных лестниц-1:2-1:1,75 , а для вспомогательных - до 1:1,25. Число ступеней в марше назначается не более 18, но не менее 3.Ширину маршей назначают с учетом обеспечения эвакуации людей в заданное время. Ширина площадок должна быть не менее ширины марша (из условия обеспечения одинаковой пропускной способности). Размеры ступеней в марше -150х300мм.
По способу устройства лестницы могут быть сборные и монолитные. Сборные бывают из мелко - и крупноразмерных элементов. Наибольшее распространение в строительстве получили сборные лестницы из крупноразмерных элементов - площадок и маршей заводского изготовления или маршей с двумя полуплощадками. Сборные элементы устанавливают на место кранами и крепят с помощью сварки закладных деталей.
Рис.10.6

Лестничные площадки своими концами обычно опирают на боковые стены лестничной клетки, а в крупнопанельных зданиях - на специальные металлические элементы (столики), привариваемые к закладным деталям в стеновых панелях лестничной клетки.
Рис. 10.7

Перед входом в здание устраивают площадку, которую располагают всегда выше уровня земли не менее чем на 150мм, для того чтобы не допускать затекания в помещение атмосферной воды.
В общественных зданиях, когда необходимо обеспечить высокую пропускную способность коммуникационных путей между этажами, применяют пандусы.
Рис. 10.11(а)

Пандусом называют гладкий наклонный эвакуационный путь, обеспечивающий сообщение помещений, находящихся на разных уровнях. Пандусам придают уклон от 5 до 12*. Пандусы состоят из наклонных гладких элементов и площадок.
Вопросы для самопроверки:
1. Из каких основных конструкций состоят лестничные клетки?
2. Классификация лестниц по назначению, числу маршей в пределах этажа.
3. Размеры ступени лестницы.
4. Назначение пандусов.
Раздел 3. Типы гражданских зданий
ТемаЗдания из крупных блоков
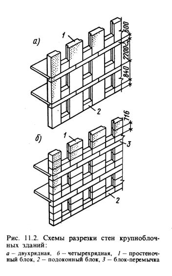
Крупноблочными называют здания, стены которых возводят из крупных камней массой от 300кг до 3т и более. Материалом для изготовления блоков служат легкие бетоны (керамзитобетон, ячеистый бетон, шлакобетон), а также местные материалы (ракушечник, туф), кирпич.
Размеры блоков выбирают в зависимости от схемы членения стены, так называемой разрезки. Используют две схемы разрезки стен крупноблочных зданий – двух - и четырехрядную.
Рис. 11.2

При двухрядной схеме разрезки на высоту этажа приходится два блока, при четырехрядной – четыре блока.
Рис. 11.3(а, б,в, г,д)
К основным типам крупных бетонных блоков наружных стен относят : простеночные блоки, перемычечные блоки, подоконные блоки. Простеночные блоки делают с четвертями наружу, а подоконные – четвертями внутрь. Блок-перемычка имеет четверти: сверху – для опирания плит перекрытия, снизу – для оконной коробки. Подоконные блоки с целью устройства под окном ниш для приборов отопления делают на 100мм тоньше простеночных. Применяют также специальные типы блоков – угловые, цокольные, карнизные, поясные, блоки для стен лестничной клетки. Для снижения массы блоков в них устраивают цилиндрические вертикальные пустоты. Для обеспечения монтажа блоков в их тело закладывают специальные монтажные петли.
Рис11.3 (е)

Блоки внутренних стен обычно принимают 300мм с вертикальными пустотами, которые также используют в качестве вентиляционных каналов.
Крупные блоки укладывают друг на друга по слою раствора толщиной 10-20мм с применением временных прокладок. Сопряжение нескольких элементов между собой образуют стыки. По своему конструктивному решению вертикальные стыки бывают открытые и закрытые. Открытые стыки получаются в результате сопряжения простеночных блоков, устанавливаемых рядом.
Рис. 11.4(в)

Закрытые стыки образуются при стыковании внутренних стен и горизонтального перемычного ряда наружных стен, а также простеночных подоконных блоков.
Рис. 11.4 (а, б)

Вопросы для самопроверки:
1. Основные виды блоков наружных стен.
2. Преимущества зданий из крупных блоков перед кирпичными.
3. Виды разрезки стен из крупных блоков.
4. Определение стыка.
ТемаКрупнопанельные здания
Крупнопанельными называют здания, монтируемые из заранее изготовленных крупноразмерных плоскостных элементов стен, перекрытий и покрытий и других конструкций. Эти сборные конструкции имеют повышенную заводскую готовность – отделанные наружные и внутренние поверхности, вмонтированные окна и двери.
Строительство зданий из крупных панелей позволяет существенно
повысить степень индустриальности строительства и производительность труда, снизить стоимость строительства и сократить сроки возведения зданий. По конструктивной схеме они бывают бескаркасные и каркасные.
Бескаркасные здания состоят из меньшего числа сборных элементов и отличаются простотой монтажа. Нагрузки в таких зданиях воспринимаются наружными и внутренними стенами.
Каркасные здания имеют меньший расход материалов на 1м* жилой площади, большую жесткость и устойчивость.
Важным этапом проектирования крупнопанельных зданий является выбор системы разрезки стен. Горизонтальная схема членения образуется одноэтажными панелями размером на одну комнату(рис. а), на две комнаты (рис. б) и полосовая (рис. в).
рис. 12.3

Вертикальная схема образуется из панелей на два этажа(рис. г) и полосовая из двухэтажных простеночных панелей и междуэтажных панелей(рис. д).
К стеновым панелям предьявляют такие специфические требования, как технологичность изготовления в заводских условиях и простота монтажа, совершенство конструкций стыков, высокая степень заводской готовности.
Однослойные панели изготовляют из однородного малотеплопроводного материала. Панель армируется сварным каркасом и сеткой.
рис. 12.4

С наружной стороны панели имеют защитный слой из тяжелого бетона тол-
щиной 20-40 мм и с внутренней стороны - отделочный слой из цементного раствора толщиной 10-15 мм. Хорошим материалом для однослойных панелей является ячеистый бетон плотностью 600-700 кг/м* ,керамзитобетон класса В5 плотностью кг/ м*.
Двухслойные панели состоят из несущего слоя из легкого или тяжелого бетона класса В10…В15 плотностью более 1000 кг/м* и утепляющего слоя - из теплоизоляционного легкого или ячеистого бетона. Толщина несущего слоя для стеновых панелей должна быть не менее 60 мм, и располагают его с внутренней стороны помещения.
рис.12.5

Трехслойные панели состоят из двух тонких железобетонных плит и эффективного теплоизоляционного слоя, укладываемого между ними. В качестве утеплителя применяют полужесткие минераловатные плиты, фибролит, асбестоцементные плиты, пеностекло, пеносиликат и другие.
рис.12.6

Железобетонные слои панели соединяют между собой сварными арматурны-
ми каркасами. Внутренний слой принимают толщиной 80 мм, а наружный - 50 мм. Толщина утеплителя определяется теплотехническим расчетом.
Эксплуатационные качества крупнопанельных зданий зависят от
конструктивного исполнения стыков между панелями и с другими элементами здания. Стыки между панелями наружных стен должны быть ге-
рметичными, не допускать образования конденсата в месте стыка, обладать
достаточной прочностью. По расположению стыки различают вертикальные и горизонтальные. Вертикальные стыки по способу связей панелей между собой разделяют на упругоподатливые и жесткие. При устройстве упругоподатливого стыка панели соединяются с помощью стальных связей, привариваемых к закладным деталям стыкуемых элементов.
рис. 12.9

Недостатком упругоподатливых стыков является возможность коррозии стальных связей и закладных деталей.
Более надежными в работе являются жесткие монолитные стыки.
Прочность соединения между стыкуемыми элементами обеспечивается замо-
ноличиванием соединяющей стальной арматуры бетоном.
рис. 12.10(а)

Для устройства горизонтальных стыков верхнюю стеновую панель укладыва-
ют на нижнюю на цементном растворе.
рис. 12.14

Соединении е панелей внутренних стен бескаркасных зданий осуществляется
путем сварки соединительных стержней диаметром 12 мм к закладным дета-
лям по верху панели.
рис.12.15 и рис.12.17


Основными несущими элементами каркасных зданий являются колонны и ригели. Наиболее ответственными местами сборного каркаса яв-
ляются его узлы, в которых стыкуются между собой отдельные элементы. К ним предьявляют требования: обеспечение надежной работы конструкций, долговечности и простоты устройства, возможности производства работ в зимнее время, точности взаимного расположения элементов. Стыки конструкций каркасных зданий –
рис.12.26 рис 12.27 (а, б)

Все другие конструктивные элементы каркасных зданий (лестницы, санитарно-технические помещения и другие) также изготовляют с высокой степенью заводской готовностью, что позволяет осуществлять монтаж таких зданий в сжатые сроки.
Вопросы для самопроверки:
1. Основные конструктивные схемы крупнопанельных зданий.
2. Основные виды стеновых панелей.
3. Конструкции стыков стеновых панелей.
4. Методы обеспечения жесткости каркасных зданий.
Тема 3.3. Деревянные здания. Здания из обьемных блоков
Строительство деревянных зданий осуществляется преимущественно в тех районах, где лес является местным материалом. Деревянные здания обычно возводят не более чем в два этажа. По конструктивным решениям стен эти здания делят на бревенчатые, щитовые, каркасные и каркасно-щитовые.
Обьемными блоками называют крупные железобетонные коробки, представляющие отдельные помещения или квартиры и изготовляемые в заводских условиях. Обьемные элементы применяют для возведения жилых домов, гостиниц, пансионатов и других зданий с одинаковой комнатной структурой.
По способу изготовления обьемные блоки бывают составные из отдельных панелей и монолитные.
рис. 13.3

По конструктивной схеме дома из обьемных блоков подразделяют на три типа: блочные, панельно-блочные и каркасно-блочные.
рис.13.4

По массе и размерам обьемные блоки делятся на три группы: мелкие, средней величины, крупноразмерные. Применяют следующие способы опирания обьемных блоков: по четырем углам, по двум коротким сторонам, по двум длинным сторонам, по периметру.
рис. 13.5

Вопросы для самопроверки:
1. Виды деревянных зданий.
2. Определение зданий из обьемных блоков.
3. Классификация зданий из обьемных блоков.
4. Основные типы зданий из обьемных блоков.
Тема 3.4. Строительные элементы санитарно-технического и инженерно-
го оборудования зданий
Вентиляция помещений бывает естественная, вытяжная и приточно-вытяжная. Естественная вентиляция осуществляется через открытые окна и путем инфильтрации. При вытяжной вентиляции загрязненный воздух удаляется из помещения через специальные каналы. Вентиляционные каналы
располагают во внутренних стенах или устраивают приставные вентиляционные блоки из шлаковых плит. В приточно-вытяжных системах вентиляции воздух поступает в помещения через приточную камеру.
рис.15.4(а. б)

Лифты и эскалаторы относятся к механическим устройствам для организации сообщения между этажами. По назначению лифты бывают пассажирские, грузовые и специальные. Лифты состоят из кабины, подвешенной на стальных канатах, перекинутых через шкив подьемной лебедки, находящейся в машинном отделении.
рис.15.10

Мусоропроводы устраивают в жилых зданиях высотй 5 этажей и более. Мусоропроводную камеру располагают в подвале или на первом этаже и оборудуют водопроводом и канализацией.
рис.15.9

Состоит мусоропровод из вертикального ствола, имеющего приемные камеры на каждом этаже, вытяжных труб и мусоросборного бункера, размещаемого в камере.
Вопросы для самопроверки:
1. Основные виды и устройство вентиляции помещений.
2. Месторасположение мусоропровода.
3. Виды лифтов.
4. Способы расположения лифтовых шахт.
Раздел 4. Понятие о проектировании гражданских зданий
Тема 4.1. Основные положения проектирования жилых и общественных
зданий
Проектом называют комплект технических документов, полностью характеризующих намеченное к строительству здание или сооружение. Различают три вида проектов: типовой, индивидуальный и экспериментальный. По типовым проектам возводят здания массового строительства. Типовой проект предназначен для многократного применения. Индивидуальные проекты разрабатывают для строительства сложных и уникальных зданий. Проекты экспериментального строительства
предназначены для возведения зданий новых типов и их проверки в эксплуатационных условиях с целью последующего внедрения в массовое строительство.
Проектирование зданий и сооружений может осуществляться в две и одну стадию. Двухстадийное проектирование применяют для составления типовых проектов и индивидуальных сложных зданий. На первой стадии разрабатывают собственно проект со сводным сметным расчетом. На второй стадии на основе утвержденного проекта разрабатывают рабочую документацию со сметами. Одностадийное проектирование осуществляется для зданий с несложным техническим решением и при привязке типовых проектов к условиям места строительства.
К жилым зданиям относятся квартирные дома, общежития, гостиницы, спальные корпуса. Жилые многоэтажные дома подразделяют на следующие виды: секционные, галерейные и коридорные.
Общественные здания предназначены для временного пребывания людей в связи с осуществлением в них различных функциональных процессов. Основными планировочными схемами общественных зданий являются коридорная, анфиладная, зальная и смешанная.
рис.16.14 рис.16.15 рис.16.16


Общественные здания независимо от их назначения состоят из отдельных структурных элементов и имеют однотипные отдельные помещения и их группы- архитектурно-планировочные узлы.
Раздел 5. Строительство зданий в районах с особыми геофизическими условиями
Тема 5.1 Строительство зданий в сейсмических районах
Под особыми геофизическими условиями строительства понимают такие, при которых в процессе проектирования, строительства и эксплуатации учитываются дополнительные воздействия, могущие вызвать недопустимые деформации, способные привести даже к разрушению здания.
Способность здания противостоять сейсмическим воздействиям называют сейсмостойкостью. Обеспечение сейсмостойкости зданий и сооружений достигается осуществлением градостроительных, обьемно-планировочных и конструктивных мероприятий.
При решении вопросов планировки населенных мест рекомендуется территорию зонировать с расчленением незастраиваемыми пространствами.
Обьемно-планировочное и конструктивное решения должны удовлетворять условиям симметрии и равномерного распределения масс и жесткостей.
рис.30.2

Если здание имеет сложную или ассиметрическую форму в плане, то его следует разделить антисейсмическими швами на отсеки простой формы без входящих углов.
рис.30.3

Антисейсмические швы применяют в зданиях с несущими стенами постановкой двойных стен, а в каркасных зданиях - постановкой двойных рам. Пояса выполняют из монолитного или сборного железобетона или металла.
Тема 5.2 Строительство зданий на просадочных грунтах
К просадочным относят грунты, которые под воздействием нагрузок и собственной массы при замачивании дают дополнительные деформации, называемые просадками. В зависимости от величины просадки эти грунты подразделяют на два типа: 1 тип - просадка от собственной массы при замачивании не превышает 50 мм; 2 тип - просадка при тех же условиях превышает 50 мм.
При проектировании и строительстве зданий и сооружений на просадочных грунтах осуществляют следующие основные мероприятия:
-устраняют просадочные свойства грунтов путем их уплотнения;
-прорезают просадочную толщу грунта до подстилающего его слоя;
-защищают основание от замачивания.
Тема 5.3 Строительство зданий в районах вечной мерзлоты
Вечномерзлыми называют грунты, сохраняющие в природных условиях постоянно отрицательную или нулевую температуру.
В зависимости от геологических и климатических условий строительство зданий в районах мерзлоты осуществляется следующими методами: возведение зданий обычными способами, сохранение грунтов основания в вечномерзлом состоянии, оттаивание грунта в основании, предварительное оттаивание грунта и его уплотнение в основании.
Раздел 6. Проектирование и строительство зданий в условиях реконст-
рукции
Реконструкция зданий исторической застройки бывает вызвана необходимостью их перепланировки или перепрофилирования, необходимостью усиления их оснований и несущих конструкций (при надстройке), устранения повреждений в конструкциях, возникших в процессе эксплуатации здания из-за неравномерности деформаций основания, повышения уровня вод, прохождения под зданием горных выработок.
Фундаменты в процессе реконструкции могут потребовать специальных мероприятий для восстановления их несущей способности.
Наружные и внутренние стены зданий исторической застройки, в большинстве случаев сохраняют несущую способность, основные реконструкционные мероприятия со стенами связаны либо с необходимостью их усиления в связи с надстройкой, либо с необходимостью устранения трещин.
Перекрытия не эквивалентна по долговечности и огнестойкости основному остову зданий и требует при реконструкции радикальной модернизации, либо полной замены.
Крыши в процессе длительной эксплуатации приобретают общие и местные повреждения деревянных несущих конструкций и износ кровельного материала с необходимостью его замены.
|
Из за большого объема этот материал размещен на нескольких страницах:
1 2 3 |




