Министерство образования и науки РФ
Ставропольский государственный аграрный университет
Экономический факультет
Кафедра Информационных систем и технологий
Учебно-методический комплекс
по дисциплине «Вычислительные системы, сети и телекоммуникации»
Утверждаю
кафедрой ИСиТ
к. т.н
«___» _____________ 20__ года
Л Е К Ц И Я
«Вычислительные системы, сети и телекоммуникации»
Для студентов направления:
230700.62 Прикладная информатика
(прикладная информатика в экономике)
Лекция № 2. Архитектура информационно-вычислительных систем
Обсуждена на заседании кафедры ИСиТ
«___» _______ 20__ года
Протокол №___
Ставрополь 2013
Цель лекции
Изучить общие принципы построения и архитектуры вычислительных систем, классы вычислительных машин, а также многомашинные и многопроцессорные вычислительные системы
Учебные вопросы лекции
1. Архитектура вычислительных систем
2. Классы вычислительных машин.
3. Многомашинные и многопроцессорные вычислительные системы
Время: 2 часа
1. Архитектура вычислительных систем
Первые компьютеры (автоматические электронные вычислительные машины с программным управлением) были созданы в конце 40-х годов XX века и представляли собой гигантские вычислительные монстры, использовавшиеся только для вычислительной обработки информации. По мере развития компьютеры существенно уменьшились в размерах, но обросли дополнительным оборудованием, необходимым для их эффективного использования. В 70-х годах компьютеры из вычислительных машин сначала превратились в вычислительные системы, а затем в информационно-вычислительные системы. В табл. 1 показана эволюция технологий использования компьютерных систем. Как видно из таблицы, в настоящее время основные цели использования компьютеров - информационное обслуживание и управление, сейчас вычислительные машины и системы, по существу, выполняют функции информационно-вычислительных систем. Рассмотрим более подробно внутреннюю архитектуру вычислительных систем (ВС).
Вычислительная система - это совокупность одного или нескольких компьютеров или процессоров, программного обеспечения и периферийного оборудования, организованная для совместного выполнения информационно-вычислительных процессов.
В вычислительной системе компьютер может быть один, но агрегированный с многофункциональным периферийным оборудованием. Стоимость периферийного оборудования часто во много раз превосходит стоимость компьютера. В качестве распространенного примера одномашинной ВС можно привести систему телеобработки информации. Классическим вариантом ВС является многомашинный и многопроцессорный варианты. Первые ВС создавались с целью увеличить быстродействие и надежность работы путем параллельного выполнения вычислительных операций. Как это ни парадоксально, тормозом в дальнейшем увеличении быстродействия компьютера является конечная скорость распространения электромагнитных волн - скорость света, равная км/с. Время распространения сигнала между элементами ВС может значительно превышать время переключения электронных схем. Поэтому чисто последовательная модель выполнения операций, характерная для классической структуры компьютера - структуры фон Неймана, - не позволяет существенно повысить быстродействие ВС.
Таблица 1. Эволюция компьютерных информационных технологий
Параметр | Этапы развития технологии 50-е годы 60-е годы | |
Цель использования компьютера | Научно-технические расчеты | Технические и экономические расчеты |
Режим работы компьютера | Однопрограммный | Пакетная обработка |
Интеграция данных | Низкая | Средняя |
Расположение пользователя | Машинный зал | Отдельное помещение |
Тип пользователя | Инженеры-программисты | Профессиональные программисты |
Тип диалога | Работа за пультом компьютера | Обмен перфоносителями и машинограммами |
Параллелизм выполнения операций существенно повышает быстродействие системы; он же может также значительно повысить и надежность (при отказе одного компонента системы его функции может взять на себя другой), и достоверность функционирования системы, если операции будут параллельно дублироваться, а результаты их выполнения сравниваться или мажоритироваться. Для современных ВС, за исключением суперкомпьютеров, критерии обоснования их необходимости уже несколько иные - важно само информационное обслуживание пользователей, сервис и качество этого обслуживания. Для суперкомпьютеров, представляющих собой многопроцессорные В С, важнейшими показателями являются их производительность и надежность.
Укрупненная блок-схема классического компьютера показана на рис.1

Рисунок 1 - Укрупненная блок-схема компьютера
Процессор (центральный процессор) - основной вычислительный блок компьютера, содержит важнейшие функциональные устройства:- Устройство управления с интерфейсом процессора (системой сопряжения и связи процессора с другими узлами машины). Арифметико-логическое устройство. Процессорную память.
Процессор, по существу, является устройством, выполняющим все функции элементарной вычислительной машины.
Оперативная память - запоминающее устройство, используемое для оперативного хранения и обмена информацией с другими узлами машины. Каналы связи (внутримашинный интерфейс) служат для сопряжения центральных узлов машины с ее внешними устройствами. Внешние устройства обеспечивают эффективное взаимодействие компьютера с окружающей средой: пользователями, объектами управления, другими машинами. В состав внешних устройств обязательно входят внешняя память и устройства ввода-вывода.Вычислительная система может строиться на базе либо целых компьютеров (многомашинная ВС), либо на базе отдельных процессоров (многопроцессорная ВС).
Этапы развития технологии | ||
70-е годы | 80-е годы | Настоящее время |
Управление и экономические расчеты | Управление, предоставление информации | Телекоммуникации, информационное обслуживание и управление |
Разделение времени | Персональная работа | Сетевая обработка |
Высокая | Очень высокая | Сверхвысокая |
Терминальный зал | Рабочий стол | Произвольное мобильное |
Программисты | Пользователи с общей компьютерной подготовкой | Слабо обученные пользователи |
Интерактивный (через клавиатуру и экран) | Интерактивный по жесткому меню | Интерактивный экранный типа "вопрос-ответ" |
Вычислительные системы бывают: однородные; неоднородные.
Однородная ВС строится на базе однотипных компьютеров или процессоров. Однородные системы позволяют использовать стандартные наборы технических, программных средств, стандартные протоколы (процедуры) сопряжения устройств. Поэтому их организация значительно проще, облегчается обслуживание систем и их модернизация.
Неоднородная ВС включает в свой состав различные типы компьютеров или процессоров. При построении системы приходится учитывать их различные технические и функциональные характеристики, что существенно усложняет создание и обслуживание неоднородных систем.
Вычислительные системы работают в двух режимах: оперативном (on-line); неоперативном (off-line).
Оперативные системы работают в реальном масштабе времени, в них реализуется оперативный режим обмена информацией - ответы на запросы поступают незамедлительно. В неоперативных ВС допускается режим "задержанного ответа", когда результаты выполнения запроса можно получить с некоторой задержкой (иногда даже в следующем сеансе работы системы).
Различают ВС с централизованным и децентрализованным управлением. В первом случае управление выполняет выделенный компьютер или процессор, во втором - эти компоненты равноправны и могут брать управление на себя. Кроме того, ВС могут быть:
- территориально-сосредоточенными (все компоненты располагаются в непосредственной близости друг от друга); распределенными (компоненты могут располагаться на значительном расстоянии, например, вычислительные сети); структурно-одноуровневыми (имеется лишь один общий уровень обработки данных); многоуровневыми (иерархическими) структурами. В иерархических ВС машины или процессоры распределены по разным уровням обработки информации, некоторые машины (процессоры) могут специализироваться на выполнении определенных функций.
Как уже указывалось, ВС делятся на следующие: одномашинные; многомашинные; многопроцессорные.
Начнем рассмотрение с одномашинных ВС, точнее, с вычислительных машин,
2. Классы вычислительных машин
Электронная вычислительная машина (ЭВМ), компьютер - комплекс технических средств, предназначенных для автоматической обработки информации в процессе решения вычислительных и информационных задач.
Вычислительные машины могут быть классифицированы по ряду признаков, в частности:
принцип действия;
этапы создания и элементная база;
назначение;
способ организации вычислительного процесса;
размер, вычислительная мощность;
функциональные возможности;
способность к параллельному выполнению программ и т. д.
По принципу действия вычислительные машины делятся на три больших класса (рис. 2. 4): аналоговые; цифровые; гибридные.

Рисунок 2.4 - Классификация вычислительных машин по принципу действия
Критерием деления вычислительных машин на эти три класса является форма представления информации, с которой
они работают (рис.
РисунокДве формы представления информации в машинах
ЦВМ - цифровые вычислительные машины или вычислительные машины дискретного действия - работают с информацией, представленной в дискретной, а точнее в цифровой форме.
АВМ - аналоговые вычислительные машины, или вычислительные машины непрерывного действия - работают с информацией, представленной в непрерывной (аналоговой) форме, то есть в виде непрерывного ряда значений какой-либо физической величины (чаще всего электрического напряжения).
ГВМ - гибридные вычислительные машины или вычислительные машины комбинированного действия - работают с информацией, представленной и в цифровой, и в аналоговой форме; они совмещают в себе достоинства АВМ и ЦВМ. ГВМ целесообразно использовать для решения задач управления сложными быстродействующими техническими комплексами.
ПРИМЕЧАНИЕ АВМ весьма просты и удобны в эксплуатации; программирование задач для решения их на этих машинах, как правило, не трудоемкое. Скорость решения задач изменяется по желанию оператора и может быть сделана сколь угодно большой (больше чем у ЦВМ), неточность решения задач очень низкая (относительная погрешность до 2-5 %). На АВМ эффективно решаются математические задачи, содержащие дифференциальные уравнения, не требующие сложной логики.
В экономике (да и в науке и технике) получили подавляющее применение ЦВМ с электрическим представлением дискретной информации - электронные цифровые вычислительные машины, обычно называемые просто (ЭВМ), без упоминания об их цифровом характере. По этапам создания и элементной базе компьютеры условно делятся на поколения:
1-е поколение, 50-е годы: ЭВМ на электронных вакуумных лампах.
2-е поколение, 60-е годы: ЭВМ на дискретных полупроводниковых приборах (транзисторах).
3-е поколение, 70-е годы: компьютеры на полупроводниковых интегральных схемах с малой и средней степенью интеграции (сотни - тысячи транзисторов в одном корпусе).
ПРИМЕЧАНИЕ Интегральная схема - электронная схема специального назначения, выполненная в виде единого полупроводникового кристалла, объединяющего большое число активных элементов.
4-е поколение, 80-90-е годы: компьютеры на больших и сверхбольших интегральных схемах, основная из которых - микропроцессор (сотни тысяч - десятки миллионов активных элементов в одном кристалле).
ПРИМЕЧАНИЕ Большие интегральные схемы столь плотно упаковывают активные элементы, что все электронное оборудование компьютера 1-го поколения (монстра, занимавшего зал площадью 100-150 кв. м) размещается сейчас в одном микропроцессоре площадью 1, 5-2 кв. см. Расстояния между активными элементами в сверхбольшой интегральной схеме составляют 0, 15-0, 25 микрона (для сравнения, толщина человеческого волоса составляет несколько десятков микрон).
5-е поколение, настоящее время: компьютеры с многими десятками параллельно работающих микропроцессоров, позволяющих строить эффективные системы обработки знаний; компьютеры на сверхсложных микропроцессорах с параллелью-векторной структурой, одновременно выполняющих десятки последовательных инструкций программы
6-е и последующие поколения: оптоэлектронные компьютеры с массовым параллелизмом и нейронной структурой, с распределенной сетью большого числа (десятки тысяч) несложных микропроцессоров, моделирующих архитектуру нейронных биологических систем.
ПРИМЕЧАНИЕ Каждое следующее поколение компьютеров имеет по сравнению с предшествующим ему существенно лучшие характеристики. Так, производительность компьютеров и емкость всех запоминающих устройств увеличивается, как правило, больше чем на порядок.
По назначению компьютеры можно разделить на три группы (рис. 2. 6): универсальные (общего назначения); проблемно-ориентированные; специализированные

РисунокКлассификация компьютеров по назначению
Универсальные компьютеры предназначены для решения самых различных инженерно-технических, экономических, математических, информационных и т. д. задач, отличающихся сложностью алгоритмов и большим объемом обрабатываемых данных. Они широко используются в вычислительных центрах коллективного пользования и других мощных вычислительных комплексах.
Характерными чертами универсальных компьютеров являются: высокая производительность; разнообразие форм обрабатываемых данных: двоичных, десятичных, символьных, при большом диапазоне их изменения и высокой точности их представления; обширная номенклатура выполняемых операций, как арифметических, логических, так и специальных; большая емкость оперативной памяти; развитая организация системы ввода-вывода информации, обеспечивающая подключение разнообразных видов внешних устройств.
Проблемно-ориентированные компьютеры предназначены для решения более узкого круга задач, связанных, как правило, с управлением технологическими объектами; регистрацией, накоплением и обработкой относительно небольших объемов данных; выполнением расчетов по сравнительно несложным алгоритмам; они обладают ограниченными, по сравнению с универсальными компьютерами, аппаратными и программными ресурсами.
Специализированные компьютеры предназначены для решения определенного узкого круга задач или реализации строго определенной группы функций. Такая узкая ориентация компьютеров позволяет четко специализировать их структуру, существенно снизить их сложность и стоимость при сохранении высокой производительности и надежности их работы.
К специализированным компьютерам можно отнести, например, программируемые микропроцессоры специального назначения; адаптеры и контроллеры, выполняющие логические функции управления отдельными несложными техническими устройствами, агрегатами и процессами; устройства согласования и сопряжения работы узлов вычислительных систем.
По размерам и вычислительной мощности компьютеры разделяют (рис.2.7) на сверхбольшие (суперкомпьютеры, суперЭВМ), большие, малые, сверхмалые (микрокомпьютеры или микроЭВМ).
Рисунок 2.7 - Классификация компьютеров по размерам и вычислительной мощности
Функциональные возможности компьютеров обусловлены такими важнейшими технико-эксплуатационными характеристиками, как;
быстродействие, измеряемое усредненным количеством операций, выполняемых машиной за единицу врем.
разрядность и формы представления чисел, с которыми оперирует компьютер;
номенклатура, емкость и быстродействие всех запоминающих устройств;
номенклатура и технико-экономические характеристики внешних устройств хранения, обмена и ввода-вывода информации;
типы и пропускная способность устройств связи и сопряжения узлов компьютера между собой (тип внутримашинного интерфейса);
способность компьютера одновременно работать с несколькими пользователями и выполнять одновременно несколько программ (многопрограммность);
типы и технико-эксплуатационные характеристики операционных систем, используемых в машине;
наличие и функциональные возможности программного обеспечения;
способность выполнять программы, написанные для других типов компьютеров программная совместимо
система и структура машинных команд;
возможность подключения к каналам связи и вычислительной сети;
эксплуатационная надежность компьютера;
коэффициент полезного использования компьютера во времени, определяемый соотношением времени полезной работы и времени профилактики
Таблица 2. 2. Сравнительные параметры классов современных компьютеров
Параметры | Класс компьютера | |||
Суперкомпьютеры | Большие компьютеры | Малые компьютеры | Микрокомпьютеры | |
Производительность, MIPS | 0 | 10-1000 | 10-100 | |
Емкость ОП, Мбайт | 32-512 | |||
Емкость ВЗУ, Гбайт | 20-500 | 10-50 | ||
Разрядность, бит | 64-256 | 64-128 | 32-128 | 32-128 |
ПРИМЕЧАНИЕ MIPS - миллион операций в секунду над числами с фиксированной запятой.
Исторически первыми появились большие ЭВМ, элементная база которых прошла путь от электронных ламп до интегральных схем со сверхвысокой степенью интеграции.
Первая большая ЭВМ ЭНИАК (Electronic Numerical Integrator and Computer) была создана в 1946 году. Эта машина весила более 30 тонн; имела быстродействие несколько сотен операций в секунду; оперативную память емкостью 20 чисел; занимала огромный зал, площадью около 150 кв. м.
Производительность больших компьютеров оказалась недостаточной для ряда задач (прогнозирования метеообстановки, управления сложными оборонными комплексами, биологических исследований, моделирования экологических систем и др. ). Это явилось предпосылкой для разработки и создания суперкомпьютеров, самых мощных вычислительных систем, интенсивно развивающихся и в настоящее время. Появление в 70-х годах малых компьютеров обусловлено, с одной стороны, прогрессом в области электронной элементной базы, а с другой - избыточностью ресурсов больших ЭВМ для ряда приложений. Малые компьютеры используются чаще всего для управления технологическими процессами. Они более компактны и существенно дешевле больших компьютеров. Дальнейшие успехи в области элементной базы и архитектурных решений привели к возникновению супермини-компьютера - вычислительной машины, относящейся по архитектуре, размерам и стоимости к классу малых компьютеров, но по производительности сравнимой с большой ЭВМ. Изобретение в 1969 году микропроцессора (МП) привело к появлению в 70-х годах еще одного класса компьютеров - микрокомпьютеров. Именно наличие МП послужило первоначально определяющим признаком микрокомпьютеров. Сейчас микропроцессоры используются во всех без исключения классах компьютеров.
Рассмотрим кратко современное состояние некоторых классов компьютеров. Большие компьютеры Большие компьютеры за рубежом часто называют мэйнфреймами (mainframe); к ним относят, как правило, компьютеры, имеющие: • производительность не менее 100 MIPS; основную память емкостью от 512 доМбайт; внешнюю память не менее 100 Гбайт; многопользовательский режим работы (обслуживают одновременно от 01.01.01 пользователей). Основные направления эффективного применения мэйнфреймов - решение научно-технических задач, работа в вычислительных системах с пакетной обработкой информации, работа с большими базами данных, управление вычислительными сетями и их ресурсами. Последнее направление - использование мэйнфреймов в качестве больших серверов вычислительных сетей - часто отмечается специалистами как наиболее актуальное.
ПРИМЕЧАНИЕ Мэйнфреймы часто именуются большими серверами (серверами-мэйнфреймами). В принципе это допустимо, но иногда вносит путаницу в терминологию. Дело в том, что серверы - это многопользовательские компьютеры, используемые в вычислительных сетях. Серверы обычно относят к микрокомпьютерам, но по своим характеристикам мощные серверы можно отнести и к малым компьютерам, и даже к мэйнфреймам, а суперсерверы приближаются к суперкомпьютерам. Сервер - это классификационная группа компьютеров, выделяемая по сфере применения компьютеров, а микрокомпьютеры, малые компьютеры, мэйнфреймы, суперкомпьютеры - это классификационные группы компьютеров, выделяемые по размерам и функциональным возможностям. Родоначальником современных больших компьютеров, по стандартам которых в последние несколько десятилетий развивались машины этого класса в большинстве стран мира, являются машины фирмы IBM. Модели IBM 360 и IBM 370 с их архитектурой и программным обеспечением взяты за основу и при создании отечественной системы больших машин ЕС ЭВМ.
Среди лучших разработок мэйнфреймов за рубежом следует в первую очередь отметить американские:
- IBM 3090, IBM 4, 4341, 4361, 4381), пришедшие на смену IBM 380 в 1979 году (2-е поколение мэйнфреймов); IBM ES/9000, созданные в 1990 году (3-е поколение мэйнфреймов); S/390 и AS/е поколение мэйнфреймов).
Семейство мэйнфреймов IBM ES/9000 (ES - Enterprise System) открывает семейство больших компьютеров, включающее 18 моделей компьютеров, реализованных на основе архитектуры IBM 390:
- младшая модель ES/9221 model 120 имеет основную память емкостью 256 Мбайт, производительность десятки MIPS и 12 каналов ввода-вывода; старшая модель ES/9021 model 900 имеет 6 векторных процессоров, основную память емкостью 9 Гбайт, производительность тысячи MIPS и 256 каналов ввода-вывода, использующих волоконно-оптические кабели.
В 1997 году IBM завершила программу трансформации своих больших компьютеров на биполярных микросхемах в малогабаритные мэйнфреймы S/390, использующие КМОП-микросхемы. Семейство S/390 будет включать 14 моделей машин. Характеристики новых моделей по сравнению с характеристиками 3-го поколения мэйнфреймов улучшены примерно в 1, 3 раза (объем оперативной памяти примерно удваивается - до 16 Гбайт). В семейство S/390 входят мэйнфреймы от однопроцессорной модели с быстродействием 50 MIPS до 10-процессорной модели с ожидаемым быстродействием 500 MIPS. В настоящее время уже выпускаются модели S/390 на процессорах G4 и G5, S/390 Multiprice 2000. Для повышения производительности и других характеристик систем можно объединять до 32 машин S/390 в кластеры по технологии S/390 Parallel Sysplex (создавая, по существу, суперкомпьютер).
Семейство S/390 широко используется во всех странах мира, в том числе и в Российской Федерации (большую партию машин закупило, например, МПС РФ).
ПРИМЕЧАНИЕ Более того, учитывая высокую квалификацию наших специалистов, фирма IBM доверила выполнять сборку моделей семейства S/390 на предприятиях РФ.
В 1999 году была анонсирована система мэйнфреймов средней производительности AS/400, включающая в свой состав 12 моделей. Максимальная емкость оперативной памяти нового семейства составляет 16 Гбайт, а дисковой памяти - 2, 1 Тбайт. В уже выпускаемых моделях AS/400 серий 720, 730 и 740 используется до 12 процессоров Power PC и Pentium II. В настоящее время "бизнес-компьютеры" AS/400 - самые популярные в мире. Интенсивно закупаются они и в России банками, государственными структурами и прочими предприятиями. Популярность системы обусловлена хорошим соотношением производительность/цена, очень высокой надежностью (вероятность безотказной работы составляет 0, 9994), хорошим программным обеспечением.
Распространенными в мире являются и японские компьютеры М 1800 фирмы Fujitsu и Millennium фирмы Amdaxl (теперь дочернего предприятия корпорации Fujitsu), а также мэйнфреймы 8/*, 9/*, М2000 и С2000 немецкой фирмы Comparex Information Systems. Семейство мэйнфреймов М 1800 фирмы Fujitsu пришло в 1990 году на смену моделям V 780 и включает в себя 5 новых моделей: Model-20, 30, 45, 65, 85; старшие модели Model-45, 65, 85 - многопроцессорные компьютеры соответственно с 4, 6 и 8 процессорами; последняя, старшая модель имеет основную память емкостью 2 Гбайт и 256 каналов ввода-вывода.
Новое, 4-е поколение мэйнфреймов (преемник машин 3-го поколения Millennium 400 и 500) фирма Amdahl стала выпускать в 1999 году. Пока выпускаются модели Millennium 700 и 800; первые имеют производительность 685 MIPS, а вторые - 1000 MIPS и содержат по 12 процессоров.
Немецкая фирма Comparex выпускала мэйнфреймы 3-го поколения (сейчас поставляются second-hand системы): модели 8/8х, 8/9х, 9/8xx, 9/9xx, 99/xxx, содержащие до 8 процессоров, оперативную память до 8 Гбайт и имеющие производительность от 20 до 385 MIPS. В настоящее время выпускаются мэйнфреймы 4-го поколения: М2000 и С2000, имеющие производительность соответственно до 990 и 870 MIPS, объем оперативной памяти до 8000 иМбайт. Среднее время наработки на отказ у этих систем чрезвычайно большое - 12 лет. По сравнению с машинами 3-го поколения существенно уменьшились габариты (конструктив 1-2 шкафа) и потребляемая мощность (8-процессорная модель М2000 потребляет 50 КВА, а 8-процессорная модель 99/xxx - 171 КВА и требует водяного охлаждения).
На российских предприятиях используется большое количество мэйнфреймов Comparex, в частности в РАО "Газпром", в Главном управлении информационных ресурсов ФАПСИ и т. д.
Зарубежными фирмами рейтинг мэйнфреймов определяется по многим показателям, среди них:
- надежность, производительность; емкость основной и внешней памяти; время обращения к основной памяти; время доступа и трансфер внешних запоминающих устройств; характеристики кэш-памяти; количество каналов и эффективность системы ввода-вывода; аппаратная и программная совместимость с другими компьютерами; поддержка сети и т. д.
Внешний вид типичного мэйнфрейма показан на рис.Внешний вид большой вычислительной машины

Достаточно подробное рассмотрение мэйнфреймов в настоящем разделе обусловлено тем, что современному пользователю компьютера, привыкшему к повсеместному засилью ПК, трудно объяснить, что бывает и другая вычислительная техника. По данным экспертов, на мэйнфреймах сейчас находится около 70 % "компьютерной" информации; только в США установлены сотни тысяч мэйнфреймов.
Малые компьютеры Малые компьютеры (мини-ЭВМ) - надежные, недорогие и удобные в эксплуатации компьютеры, обладающие несколько более низкими по сравнению с мэйнфреймами возможностями. Мини-компьютеры (и наиболее мощные из них супермини-компьютеры) обладают следующими характеристиками:
- производительность - до 1000 MIPS; емкость основной памяти - до 8000 Мбайт; емкость дисковой памяти - до 1000 Гбайт; число поддерживаемых пользователей - 16-1024.
Все модели мини-компьютеров разрабатываются на основе микропроцессорных наборов интегральных микросхем, 32-, 64- и 128-разрядных микропроцессоров. Основные их особенности:
- широкий диапазон производительности в конкретных условиях применения; аппаратная реализация большинства системных функций ввода-вывода информации; простая реализация микропроцессорных и многомашинных систем; высокая скорость обработки прерываний; возможность работы с форматами данных различной длины.
К достоинствам мини-компьютеров можно отнести:
- специфичную архитектуру с большой модульностью; лучшее чем у мэйнфреймов соотношение производительность/цена; повышенная точность вычислений.
Мини-компьютеры ориентированы на использование в качестве управляющих вычислительных комплексов. Традиционная для подобных комплексов широкая номенклатура периферийных устройств дополняется блоками межпроцессорной связи, благодаря чему обеспечивается реализация вычислительных систем с изменяемой структурой. Наряду с использованием мини-компьютеров для управления технологическими процессами, они успешно применяются для вычислений в многопользовательских вычислительных системах, в системах автоматизированного проектирования, в системах моделирования несложных объектов, в системах искусственного интеллекта.
Родоначальником современных мини-компьютеров можно считать компьютеры PDP-11 фирмы DEC (США), они явились прообразом и наших отечественных мини-ЭВМ - Системы Малых ЭВМ (СМ ЭВМ): СМ 1, 2, 3, 4, 1400, 1700 и т. д. В настоящее время семейство мини-компьютеров PDP-11 включает большое число моделей, начиная от VAX-11 до VAX-3600; мощные модели мини-компьютеров класса 8000 (VAX-8250, 8820); супермини-компьютеры класса 9000 (VAX-9410, 9430) и т. д.
Модели VAX обладают широким диапазоном характеристик:
- количество процессоров от 1 до 32; производительность от 01.01.01 MIPS; емкость основной памяти - от 512 Мбайт до 2 Гбайт; емкость дисковой памяти - от 50 до 500 Гбайт; число каналов ввода-вывода до 64.
Мини-компьютер VAX полностью перекрывают весь диапазон характеристик этого класса компьютеров и в подклассе супермини-компьютеры стирают грань с мэйнфреймами.
Среди прочих мини-компьютеров следует отметить:
- однопроцессорные: IBM 4381, HP 9000; многопроцессорные: Wang VS 7320, AT&T 3В 4000; супермини-компьютеры HS4000, по характеристикам не уступающие мэйнфреймам.
Микрокомпьютеры. Микрокомпьютеры весьма многочисленны и разнообразны. Среди них можно выделить несколько подклассов (рис.

Рисунок 2.9 - Классификация микроЭВМ
Многопользовательские микрокомпьютеры - это мощные микрокомпьютеры, оборудованные несколькими видеотерминалами и работающие в режиме разделения времени, что позволяет эффективно работать на них сразу нескольким пользователям.
Персональные компьютеры - однопользовательские микрокомпьютеры, удовлетворяющие требованиям общедоступности и универсальности применения. Рабочие станции (work station) представляют собой однопользовательские микрокомпьютеры, часто специализированные для выполнения определенного вида работ (графических, инженерных, издательских и т. д. ).
Серверы (server) - многопользовательские мощные микрокомпьютеры в вычислительных сетях, выделенные для обработки запросов от всех рабочих станций сети.
Сетевые компьютеры (network computer) - упрощенные микрокомпьютеры, обеспечивающие работу в сети и доступ к сетевым ресурсам, часто специализированные на выполнении определенного вида работ (защита сети от НСД, организация просмотра сетевых ресурсов, электронной почты и т. д. ).
Персональные компьютеры Персональные компьютеры (ПК) относятся к классу микрокомпьютеров, но ввиду их массовой распространенности заслуживают особого внимания.
Для удовлетворения требованиям общедоступности и универсальности применения ПК должны обладать такими качествами, как:
- малая стоимость ПК, находящаяся в пределах доступности для индивидуального покупателя; автономность эксплуатации без специальных требований к условиям окружающей среды; гибкость архитектуры, обеспечивающая ее адаптируемость к разнообразным применениям в сфере управления, науки, образования, в быту; дружественность операционной системы и прочего программного обеспечения, обусловливающая возможность работы с ней пользователя без специальной профессиональной подготовки; высокая надежность работы (более 5000 часов наработки на отказ).
Среди современных ПК в первую очередь следует отметить компьютеры американской фирмы IBM (International Business Machine Corporation):
- IBM PC XT (Personal Computer extended Technology); IBM PC AT (Personal Computer Advanced Technology) на микропроцессорах (МП) 80разрядн); IBM PS/2 8030 - PS/2 8080 (PS Personal System, все кроме PS/2 8разрядные, PS/2 8р); IBM PC на МП 80386 и 80разрядные); IBM PC на МП Pentium - Pentium 4 (64-разрядные).
Широко известны персональные компьютеры, выпускаемые фирмами США: Apple (Macintosh), Compaq Computer, Hewlet Packard, Dell, DEC (Digital Equipment Corporation), а также фирмами Великобритании: Spectrum, Amstrad; Франции: Micral; Италии: Olivetty; Японии: Toshiba, Panasonic и Partner.
Наибольшей популярностью в настоящее время пользуются персональные компьютеры фирмы IBM, первые модели которых появились в 1981 году, и их аналоги других фирм; существенно им уступают по популярности ПК фирмы Apple (Macintosh) и их аналоги, занимающие по распространенности 2-е место. В настоящее время мировой парк компьютеров составляет более четверти миллиона штук, из них около 90 % - это персональные компьютеры (компьютеров типа IBM PC более 80 % всех ПК). Самыми распространенными моделями компьютеров в настоящее время являются IBM PC с микропроцессорами Pentium II, III, 4.
ТаблицаОсновные усредненные характеристики современных ПК IBM PC
Параметр | Тип микропроцессора | |||||
80486 DX | Pentium | Pentium Celeron | Pentium II | Pentium III | Pentium 4 | |
Тактовая частота, МГц | 50-100 | 75-200 | 330-800 | 220-500 | 500-900 | |
Разрядность, бит | 32 | 64 | 64 | 64 | 64 | 64 |
Объем ОЗУ, Мбайт | 4, 8, 16 | 8, 16, 32 | 32, 64, 128 | 32, 64, 128 | 64, 128, 256 | 128, 256, 1512 |
Объем кэш-памяти, Кбайт | 256 | 256, 512 | 128-1 уровень, 512, 1024 | 256, 512, 1024 | 256, 512, 1024 | 512, 1024, 2048 |
Емкость НЖМД, Гбайт | 0,8-2,0 | 1, 0-6. 4 | 4, 3-20, 0 | 6, 4-20, 0 | 10, 0-30, 0 | 20, 0-50, 0 |
Отечественная промышленность (страны СНГ) выпускала Apple-совместимые (диалоговые вычислительные комплексы ДВК-1 - ДВК-4 на основе "Электроники МС-1201", "Электроника 85", "Электроника 32" и т. п. ) и IBM PC-совместимые (ЕС1840 - ЕС1842, ЕС1845, ЕС1849, ЕС1861, "Искра 1030", "Истра 4815", "Нейрон И9. 66" и т. д. ) компьютеры. Персональные компьютеры можно классифицировать по ряду признаков.
По поколениям персональные компьютеры делятся на следующие:
- 1-го поколения - используют 8-битные микропроцессоры; 2-го поколения - используют 16-битные микропроцессоры; 3-го поколения - используют 32-битные микропроцессоры; 4-го поколения - используют 64-битные микропроцессоры.
Классификация ПК по конструктивным особенностям показана на рис. 2.10.

Рисунок 2.10 - Классификация ПК по конструктивным особенностям
3. Многомашинные и многопроцессорные ВС
Вычислительные системы могут строиться на базе нескольких компьютеров или на базе нескольких процессоров. В первом случая ВС будет многомашинной, во втором - многопроцессорной.
Многомашинная ВС содержит некоторое число компьютеров, информационно взаимодействующих между собой. Машины могут находиться рядом друг с другом, а могут быть удалены друг от друга на некоторое, иногда значительное расстояние (вычислительные сети).
В многомашинных ВС каждый компьютер работает под управлением своей операционной системы (ОС). А поскольку обмен информацией между машинами выполняется под управлением ОС, взаимодействующих друг с другом, динамические характеристики процедур обмена несколько ухудшаются (требуется время на согласование работы самих ОС). Информационное взаимодействие компьютеров в многомашинной ВС может быть организовано на уровне: процессоров; оперативной памяти; каналов связи.
При непосредственном взаимодействии процессоров друг с другом информационная связь реализуется через регистры процессорной памяти и требует наличия в ОС весьма сложных специальных программ. Взаимодействие на уровне оперативной памяти (ОП) сводится к программной реализации общего поля оперативной памяти, что несколько проще, но также требует существенной модификации ОС. Под общим полем имеется в виду равнодоступность модулей памяти: все модули памяти доступны всем процессорам и каналам связи. На уровне каналов связи взаимодействие организуется наиболее просто и может быть достигнуто внешними по отношению к ОС программами-драйверами, обеспечивающими доступ от каналов связи одной машины к внешним устройствам других (формируется общее поле внешней памяти и общий доступ к устройствам ввода-вывода).
Все вышесказанное иллюстрируется схемой взаимодействия компьютеров в двухмашинной ВС, представленной на рис.

Рисунок 2.11 - Схема взаимодействия компьютеров в ВС
Ввиду сложности организации информационного взаимодействия на 1-ми 2-м уровнях в большинстве многомашинных ВС используется 3-й уровень, хотя и динамические характеристики (в первую очередь быстродействие), и показатели надежности таких систем существенно ниже. В многопроцессорной ВС имеется несколько процессоров, информационно взаимодействующих между собой либо на уровне регистров процессорной памяти, либо на уровне ОП. Этот тип взаимодействия используется в большинстве случаев, ибо организуется значительно проще и сводится к созданию общего поля оперативной памяти для всех процессоров. Общий доступ к внешней памяти и устройствам ввода-вывода обеспечивается обычно через каналы ОП, Важным является и то, ч го многопроцессорная вычислительная система работает под управлением единой ОС, общей для всех процессоров. Это существенно улучшает динамические характеристики ВС, но требует наличия специальной, весьма сложной ОС. Схема взаимодействия процессоров в ВС показана на схеме рис.Быстродействие и надежность многопроцессорных ВС по сравнению с многомашинными, взаимодействующими на 3-м уровне, существенно повышаются, во-первых, ввиду более быстрого обмена информацией между процессорами, более быстрого реагирования на ситуации, возникающие в системе; во-вторых, ввиду большей степени резервирования устройств системы (система сохраняет работоспособность, пока работоспособны хотя бы по одному модулю каждого типа устройств). Типичным примером массовых многомашинных ВС могут служить компьютерные сети, примером многопроцессорных ВС - суперкомпьютеры.

Рисунок 2.12 - Схема взаимодействия процессоров в ВС
Суперкомпьютеры и особенности их архитектуры
К суперкомпьютерам относятся мощные многопроцессорные вычислительные машины с быстродействием сотни миллионов - десятки миллиардов операций в секунду.
Типовая модель суперкомпьютера 2001 года:
- высокопараллельная многопроцессорная вычислительная система с быстродействием порядка MFloPS; емкость: оперативной памяти 10 Гбайт, дисковой памяти 1-10 Тбайт (1 Тбайт = = 1000 Гбайт); разрядность 64-128 бит.
В декабре 1996 года фирма Intel объявила о создании суперкомпьютера Sandia, впервые в мире преодолевшего терафлопный барьер быстродействия. За 1 час 40 минут компьютер выполнил 6, 4 квадриллиона вычислений с плавающей запятой. Конфигурация, достигшая производительности 1060 MFLoPS по тесту МР Linpack, представляла собой 57 шкафов, содержащих более 7000 процессоров Pentium Pro с тактовой частотой 200 МГц и оперативную память 454 Гбайт. Окончательный вариант суперкомпьютера имеет производительность 1, 4 TFLoPS. Он состоит из 86 шкафов общей площадью 160 кв. м. В этих шкафах размещается 573 Гбайт оперативной и 2250 Гбайт дисковой памяти. Масса компьютера составляет около 45 тонн, а пиковое потребление энергии - 850 кВт.
В 1998 году японская фирма NEC Corporation сообщила о создании суперкомпьютеров SX-5, выполняющих 4 триллиона FLoPS, содержащих 512 процессоров и обеспечивающих общую скорость передачи данных 32 Тбайт/с.
Наконец, недавно фирма IBM объявила о разработке нового суперкомпьютера, который будет содержать более миллиона микропроцессоров Pentium III и иметь быстродействие порядка 1015 операций/с.
Создать такие высокопроизводительные компьютеры на одном микропроцессоре (МП) не представляется возможным ввиду ограничения, обусловленного конечным значением скорости распространения электромагнитных волн (км/с), ибо время распространения сигнала на расстояние несколько миллиметров (линейный размер стороны МП) при быстродействии 100 млрд операций/с становится соизмеримым со временем выполнения одной операции. Поэтому суперкомпьютеры создаются в виде высокопараллельных многопроцессорных вычислительных систем (МПВС).
Высокопараллельные МПВС имеют несколько разновидностей.
Магистральные (конвейерные) МПВС, у которых процессор одновременно выполняет разные операции над последовательным потоком обрабатываемых данных. По принятой классификации такие МПВС относятся к системам с многократным потоком команд и однократным потоком данных (МКОД или MISD - Multiple Instruction Single Data). Векторные МПВС, у которых все процессоры одновременно выполняют одну команду над различными данными - однократный поток команд с многократным потоком данных (ОКМД или SIMD - Single Instruction Multiple Data).ПРИМЕЧАНИЕ Принцип SIMD используется и для повышения производительности микропроцессоров - суперскалярные (векторные) МП Pentium III, Pentium 4, Power PC и т. д.
Матричные МПВС, у которых микропроцессор одновременно выполняет разные операции над последовательными потоками обрабатываемых данных - многократный поток команд с многократным потоком данных (МКМД или MIMD - Multiple Instruction Multiple Data).Условные структуры однопроцессорной (SISD) и названных многопроцессорных ВС показаны на рис.
В суперкомпьютере используются все три варианта архитектуры МПВС:
- структура MIMD в классическом ее варианте (например, в суперкомпьютере BSP фирмы Burrought); параллельно-конвейерная модификация, иначе MMISD, то есть многопроцессорная (Multiple) MISD-архитектура (например, в суперкомпьютерах "Эльбрус 3, 4")l параллельно-векторная модификация, иначе MSIMD, то есть многопроцессорная SIMD-архитектура (например, в суперкомпьютере Cray 2).
Наибольшую эффективность показала MSIMD-арХитектура, поэтому в современных суперкомпьютерах чаще всего используется именно она (суперкомпьютеры фирм Cray, Fujistu, NEC, Hitachi и т. д. ). Первый суперкомпьютер была задуман в 1960 и создан в 1972 году (машина ILLIAC IV с производительностью 20 MFloPS), а начиная с 1974 года лидерство в разработке суперкомпьютеров захватила фирма Cray Research, выпустившая Cray 1 производительностью 160 MFloPS и объемом оперативной памяти 64 Мбайт, а в 1984 году - Cray 2, в полной мере реализовавший архитектуру MSIMD и ознаменовавший появление нового поколения суперкомпьютеров. Производительность Cray MFloPS, объем оперативной памяти - 2 Гбайт. Классическое соотношение, ибо критерий сбалансированности ресурсов компьютера - "каждому MFloPS производительности процессора должно соответствовать не менее 1 Мбайт оперативной памяти".
В настоящее время в мире насчитывается несколько тысяч суперкомпьютеров, начиная от простых офисных Cray EL до мощных Cray 3, Cray 4, Cray Y-MP C90 фирмы Cray Research, Cyber 205 фирмы Control Data, SX-3 и SX-X фирмы NEC, VP 2000 фирмы Fujitsu (обе фирмы японские), VPP 500 фирмы Siemens (ФРГ) и т. д. , производительностью несколько десятков тысяч MFloPS.

Рисунок 2.13 - Условные структуры МПВС: а - структура SISD - однопроцессорной суперЭВМ; б - структура MISD - конвейерной (магистральной) суперЭВМ; в - структура SIMD - векторной суперЭВМ; г - структура MIMD - матричной суперЭВМ
Среди лучших суперкомпьютеров можно отметить и отечественные суперкомпьютеры. В сфере производства суперкомпьютеров Россия, пожалуй, впервые, представила собственные оригинальные модели компьютеров (все остальные, включая и ПЭВМ, и малые ЭВМ, и универсальные компьютеры за редким исключением, например, ЭВМ "Рута ПО", копировали зарубежные разработки и, в первую очередь, разработки фирм США).
В СССР, а позднее в России была разработана и реализуется (сейчас, правда, почти заморожена) государственная программа разработки суперкомпьютеров. В рамках этой программы были разработаны и выпущены такие суперкомпьютеры, как повторяющая архитектуру Cray: "Электроника СС БИС"; оригинальные разработки: ЕС 1191, ЕС 1195, ЕС 1191. 01, ЕС 1191. 10, "Эльбрус 1, 2, 3".
Разработка ЕС 1191 с производительностью 1200 MFloPS из-за нехватки средств заморожена; офисные варианты ЕС 1195, ЕС 11имеют производительность соответственно 50 MFloPS и 500 MFloPS; практически заморожена и разработка ЕС 11с производительностью 2000 MFloPS.
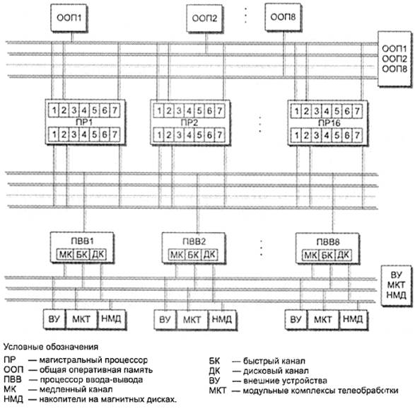
На рис.приведена структура суперкомпьютера "Эльбрус 3", разработанного в Институте точной механики и вычислительной техники (ИТМ и ВТ, Москва). Характеристики суперкомпьютера "Эльбрус 3":
- производительностьMFloPS; разрядность 64 бит (можно работать и с 128-разрядными словами); 8 магистральных процессоров по 7 арифметико-логических устройств и 16 Мбайт оперативной памяти в каждом (итого - 256 Мбайт); общая оперативная память - 8 блоков по 256 Мбайт (итого 2048 Мбайт); суммарная емкость оперативной памяти 16 • 16 + 8 • 256 = 2304 (Мбайт); 8 процессоров ввода-вывода, каждый из которых имеет:
- медленный канал; быстрый канал; дисковый канал для обмена данными, соответственно, с внешними устройствами, модульными комплексами телеобработки и накопителями на магнитных дисках, часто с дисковыми массивами типа RAID.

Рис.Структурная схема суперкомпьютера "Эльбрус"
Используются операционные системы "Эльбрус" и UNIX, поддерживающие большое число языков программирования: Эль, Фортран, Паскаль, Кобол, Пролог и т. д.
Суперкомпьютер "Эльбрус 3Б" медленно, но продолжает разрабатываться, ожидаемая его производительность -MFloPS.
Для суперкомпьютера "Эльбрус" разработан один из первых в мире микропроцессор "Эль2К", имеющий VLIW-архитектуру.
Кластерные суперкомпьютеры
Как уже упоминалось выше, в настоящее время развивается технология построения больших и суперкомпьютеров на базе кластерных решений. По мнению многих специалистов, на смену отдельным, независимым суперкомпьютерам должны прийти группы высокопроизводительных серверов, объединяемых в кластер. Удобство построения кластерных ВС заключается в том, что можно гибко регулировать необходимую производительность системы, подключая к кластеру с помощью специальных аппаратных и программных интерфейсов обычные серийные серверы до тех пор, пока не будет получен суперкомпьютер требуемой мощности. Кластеризация позволяет манипулировать группой серверов как одной системой, упрощая управление и повышая надежность.
Важной особенностью кластеров является обеспечение доступа любого сервера к любому блоку как оперативной, так и дисковой памяти. Эта проблема успешно решается, например, объединением систем SMP-архитектуры на базе автономных серверов для организации общего поля оперативной памяти и использованием дисковых систем RAID для памяти внешней (SMP - Shared Memory multiprocessing, технология мультипроцессирования с разделением памяти).
Программное обеспечение для кластерных систем уже выпускается. Примером может служить компонент Cluster Server операционной системы MS Windows NT/2000 Enterprise. Этот компонент, более известный под кодовым названием Wolfpack, обеспечивает как функции управления кластером, так и функции диагностирования сбоев и восстановления (Wolfpack определяет сбой программы или отказ сервера и автоматически переключает поток вычислений на другие работоспособные серверы).
На конференции SUPercomputing 2000 несколько фирм (Dell, SunMicrosystem, IBM) уже продемонстрировали свои достижения в области суперкомпьютерных кластерных технологий (фирма IBM, например, продемонстрировала модель человеческого сердца, реализованную в кластере серверов RS/6000). Эта же фирма в 2001 году представила одну из самых мощных кластерных систем ASCI White, содержащую 8192 микропроцессора IBM Power 3, основную память емкостью 6 Тбайт, дисковую память емкостью 160 Тбайт; общая производительность кластера 12, 5 TFloPS (триллионов операций в секунду). Все фирмы отмечают существенное снижение стоимости кластерных систем по сравнению с локальными суперкомпьютерами, обеспечивающими ту же производительность.
Основные достоинства кластерных суперкомпьютерных систем:
- высокая суммарная производительность; высокая надежность работы системы; наилучшее соотношение производительность/стоимость; возможность динамического перераспределения нагрузок между серверами; легкая масштабируемость, то есть наращивание вычислительной мощности путем подключения дополнительных серверов; удобство управления и контроля работы системы.



