Министерство образования Российской Федерации
НОВОСИБИРСКИЙ ГОСУДАРСТВЕННЫЙ ТЕХНИЧЕСКИЙ УНИВЕРСИТЕТ
Краткое конспективное изложение
лекционного материала
по ОПЕРАЦИОННЫМ СИСТЕМАМ

Новосибирск
Аннотация
Рассматриваем операционные системы (ОС), как фундаментальные концепции и принципы построения справедливыe для большинства ОС.
Лекционный материал включает разделы.
- Введение в ОС. Управление заданиями, задачами. Диспетчеризация задач, процессов. Управление процессами – синхронизация, передача сообщений между процессами, управление процессами в Unix, управление памятью в Unix. Управление оперативной памятью.
ОС – это комплекс управляющих и обрабатывающих программ для
· Обеспечения интерфейса между аппаратурой и пользователями.
· Обеспечения наибольшей эффективности использования ресурсов вычислительной системы.
· Надежных вычислений.
ОС должна скрыть от пользователя сложность управления вычислительными ресурсами (как программными, так и аппаратными).
ЛЕКЦИЯ 1
Введение в операционные системы
Операционная система выполняет следующие основные функции
1. ОС - как расширенная машина. ОС – предлагает абстракции, которые намного проще и удобнее в обращении, чем основное оборудование непосредственно. ОС предоставляет возможности, которые используют программы с помощью системных вызовов.
2. ОС - как менеджер ресурсов. ОС обеспечивает организацию и контролирует распределение процессора, памяти, устройств ввода/вывода, системных программ между различными программами, конкурирующими за право доступа к ним. Обрабатывает запросы на ресурсы, организует подсчет коэффициентов загрузки ресурсов, разрешает проблемы конфликтующих запросов от различных программ и пользователей. Управления ресурсами подразумевает мультипрограммирование - ситуация когда несколько программ-пользователей одновременно находятся в вычислительной системе (ВС) и разделяют основной ресурс процессор (CPU) по правилам диспетчеризации.
Функции ОС.
Обработка прерываний. Динамическое управление памятью. Загрузка программ в ОП для выполнения. Обработка окончания программ. Управление службой времени.6. Возобновление программы с контрольной точки (по окончании части программы либо по окончании функции, либо внутри нее).
Защита памяти. Управление одновременным выполнением задач.Далее на рисунке показано, как взаимодействуют пользователь, задачи, процессы, под - процессы. (рис.1)


Рис.1. Взаимодействие пользователя – задачи – процесса - подпроцесса
Обзор ОС
Mainframe.Ориентируются на обработку множества одновременных заданий, которым требуется огромное количество вводо – выводных операций.
Мэйнфреймы предполагает следующую обработку
- Пакетная обработка – системы с пакетной обработкой стандартных заданий без присутствия пользователя. Планирование доступа к ресурсам осуществляется только один раз. Обработка транзакций - управление множеством небольших запросов, т. е. система должна реагировать на сотни или тысячи запросов в секунду. Разделение времени – режим, при котором у множества пользователей создается иллюзия монопольного владения ресурсом.
Функционирование на серверах, которые представляют собой рабочие станции, мэйнфремы или большие персональные компьютеры. СОС предоставляют возможность работать с ИНТЕРНЕТОМ.
Многопроцессорные ОС.Для увеличения мощности вычислений нескольких процессоров объединяются в один. Многопроцессорные – серверные ОС со специальными возможности связи.
Главный параметр этих ОС - время, используется в системах управления производством.
Современные операционные системы рассчитаны на поддержку многозадачности.
Проблемы, которые возникают при многозадачности.
В ОС создается и выполняется множество параллельных работ. Количество создаваемых процессов может быть намного больше, чем число заданий. В ОС создается множество управляющих таблиц, т. е. говорят о методе управления вычислительными ресурсами на основе управляющих таблиц; Процессы периодически требуют общие ресурсы. Все процессы постоянно обращаются к управляющей программе – ядру системы для получения ресурсов.По числу пользователей ОС разделяются на:
· однопользовательские: OS/2, MSDOS;
· многопользовательские: UNIX, Windows NT, 2000 – управляют разделениями совместно используемых ресурсов.

Вопросы по лекции №1:
Что такое ОС? (дать одно из определений) Назвать основные функции? (назвать одно из основных функций) Основные виды ОС. Назовите пример СОС (Что такое СОС?) Перечислить проблемы, которые возникают при многозадачности.ЛЕКЦИЯ 2
Планирование доступа к вычислительным ресурсам
Математическое обеспечение (МО) – это совокупность алгоритмов, алгоритмических языков, математических методов и программного обеспечения, предназначенных для увеличения эффективности решения задач.
Программное обеспечение (ПО) – совокупность регулярно используемых программ при эксплуатации вычислительных систем.


Управление заданиями.
Задание – это максимальная единица работы для системы, задания являются независимыми и выполняются параллельно.
Пример исполнения заданий во времени
К – коэффициент мультипрограммирования (коэффициент многозадачности).


Рис.2 Временная диаграмма исполнения задания
Составим матрицу трудоемкости:
Tпост – время поступления
№ | Tпост | Трудоемкость |
1 | 1 | 4,33 |
2 | 2 | 2,33 |
3 | 4 | 1,33 |
Табл. 1 Матрица трудоемкости
Особенности управления заданиями
В системе одновременно создается и выполняется множество параллельных работ – заданий. Количество процессов в системе может быть больше, чем количество заданий. В операционной системе создается множество управляющих таблиц, т. е. управление в системе основано на методе управляющих таблиц. Процессы периодически требуют общие ресурсы (внешние устройства, CPU, системные таблицы, системные программы и др.). Все процессы постоянно обращаются к управляющей программе Супервизору (SV)- головная программа, для управления ресурсами. Сложность функционирования многопользовательской ОС обусловлена существованием параллельных процессов, ограниченностью оперативной памяти (ОП), разнообразием внешних устройств, требованием эффективности при различных нагрузках системы.Шаг задания - это составная часть задания, выполняемая самостоятельно. Шаги выполняются строго последовательно и взаимодействуют.
Таблица 2. Таблица задания Job Control Block (JCB)
Схема функционирования ОС
ПРЕДСТАВЛЕНИЕ – это этап считывания информации (считывается и анализируется).
ХРАНЕНИЕ – задание записано на диск в соответствующей форме, но ресурсы заданию не выделены.
ВЫПОЛНЕНИЕ – процесс получает процессор.
ОЖИДАНИЕ - пассивное состояние процесса, процесс заблокирован, он не может выполняться по своим внутренним причинам, он ждет осуществления некоторого события, например, завершения операции ввода-вывода, получения сообщения от другого процесса, освобождения какого-либо необходимого ему ресурса.
ГОТОВНОСТЬ - процесс имеет все требуемые для него ресурсы, он готов выполняться, однако процессор занят выполнением другого процесса.
ЗАВЕРШЕНИЕ – все ресурсы у процесса забраны (ликвидированы).


Рис. 3 Схема функционирования ОС
Комментарий к рисунку 3
Переход по диспетчеру. Переход по таймеру. Переход по ресурсу. Ресурс выделен.Дисциплины обслуживания очередей
Дисциплина обслуживания (ДО) – правило работы с очередью (формирование очереди), обслуживание очереди и др.
Классификация ДО.
1. Бесприоритетные.
1.1. Линейные.
1.1.1. FIFO.
1.1.2. LIFO.
1.1.3. RAND.
1.2. Циклические.
1.2.1. RR (round robbing).
1.2.2. FB (Feed back).
1.2.3. Смешанный.
2. Приоритетные.
2.1. С фиксированным приоритетом.
2.1.1. ОП – относительный приоритет.
2.1.2. АП - абсолютный приоритет.
2.1.3. Адаптивное обслуживание.
2.2. С динамическим приоритетом.
2.2.1. В зависимости от времени ожидания.
2.2.2. В зависимости от времени выполнения.
Беcприоритетные ДО
БДО - выбирают заявки без учета их важности, например, по признаку последовательности поступления.
Линейные ДО характеризуются одинаковым среднем временем ожидания не зависимо от длительности заявки (т. е. трудоемкости).
Линейные ДО:
FIFO - "первый пришел, первый вышел"; LIFO - принцип стека; RAND - обслуживание в произвольном порядке.
Циклические ДО;
RR - Robin Round (круговой циклический алгоритм) На рисунке 4 представлена схема циклической ДО (RR)
Рис.4.Схема циклической ДО (RR)
FB - Feed Back (обратная связь) - многоуровневый циклический алгоритм. На рисунке 5 представлена схема циклической ДО (FB)

Рис. 5. Схема циклической ДО (FB)
Работа схемы: n=1 - это первая очередь, в нее поступает входной поток заявок. Из нее заявка поступает на ресурс и/или полностью обслуживается или снова поступает в очередь, но с номером на 1 больше. Поток заявок поступает в первую очередь n=1. Заявка получает квант и переходит в очередь n+1. Заявка в i-ой очереди обслуживается,
если пусты все остальные очереди. В очереди N заявки обслуживаются до завершения (в очереди N принцип FIFO + RR).
Смешанный алгоритм
На рисунке 6 представлена схема алгоритма обслуживания с учетом ДО (RR и FB)
Рис.6. Схема алгоритма обслуживания с учетом ДО (RR и FB)
Каждая заявка проходит в i-ой очереди несколько кругов и только потом переходит в очередь i+1.
Достоинство смешанного алгоритма - сокращаются накладные расходы на перевод в другие очереди.
Приоритетные ДО
Фиксированный приоритет
Относительный приоритет (ОП)
Выполнение приоритетной заявки не прерываются при поступлении более приоритетной. На рисунке 7 представлена схема алгоритма ДО(относительный приоритет ОП). 
Рис. 7. Схема обслуживания заявок при относительном приоритете (ОП).
Если поступило несколько заявок одного приоритета, то в очереди они обслуживаются по принципу FIFO.
Вопросы по лекции №2:
Что такое МО? Что такое ПО? Нарисовать схему функционирования ОС. Пояснить пункт в схеме функционирования ОС – ГОТОВНОСТЬ. Нарисовать таблицу управления заданиями.ЛЕКЦИЯ 3
Приоритетные дисциплины обслуживания
Абсолютный приоритет (АП)


Рис. 8 Схема ДО с Абсолютным приоритетом
Приоритетная заявка может прервать выполнение менее приоритетной.
Адаптивное обслуживание
В этом случае решения об абсолютном или относительном приоритетах принимаются в зависимости от обстановки. Для решения этого вопроса взвешивается - "что стоит" прерывание.
Пусть
- Ci – стоимость ожидания для I – ой работы; Cj – стоимость ожидания для j – ой работы; Ti – трудоемкость I – ой работы; Tj– трудоемкость j– ой работы; I – высокоприоритетная работа; J – менее приоритетная работа;
Если Tj * Ci < Ti * Cj – то работа не прерывается
ДО с динамическим приоритетом
На процессоре развиваются 3 задачи, начальный приоритет всех работ одинаков. Каждой работе (задаче) требуется три кванта процессорного времени (3∆t).
На рисунке 9 представлена Временная диаграмма изменения приоритета от времени. Если низкоприоритетная заявка ожидает длительное время, необходимо повысить приоритет. Для ДО с линейно возрастающим приоритетом характерна зависимость:
Pi (t) = ai*tож + bi * tвып, где Pi(t) - приоритет i - ой работы

Рис. 9 Временная диаграмма изменения приоритета от времени.
1 работа
3 работа
2 работа


Рис. 10 Временная диаграмма работы диспечера.
Планирование по критерию MIN суммарного времени выполнения работы
Введение.
Данный критерий - непригоден, когда требовался только один ресурс - процессор. Рассмотрим схему формирования очередей к ресурсам: к внешним устройствам (возьмем устройство Ввода/Вывода - УВВ) и к CPU.
На рисунке 11 приведена схема формирования очередей к ресурсам.
Очередь Очередь τi
Рис.11. Схема формирования очередей к ресурсам
НЕОБХОДИМО. Представить вычислительной системе задания так, чтобы получить минимум общего времени обслуживания набора заданий.
ПРИМЕР планирования.
Задано
Пакет из n заданий. Задание характеризуется временем ввода Qi и временем счета τi. В системе учитывается два ресурса CPU и устройство ввода-вывода. Каждое устройства может обрабатывать только одно задание. Внешнее устройство и CPU могут работать параллельно.Построить последовательность выполнения с минимальным временем завершения пакета.
На рисунке 12 приведены матрица трудоёмкости (а) и временная диаграмма планирования работ с учётом требований ЦП и УВВ (b)

Рис.12. Матрица трудоёмкости (а) и временная диаграмма планирования работ с учётом требований ЦП и УВВ (b)
Замечание. Существует два положения
Пропустить вперед задания с малым временем ввода, чтобы не задерживать другое задание (ЦП начнет работать раньше). Пропустить задания с большим временем счета, чтобы эффективнее "загрузить" ЦП (т. е. исключить простой).Алгоритм ДЖОНСОНА
Все задания поступают в порядке возрастания времени ввода Qi Выбирается задание с наименьшим параметром среди оставшихся. Если параметр Qi, то задание становится в начало очереди последующим, иначе, если параметр τi, то задание становится в конец очереди предыдущим. Выбранное задание исключается, повторяется пункт 2.На рисунке 13 приведена трансформированная матрица трудоёмкости

Рис.13. Трансформированная матрица трудоёмкости
N - порядковый номер запросов в сформированной по алгоритму Джонсона очереди.
На рисунке 14 приведена временная диаграмма использования ресурсов заданиями по алгоритму Джонсона.

Рис.14. Временная диаграмма использования ресурсов заданиями по алгоритму Джонсона

Вопросы по лекции №3:
Что такое приоритетная работа? Алгоритм Джонсона Адаптивная ДО (нарисовать схему функционирования) Изобразить временную диаграмму изменение приоритета (ДАНО: T1 = 3∆t, T2 = 4∆t, T3 = 2∆t, и p1 = 3, p2 = 2, p3 = 1)ЛЕКЦИЯ 4
Управление задачами
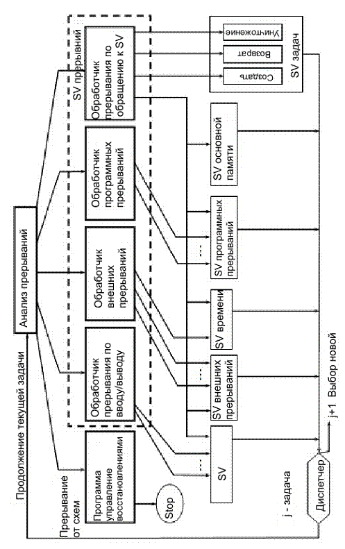
На уровне управления задачами инициируется головная управляющая программа ядра – SuperVisor (SV). Ее функции связаны с управлением ресурсами. SV получает управление при возникновении прерываний. Источником запросов функций SV могут быть как аппаратные, так и программные средства. Запросы от программ пользователей представляют собой запланированные обращения к SV. SV – набор модулей, часть которых являются транзитами и загружаются в ОП по мере необходимости. Головная программа всегда находится в ОП.
Все функции SV, для которых нужны ресурсы, оформляются в виде задач (системные и проблемные). Системные задачи могут быть приостановлены. У них привилегированный режим и более высокий приоритет. Также системная задача может быть вызвана другой, т. к. является ресурсом. Она может быть в состоянии «активизирована» и «не активизирована», а также «приостановлена». Проблемная задача создается и уничтожается, системная же создается при генерации ОС.
Системная задача – это часть ОС, которая динамически распределяет вычислительные ресурсы системы между задачами и осуществляет управление ими.
Функции SV
Обработка прерываний. Динамическое управление памятью. Загрузка программ в ОП для выполнения. Обработка окончания программ. Управление службой времени. Управление программы с контрольной точки (по окончании части программы либо по окончании функции, либо внутри нее). Защита памяти. Управление одновременным выполнением задач.Блок схема работы SV

Рис.15 Блок схема работы SV
Все задачи в системе - проблемные и системные - выполняются с прерываниями. Задачи выполняются «вперемешку» с SV. Одновременно в системе развиваются множество задач, которые могут взаимодействовать. Показатели эффективности вычислительной системы зависят от качества управления ресурсами, как на уровне верхнего планирования, так и на уровне диспетчеризации (управления задачами). SV включается в работу по любому прерыванию.
Прерывания
Прерывание - это сигнал, заставляющий вычислительную систему менять обычный порядок исполнения команд.
Прерывание - это ответ на асинхронные события, которые вызывают запоминание текущего состояния процессора и переход на выполнение программы обработки прерывания.
Алгоритм обработки прерывания
· Начало
· Программа - обработчик прерываний
· Сохранение всех регистров прерванной задачи (процесса)
· Восстановление регистров SV
· Установить флаг работы SV
IF1 <если функция с запрашиваемым номером существует> § IF2<вызывающая задача имеет право вызова данной функцией>
- Передать управление программе, реализующей данную функцию
§ FI2
else
- Формировать кода возврата по прерыванию права доступа
else
· Формирование кода возврата по ошибочному номеру функции
· Иди к диспетчеру
· Конец
Продвижение задач в системе


Рис.16 Общая схема продвижения задачи с системе
Выполнение
1. Команда «ВЫПОЛНИТЬ»;
2. Выделение ресурсов (ОП, внешняя память);
3. Создать ТСB(tack block control). Формировать задачи;
4. Создания других управляющих таблиц;
5. Поиск набора данных;
6. Управление данными;
7. Подготовка к запуску с КТ;
8. Загрузка;
9. Ввод с диска исходного модуля. Выполнение задачи. (Транслятор). Вывод на магнитный диск «Объект модуль»;
10. Обработка запросов на ввод «Чистка очередей»;
11. Освобождение ресурсов №1;
12. Уничтожение таблиц задачи № 1;
13. Выбор следующей задачи;
14. Выбор задачи и т. д.;
Алгоритм функционирования диспетчера задач (DISPATCH)
- Начало Produce DISPATCH Поиск в очереди на выполнение задачи с высоким приоритетом IF1<задача найдена>
IF2<задача является приостановленной> Вызов системной задачи «Возобновить задачу» Поиск новой в очереди-на-выполнение «ГОТОВОЙ задачи»
IF3 <ГОТОВАЯ – найдена (очередь не пуста)> Выделение задачи кванта времени в соответствии с уровнем очередности в очереди Сбросить флаг работы SV Восстановить регистры задачи Передать уравнение задаче FI3 ELSE
- Перейти к началу поиска в очереди а выполнение «ГОТОВОЙ задачи»
ELSE
- Перейти к выделению кванта времени задачи Возобновить поиск очереди на выполнение задачи с наибольшим приоритетом
Вопросы по лекции №4:
Что такое системная задача? Схема работы SV Как функционирует диспетчер? Продвижение задач в системе (общая схема)ЛЕКЦИЯ 5
Диспетчеризация задач
Общая схема супервизора

Рис.17 Общая схема SV
Временные диаграммы диспетчеризации задач
|


Рис.18 Временные диаграммы диспетчеризации задач
Комментарии к рисунку 18 – описание прерываний, возникающих в моменты 1 - 9
По таймеру. При поступлении 2 задачт. По завершению 1 задачи. По поступлению 3 задачи. По окончанию 2 задачи. По таймеру. По завершению 3 задачи и поступлению 4 задачи. По окончанию 4 и поступлению 5 задачи. По завершению 5.Оценка диспетчеризации связана с подсчетом загрузки основного ресурса (CPU). Загрузка CPU рассматриваем с точки зрения использования его проблемными задачами (пользовательский вариант) – оптимальны 75 +- 5%
Эффективность диспетчеризации связана с параметрами пользовательских задач -
1. Max интенсивность.
2. Трудоемкость.
3. ∆t диспечера.
4. ∆t задачи.
5. Число задач, развивающихся в системе.
Алгоритм обслуживания по вводу/выводу
Проблемная задача запрашивает обслуживание в/в посредством команды вызова SV (исполнение инструкции «ввод») – SVC. Команда SVC приводит к внутреннему прерыванию и к передаче управления обработчику прерываний IH1. Обработчик прерываний вызывает требуемую программу ввода или активизирует его, при этом:· элементы запроса должны быть переданы из пользовательского процесса обработчику IH1 для того, чтобы он нашел соответствующую стандартную программу;
· элементы запроса должны быть переданы так, чтобы была определена правильная команда в/в.
Стандартная программа в/в в свою очередь должна передать свой идентификатор обработчику прерываний. По окончании работы внешние устройства формируют внешнее прерывание, не планированное, которое сигнализирует о завершении операции в/в и вызывает обработчик прерываний IH2. IH2 определяет необходимый процесс – стандартную программу, которую необходимо вызвать или активизировать. Стандартная программа в/в может вернуть или послать сигнал активации обработчику IH1, который передает управление исходному запрашивающему процессу.Граф - схема алгоритма прерывания по в/в
Ci – сигнал (процедура “вызвать”)
Di – данные (сообщения)
IHi – обработчик прерываний
Ri – сигнал возврата
SVC – команда супервизора

Рис. 19 Граф - схема алгоритма прерывания по вводу/выводу

Вопросы по лекции № 5:
Нарисовать общую схему функционирования SV Нарисовать схему алгоритма прерывания Эффективность диспетчеризации (назвать параметры) Привести временную диаграмму работы диспечера по алгоритму RR.ЛЕКЦИЯ 6
Системные задачи. Взаимодействие ядра и задач.
Системные задачи выполняют функции супервизора и других частей операционной системы по запросу пользователей или самой операционной системы.
SV выполняет различной сложности макрокоманды. На уровне макрокоманды оформляется системная задача.
SVС - это код, который выдает SV, для формирования планового прерывания.
Прерывание приводит к обработчику прерываний по обращению к SV. За счет системных задач достигается высокая степень модульности SV.
Системная задача - это ресурс:
- к ней может быть сформирована очередь; она может быть прервана.
Примеры системных задач.
1. Передать управление программе с возвратом ("Соединить", "Создать цепочку").
Функции:
- поиск модуля; выделение памяти; загрузка; настройка; передача управления; подготовка возврата управления но следующую команду; освободить ОП.
2. Загрузка системной задачи.
- проверка наличия в ОП; поиск модуля; выделение ОП; загрузка; настройка; возврат.
Ядро ОС
Ядро – часть супервизора, которая непосредственно распределяет ресурсы на этапах создания и уничтожения задач.
ОС - распределяет ресурсы между заданиями пользователя, SV - между задачами пользователя, Ядро – между системными и проблемными задачами.
Ядро не участвует в конкуренции за ресурсы, не является задачей. За ним закреплены фиксированные ресурсы (часть ОП, процессор предоставляется ядру вне конкуренции по прерываниям.)
Состав ядра
SV – прерываний. SV – в/в. SV – задач. Диспетчер. SV – ОП. SV – времени.Функции ядра
1. Порождение процессов.
2. Уничтожение процессов.
3. Реализация связей между ними (установление цепочек).
4. Обеспечение основных функций распределения ресурсов.
Перечень примитивов ядра (использование их в примере временной диаграммы)
1. Активизировать – ATTACH.
2. Деактивизировать – DETACH.
3. Занять ОП – GETMAIN.
4. Освободить – FREENAIN.
5. Установить интервал таймера – STIME.
6. Активировать работу каналов – EXCP.
Структурная схема взаимодействия ядра и задач

Рис. 20 Общая блок-схема взаимодействия ядра и задач
Рис.21. Блок-схема взаимодействия ядра и задач непосредственно для диспетчера
Временная диаграмма взаимодействия ядра и задач


Рис. 22 Временная диаграмма взаимодействия ядра и задач
Комментарии к ВД рисунку 21 (описании оси)
Устройство вывода. Дисковая память. Ядро. Системная задача «Создание и загрузка». Системная задача «Исключить». Системная задача «Управление задачами». Проблемная задача. Устройство ввода.Описание Временной Диаграммы
Заканчивается проблемная задача №2, вывод результата, перед выводом обработка примитива EXCP (SV I/O). SV задач – задачи №2 – статус готово для дальнейших операций с ней. Отработка примитива RETURN проблемной задачи №2 (возврат в головную программу). SV – управления заданиями – ГОТОВО( проблемная задача №2). Отрабатывается DETACH. SV – системная задача “Исключить”– ГОТОВО. Уничтожить ТСВ № 2, FREEMAIN. SV – задач. Обработка примитива RETURN. SV задач – системная задача «ИСКЛЮЧИТЬ». Системной задаче «Управление заданиями» - статус «ГОТОВО» Диспетчер выбирает из очереди и ATTACH №4. SV задач – системная задача «создание загрузка» - ГОТОВО. Создание ТСВ № 4, GATEMAIN, RETURN в системные задачи управление заданиями. SV ОП – выделение ОП проблемной задаче №4. Обращение к диску, обработка примитива EXCP. SV в/в. Диск – простой процессора. SV задач – системной задаче “ СОЗДАТЬ “ - статус “ АКТИВНА” 19. Отработка функции «создать, загрузить» с возвратом.20 SV задач – проблемная задача №4 статус «ГОТОВО».
21Диспетчер задачи №4 переведена на CPU «АКТИВНА».
22 SV в/в – ECXP.
23 Проблемная задача №4 – вывод данных, исполнение пр.№4.

Вопросы по лекции №6:
Что такое системная задача? Привести примеры системных задач и их функций. Ядро ОС? Перечислите состав ядра. Переведите и скажите, что это означает GETMAIN?ЛЕКЦИЯ 7
Организация цепочек связей между проблемными и системными задачами
![]()
Управление задачами (1) | ATTACH создать (2) | Передача(3) управления | DETACH(4) исключить | Пробл. №2 (0) | Пробл. №3 (0) | Пробл. №4 (0) | |
№ вызываемой задачи | «исключить» | Stime | «управление задачами» | Stime | EXCP | ||
№ задачу, которую ожидают | Stime | «исключить» | EXCP | ||||
№ вызывающей задачи | 1 | 2 | 3 | 4 | 0 | 0 | 0 |
Число задач ждущих данную | 2 | 1 | 1 | ||||
Сист/пробл | сист | сист | сист | сист | пробл | пробл | пробл |
Сч. АК Инф. | … | … | … | … | … | … | … |
Условие ожидания | Реакция ядра | Stime | Реакция ядра | Stime | Устр в/в | ||
состояние | Актив | Не актив | Не актив | Не актив | Готов | Нет | Нет |
Табл. 3 Таблица проблемных и системных задач, находящихся во взаимодействии (её формирует система)
|
Из за большого объема этот материал размещен на нескольких страницах:
1 2 3 |



