Порядок решения.
1. Определяем тепловосприятие ШПП по уравнению теплового баланса, кДж/кг:
φ
.
2. Определяем среднюю температуру продуктов сгорания, оС, К:
,
.
3. Определяем коэффициент излучения запылённого газового объёма ε между секциями ШПП:
ε=
e-kps,
где kps – оптическая толщина запыленного газового потока
,
,
,
в данном случае равна
;
,
- плотность дымовых газов принимается 1,3 кг/м3,
- средний по удельной поверхности диаметр золовых частиц определяется по справочнику при использовании среднеходных мельниц d3=16мкм.
4. Определяем количество теплоты, поступающее через плоскость входного сечения ШПП Qл. вх, кДж/кг:
.
5. То же для выходного сечения ширм Qл. вых., кДж/кг
,
здесь β – коэффициент, учитывающий взаимный теплообмен между топкой и ширмами (принимается при
, приложение П.3);
- поправочный коэффициент, зависящий от вида топлива, принимается равным 0,5 при сжигании угля и мазута; 0,7- при сжигании природного газа.
6. Определяем радиационное тепловосприятие ШПП из топки Qл. ш, кДж/кг:
Qл. ш=Qл. вх-Qл. вых.
7. Определяем приращение энтальпии пара в ШПП за счёт конвективного и лучистого тепловосприятия ширм
, кДж/кг:

8. Определяем энтальпию пара на выходе ШПП
, кДж/кг:
.
9. Определяем температуру перегретого пара на выходе ШПП
, оС по таблицам термодинамических свойств воды и водяного пара при давлении пара
.
ЗАДАЧА 9
Рассчитать тепловые нагрузки по контурам естественной циркуляции парового котла. Расчетная схема циркуляции представлена на рис. 1. Топливо – каменный уголь, шлакоудаление твердое.
Исходные данные для расчета: D=44,4 кг/с; Вр=4,98 кг/с; Qл=13821,97 кДж/кг; рб=11 МПа. Циркуляционные контуры образуют экраны с эффективными поверхностями нагрева:


фронтовой (передний) экран (три одинаковые панели) -
м2; задний экран (три одинаковые панели) -
м2; боковые экраны (два экрана по три панели в каждом) -
м2; панели боковых экранов имеют площади лучевоспринимающих поверхностей: панель, примыкающая к переднему фронту
м2, средняя -
м2, панель, примыкающая к заднему фронту
м2; потолочный экран (пароперегреватель в области топки) -
м2; выходное окно (расположены ширмы) -
м2.
Энтальпия насыщенного пара
кДж/кг; энтальпия питательной воды после экономайзера
кДж/кг; удельная теплота парообразования r=1154,2 кДж/кг; тепловосприятие труб, отводящих пароводяную смесь (ПВС) от заднего экрана
кВт; тепловосприятие затененных ширмами панелей боковых экранов
кВт.
Порядок решения
1. Определяем среднюю удельную тепловую нагрузку радиационных поверхностей нагрева топки
, кВт/м2.
,
где
.
2. Определяем тепловую нагрузку потолочного экрана Qпот, кВт:
,
где
- коэффициент распределения тепловосприятия по высоте топки (приложение П.5).
3. Определяем тепловые нагрузки на стены топки.
3.1. Определим коэффициент распределения тепловосприятий стенами топки. Так как горелки расположены встречно на боковых стенах, тепловая нагрузка по стенам будет равномерной, т. е.
;
3.2. Тепловая нагрузка на экраны переднего фронта, кВт
;
- заднего фронта и выходного окна, кВт
;
- боковых стен, кВт
;
3.3. Проверка расчета
;
невязка
не должна превышать 5 %.
4. Определим тепловые нагрузки по экранным панелям.
4.1. Коэффициенты тепловой неравномерности по ширине панелей
зависят от числа панелей и симметричности их расположения относительно центральной панели; по условиям задачи на всех стенах топки размещены по три панели, поэтому
,
;
для крайних панелей
.
4.2. Тепловая нагрузка крайних панелей переднего фронта, кВт
;
4.3. Тепловая нагрузка средней панели переднего фронта, кВт
;
4.4. Проверка расчета
,
где Qпф – см. п. 3.2;
4.5. Определяем тепловую нагрузку выходного окна излучением из топки Qокн, кВт:
,
где
- коэффициент неравномерности тепловосприятия по высоте топки
(приложение П.5), определяем его для
, где для середины выходного окна топки Н=Нт;
4.6. Определяем общую тепловую нагрузку заднего экрана, кВт:
;
4.7. Определяем тепловую нагрузку на крайние панели заднего фронта, кВт:
;
то же на среднюю панель заднего фронта, кВт:
;
4.8. Определим тепловые нагрузки «освещенной» факелом части боковых панелей (тепловая нагрузка части боковых панелей, «затененных» ширмами задана по условию задачи):
- для задней боковой панели, кВт
,
где ηвб определяется по приложению П.5, для
, Нв и Нт указаны на рис. 1, Нв – средняя высота «освещенной» части экранов;
- для передней боковой панели, кВт
;
- для средней боковой панели, кВт
.
5. Определим тепловую нагрузку на все контура циркуляции (все панели), кВт:
.
6. Определяем паропроизводительность всех контуров циркуляции, кг/с:
.
7. Определим количество пара, поступающего в пароперегреватель, D, кг/с. В данном котле вся питательная вода после экономайзера поступает на дырчатый лист (промывочный щит), часть пара расходуется на подогрев воды в барабане до кипения, поэтому в пароперегреватель поступит пар в количестве
.
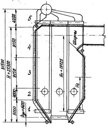
8. Передний фронт состоит из трех контуров циркуляции (по числу панелей). Разобьем контура переднего фронта на характерные участки: 1 – й участок – скат «холодной» воронки; 2 – й, 3 – й, 4 – й участки – вертикальная часть экрана; 5 – й участок – необогреваемые пароотводящие трубы. Номера участков и их высоты указаны на рисунке (стр. 52). Участок 2 – часть экрана вблизи ядра факела.
9. Определим коэффициенты неравномерности тепловосприятия участков 1, 2, 3, 4, (приложение П.5)
,
,
,
для
;
;
;
.
10. Определим тепловые нагрузки по участкам, кВт:
1 – й участок -
,
где высота Н=27300 мм (см. рисунок);
2 – й участок -
;
3 – й участок -
;
4 – й участок -
.
11. Проверка расчета любого участка, например третьего:
.
ЗАДАЧА 10
Выбрать дымосос для котла, работающего при следующих условиях; расход дымовых газов перед дымососом
м3/ч при температуре газов перед дымососом
, давлении газов hбар=760 мм рт. ст. (0,103 МПа) и их плотности ρг=0,135 кг/м3; перепад полных давлений в газовом тракте ΔНп=2,22 кПа при среднем барометрическом давлении в месте установки котла
мм рт. ст. (0,0989 МПа).
При решении этой задачи необходимо пользоваться книгой «Аэродинамический расчёт котельных установок: Нормативный метод. – Л.: Энергия, 1977», ссылки на нее приведены ниже.
Порядок решения
1. Определяем необходимую расчетную производительность дымососа с учетом условий всасывания, т. е. избыточного давления (разрежения) и температуры дымовых газов перед дымососом, м3/ч:
,
где β1 и β2 – коэффициенты запаса по производительности и давлению, β1=1,1, β2=1,2;
Z – количество одинаковых, работающих параллельно дымососов, принимаем Z=1;
принимается по риснормативного метода;
Нвх – разрежение (-) или избыточное давление (+) во входном сечении дымососа, при давлении меньше 3 кПа (как в данной задаче Нвх=0).
2. Определяем необходимое расчетное полное давление, которое должен развивать дымосос, кПа:
.
Чтобы произвести выбор дымососа по рабочей характеристике, приведённой в каталоге завода - изготовителя, полное расчетное давление Нр необходимо привести к условиям, для которых составлена рабочая характеристика, по формуле, кПа:
,
где Кρ – коэффициент приведения
,
где ρо≡ρг; t≡
; tхар – температура газов, для которой составлена рабочая характеристика дымососа, приведенная в каталоге завода – изготовителя или в нормативном методе (tхар=100 оС или tхар=200 оС); Нвх=0 для данной задачи (см. выше).
3. По двум параметрам (Qp и
) выбираем в каталогах дымососы. В Нормативном методе для выбора используем рис. VII-31 и VII-33; расчетным параметрам могут соответствовать несколько типов дымососов, характеристики которых определены при различных tхар, оС и разных частотах вращения n, с-1. Для конкретной температуры tхар. и производится расчет Кρ и
.
4. Определяем оптимальный из выбранных дымососов. Для этого необходимо сравнить численные значения их эксплуатационной экономичности, построив для каждого выбранного дымососа графики
, где D изменяется: (1,14; 1,0; 0,9; 0,8; 0,7; 0,6) Dном. На рис. VII-39…VII-68 Нормативного метода приведены графики аэродинамических характеристик дымососов для определённых температур tхар, оС и частот вращения n, с-1. На этих графиках представлены зависимости Нр=f(Qр) и нанесены кривые характеристик газового тракта котельной установки Н=f(φ), где φ – углы поворота направляющего лопаточного аппарата дымососа, и кривые КПД ηэ=f(Нр, Qр). Для упрощения построения
принимается линейная зависимость расхода Q=f(D) и квадратичный закон изменения перепада давлений ΔНп=f(D). Каждой точке характеристики газового тракта Н=f(Qр) соответствует определённое значение эксплуатационного КПД дымососа.
ПРИЛОЖЕНИЯ
П.1. Теплоемкости топлив
а. Сухая масса твердого топлива
, кДж/(кг∙К)
|
Топливо |
Температура, оС | |||
|
0 |
100 |
200 |
300 | |
|
Антрацит и тощий уголь |
0,921 |
0,963 |
1,047 |
1,130 |
|
Каменный уголь |
0,963 |
1,089 |
1,256 |
1,424 |
|
Бурый уголь |
1,089 |
1,256 |
1,456 | |
|
Сланцы |
1,047 |
1,130 |
1,298 | |
|
Фрезерный торф |
1,298 |
1,507 |
1,800 |
б. Рабочая масса твердого топлива, кДж/(кг∙К)
=4,1868
в. Жидкое топливо (мазут), кДж/(кг∙К)
при tтл<100 оС стл=1,89+0,0053tтл;
при tтл>100 оС cтл=1,30+0,0112tтл,
где tтл – температура мазута.
г. Газообразное топливо, кДж/(м3∙К)

где Н2, СО2, СН4… - содержание компонентов в газообразном топливе, %
,
,
… - теплоемкости горючих и негорючих составляющих газообразного топлива, кДж/(м3∙К)
dг. тл – влагосодержание газообразного топлива, г/м3.
д. Средняя теплоемкость горючих газов, кДж/(м3∙К)
|
t, oC |
|
|
|
|
|
|
|
|
|
0 |
1,300 |
1,278 |
1,508 |
1,548 |
2,210 |
3,049 |
4,129 |
5,130 |
|
100 |
1,303 |
1,289 |
1,534 |
1,642 |
2,495 |
3,510 |
4,705 |
5,836 |
|
200 |
1,307 |
1,300 |
1,562 |
1,757 |
2,776 |
3,964 |
5,256 |
6,516 |
|
300 |
1,314 |
1,300 |
1,595 |
1,883 |
3,046 |
4,370 |
5,774 |
7,135 |
|
400 |
1,328 |
1,303 |
1,634 |
2,012 |
3,308 |
4,759 |
6,268 |
7,740 |
|
500 |
1,343 |
1,307 |
1,670 |
2,138 |
3,557 |
5,094 |
6,689 |
8,255 |
|
600 |
1,357 |
1,307 |
1,710 |
2,261 |
3,776 |
5,429 |
7,114 |
8,784 |
|
700 |
1,372 |
1,310 |
1,746 |
2,380 |
3,985 |
5,724 |
7,484 |
9,230 |
|
800 |
1,386 |
1,314 |
1,782 |
2,495 |
4,183 |
5,987 |
7,808 |
9,626 |
|
900 |
1,397 |
1,325 |
1,818 |
2,603 |
4,363 |
6,232 |
8,114 |
9,990 |
|
1000 |
1,411 |
1,328 |
1,850 |
2,700 |
4,529 |
6,462 |
8,402 |
10,346 |
е. Средняя теплоемкость воздуха и газов, кДж/(м3∙К)
|
Из за большого объема этот материал размещен на нескольких страницах:
1 2 3 4 5 6 7 |



